LEMON Manuals: Even more car manuals for everyone
Home >> GMC >> 1995 >> Forward Control 4.3 Z, Automatic >> Repair and Diagnosis >> Engine Performance >> System >> Engine Controls - Tests W/Codes - 6.5L Diesel. >> Diagnostic Trouble Code Charts >> DTC 23, App No. 1 Circuit Range Fault >> Diagnostic Aids

Diagnostic Aids

Scan tester displays APP No. 1 position in volts, and should display .45-.95 volt with throttle closed and ignition on or engine at idle. Voltage should increase at a steady rate as throttle is moved toward WOT. Also, 90 percent pedal travel is acceptable for correct APP operation.

Monitor APP No. 1 sensor while applying accelerator pedal with engine off and ignition on. Display should vary from about .74 volt with throttle closed, to about 3.7 volts with throttle at WOT.

Fig 1: DTC 23 Schematic ("G" Series) APP No. 1 Circuit Range Fault
G95B26956
Fig 2: DTC 23 Schematic ("P" Series) APP No. 1 Circuit Range Fault
G95C26957
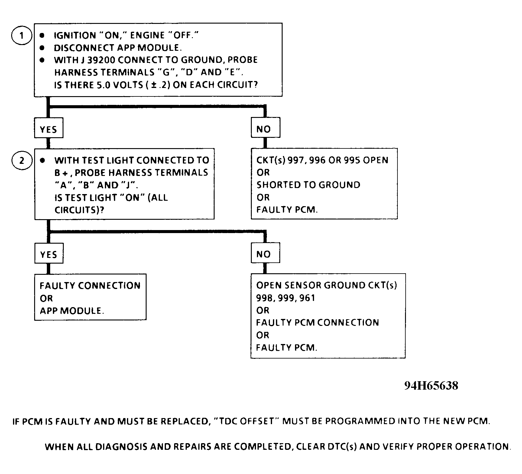
Fig 3: DTC 23 Flow Chart (All Models) APP No. 1 Circuit Range Fault
G94H65638