LEMON Manuals: Even more car manuals for everyone
Home >> GMC >> 1995 >> Forward Control 4.3 Z, Automatic >> Repair and Diagnosis >> Engine Performance >> System >> Engine Controls - Basic Diagnostic Procedures - 4.3L >> Diagnostic Circuit Check >> A-2, Mil Always On Or Won't Flash Code 12

A-2, Mil Always On Or Won't Flash Code 12

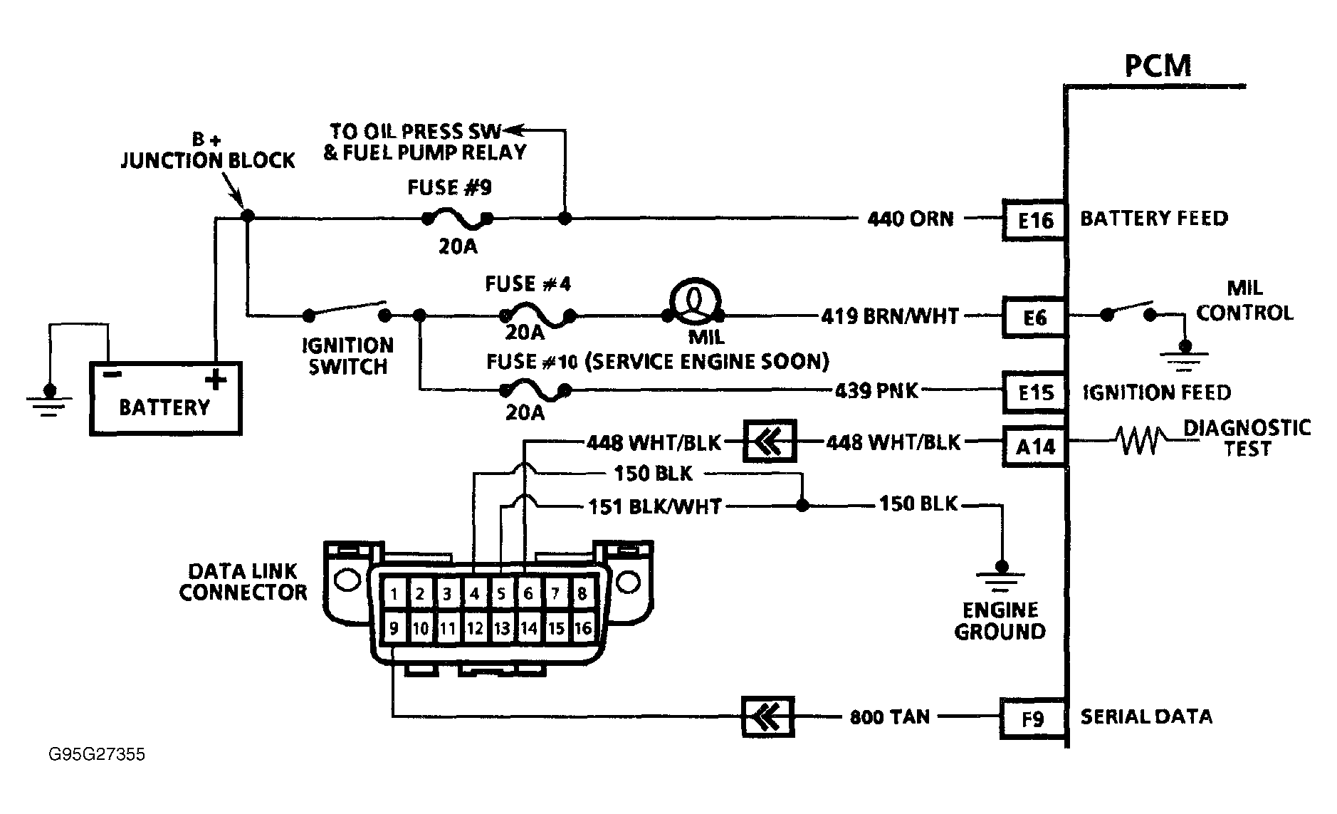
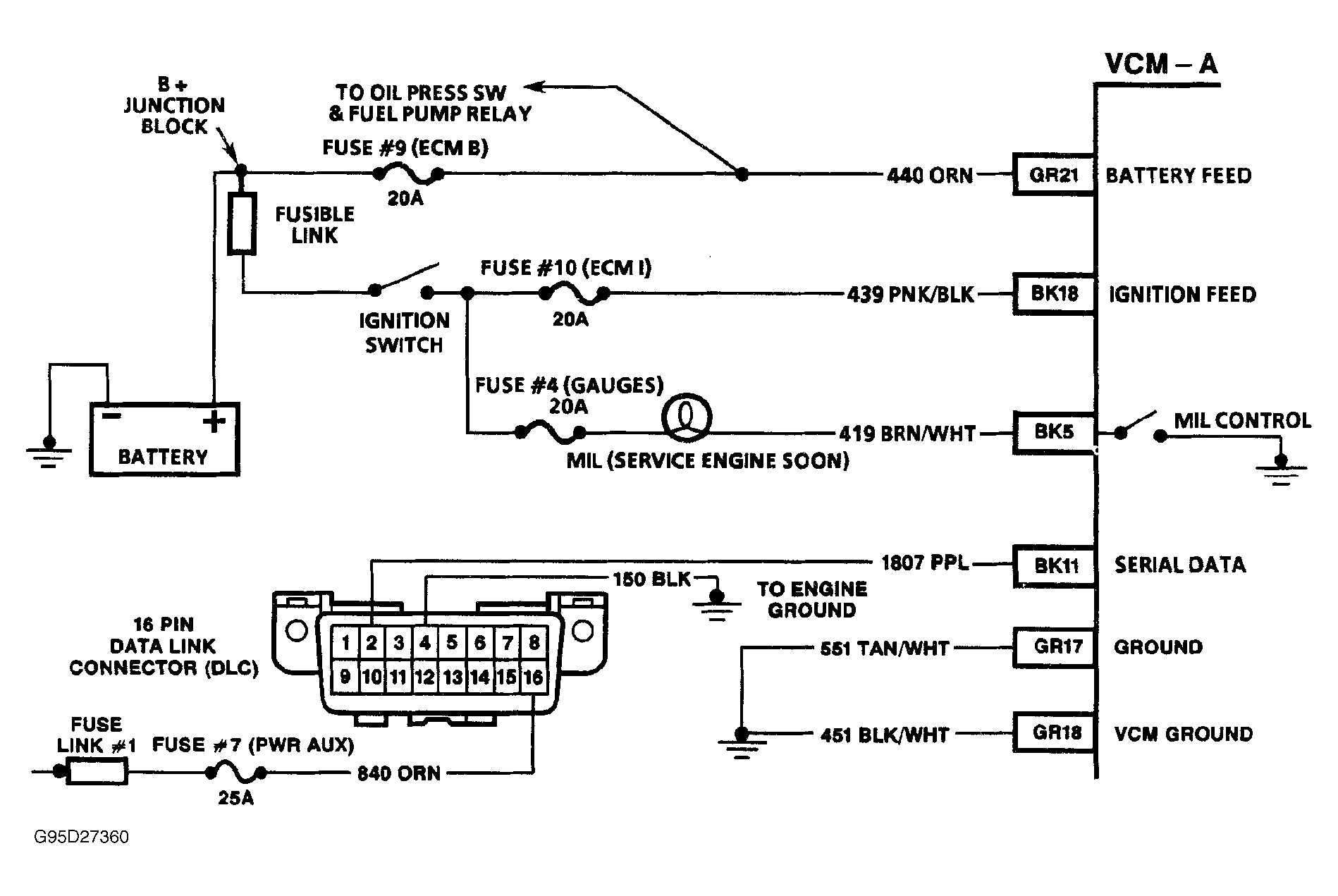
  1. Turn ignition on, engine off. If MIL does not illuminate, see A-1, MALFUNCTION INDICATOR LIGHT (MIL) INOPERATIVE. If MIL is on, ground DLC test terminals "A" and "B". Code 12 should flash. If Code 12 does not flash, go to next step. If Code 12 now flashes, problem is no serial data. Check serial data circuit for open or short to ground, or short to voltage between PCM and DLC terminal. If circuits are okay, replace faulty PCM or PROM (MEM-CAL).
  2. Turn ignition off. Disconnect PCM connectors. Turn ignition on. If MIL is on, check for short to ground in MIL driver circuit between MIL and PCM driver terminal. See Figure - Figure . Also, see See appropriate WIRING DIAGRAM in the WIRING DIAGRAMS  section at the end of this article for terminal identification.
  3. If light is off with PCM connectors disconnected, turn ignition off. Reconnect PCM connectors. Turn ignition on with engine off and diagnostic terminal not grounded. Using a test light connected to ground, backprobe PCM terminal circuit to DLC terminal "B". See Figure - Figure . If MIL does not flash Code 12, go to next step. If MIL flashes Code 12, check for open in DLC test terminal "B" circuit to PCM. If circuit is okay, check for open in DLC terminal "A" circuit to PCM and PCM ground. See Figure - Figure .
  4. Check PROM (MEM-CAL) for proper installation. If installation is okay, replace PCM using original PROM (MEM-CAL). Recheck for Code 12. If Code 12 is not present, replace PROM (MEM-CAL). If Code 12 is present, system is okay.