LEMON Manuals: Even more car manuals for everyone
Home >> GMC >> 1994 >> Forward Control 7.4 N >> Repair and Diagnosis >> Engine Performance >> System >> Engine Controls - Tests W/Codes - 5.7L >> Trouble Code Charts >> Code 54, Fuel Pump Circuit

Code 54, Fuel Pump Circuit

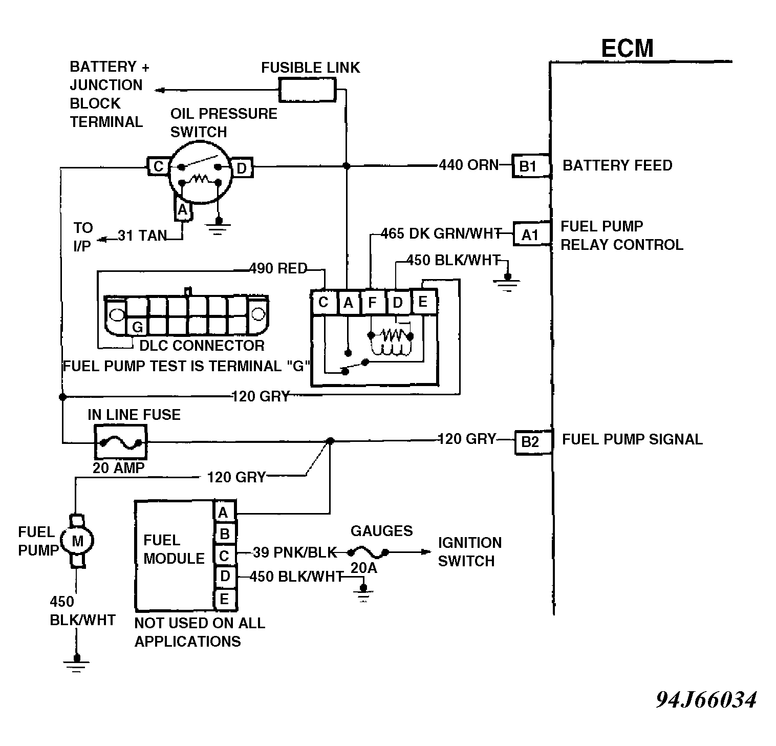
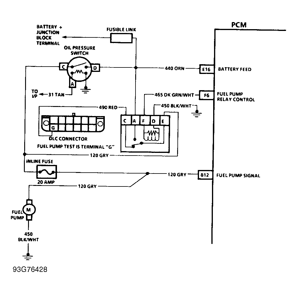
The status of fuel pump signal is monitored by the control module and is used to compensate fuel delivery based on system voltage. Signal is also used to store Code 54 if fuel pump relay is defective or if relay voltage is lost after engine is running. Voltage should be present at fuel pump signal terminal of control module the first 2 seconds after ignition is turned on and anytime reference (RPM) pulses are being received by control module.

Fig 1: Code 54 Schematic ("C" & "K" Series Exc. 5.7L M/T Fuel Pump Circuit
G93G76428
Fig 2: Code 54 Schematic ("G" Series) Fuel Pump Circuit
G94I66033
Fig 3: Code 54 Schematic ("C" & "K" Series 5.7L M/T) Fuel Pump Circuit
G94J66034
Fig 4: Code 54 Schematic ("P" Series A/T) Fuel Pump Circuit
G94A66035
Fig 5: Code 54 Schematic ("P" Series M/T) Fuel Pump Circuit
G94C66037
Fig 6: Code 54 Flow Chart Fuel Pump Circuit
G91F07358