LEMON Manuals: Even more car manuals for everyone
Home >> GMC >> 1994 >> Forward Control 4.3 Z, Automatic >> Repair and Diagnosis >> Engine Performance >> System >> Engine Controls - Tests W/Codes - 5.7L >> Trouble Code Charts >> Code 32, EGR Circuit Error - Models Using Manifold Vacuum, 2-Terminal Solenoid & BACKPRESSURE EGR >> Diagnostic Aids

Diagnostic Aids

Prior to replacing PCM, check resistance of all PCM-controlled solenoids and relays. Replace any with a resistance value less than 20 ohms.

Fig 1: Code 32 Schematic ("C" & "K" Series 5.7L) EGR Ckt. Error Using Manifold Vac., 2-Terminal Sol. & Back Press. EGR
G94J65994
Fig 2: Code 32 Schematic ("G" Series A/T) EGR Ckt. Error Using Manifold Vac., 2-Terminal Sol. & Back Press. EGR
G94A65995
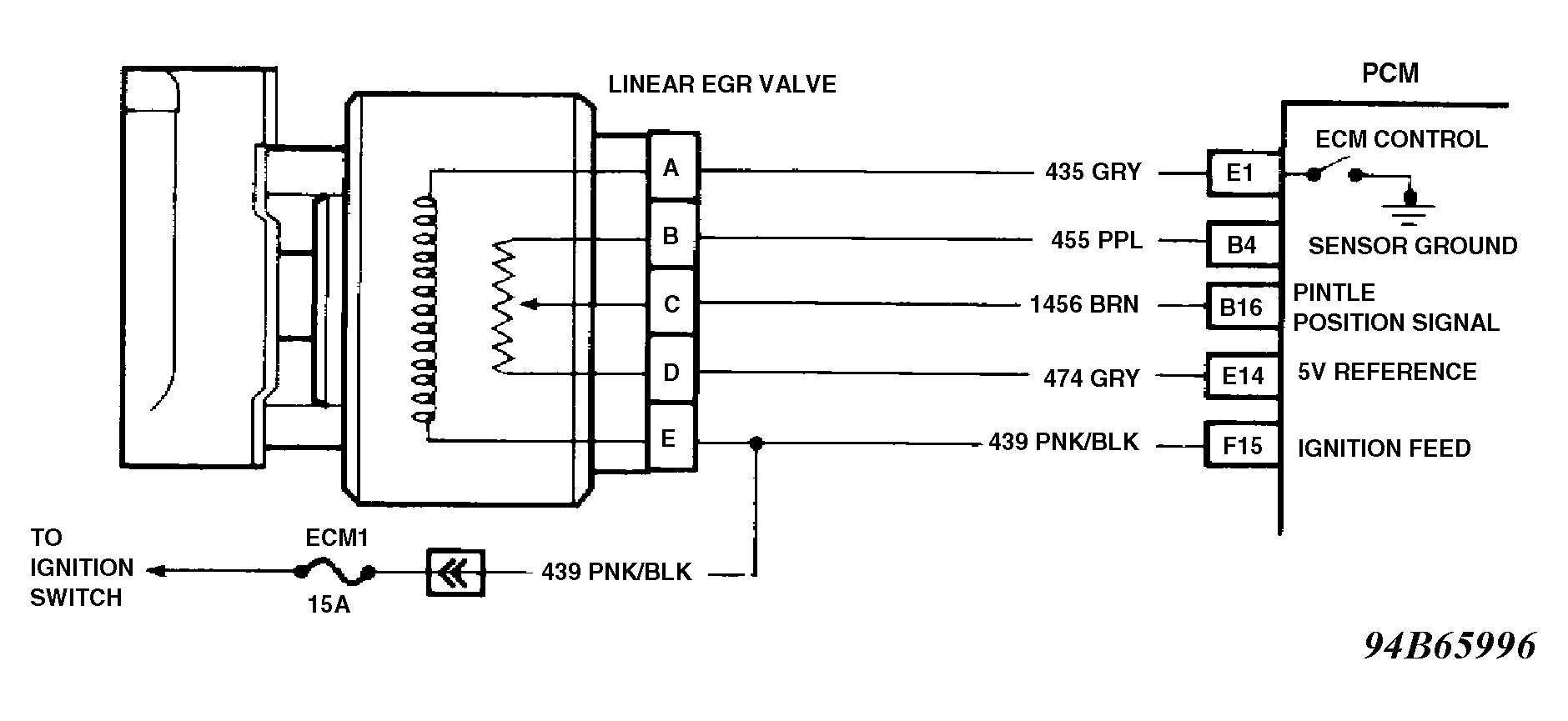
Fig 3: Code 32 Schematic ("P" Series 5.7L) EGR Ckt. Error Using Manifold Vac., 2-Terminal Sol. & Back Press. EGR
G94B65996
Fig 4: Code 32 Flow Chart EGR Ckt. Error Using Manifold Vac., 2-Terminal Sol. & Back Press. EGR
G94D65998