LEMON Manuals: Even more car manuals for everyone
Home >> GMC >> 1992 >> Forward Control 7.4 N >> Repair and Diagnosis (Single Page) >> Engine Performance >> System >> Engine Controls - Tests W/Codes - Transmission >> Component Check Charts >> Input Speed Sensor Circuit Check >> Diagnostic Aids

Diagnostic Aids

Check all connectors. If code is intermittent, see INTERMITTENTS in TESTS W/O CODES article.

Fig 1: Input Speed Sensor Circuit Check, Schematic
G91G13702Courtesy of GENERAL MOTORS CORP.
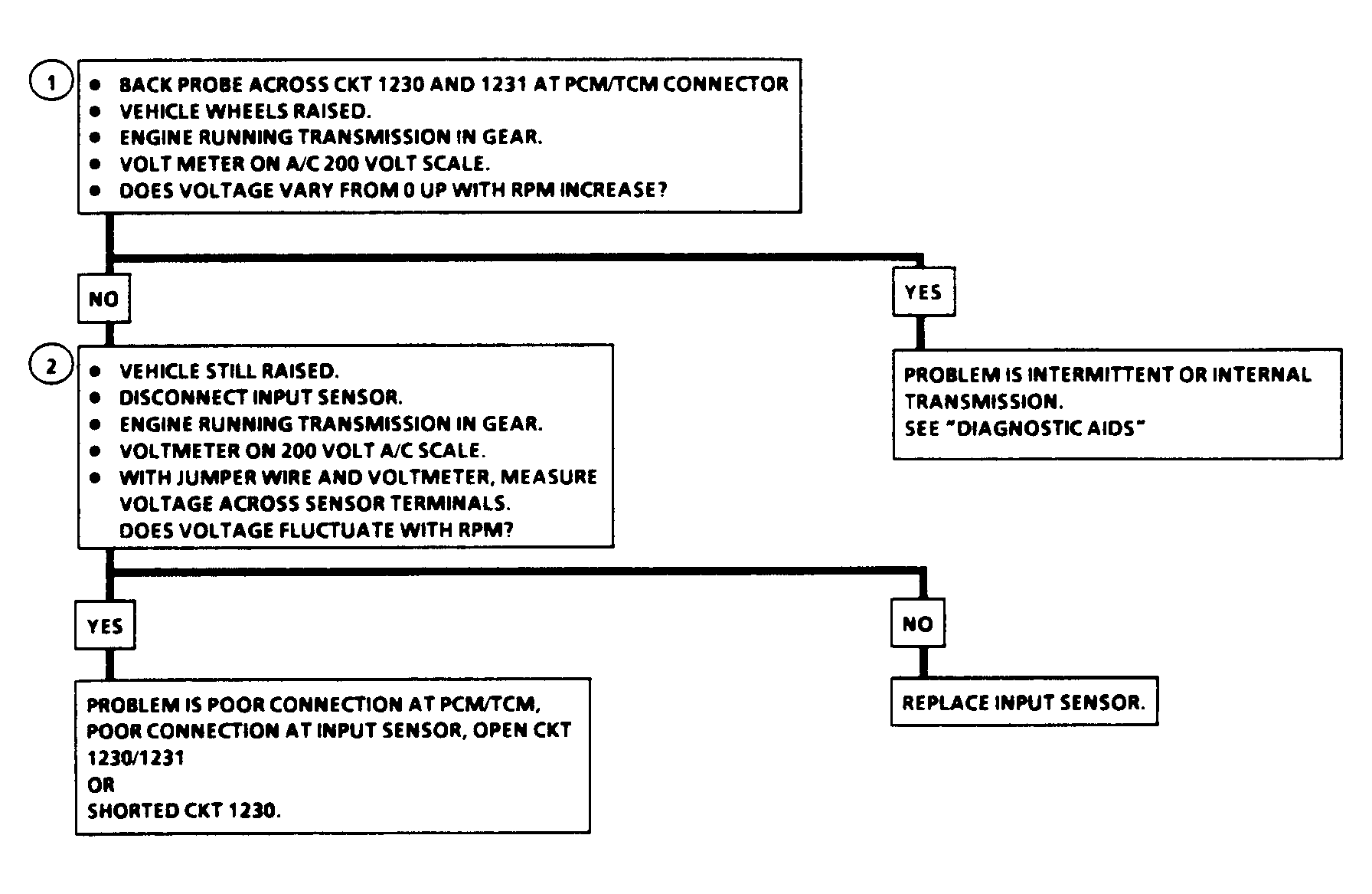
Fig 2: Input Speed Sensor Circuit Check, Flow Chart
G91H13703Courtesy of GENERAL MOTORS CORP.