LEMON Manuals: Even more car manuals for everyone
Home >> GMC >> 1992 >> Forward Control 5.7 K, Automatic >> Repair and Diagnosis >> Engine Performance >> System >> Engine Controls - Basic Testing >> Diagnostic Circuit Check (Gasoline) >> A-2, Service Engine Soon Light On Or Won't Flash Code 12

A-2, Service Engine Soon Light On Or Won't Flash Code 12

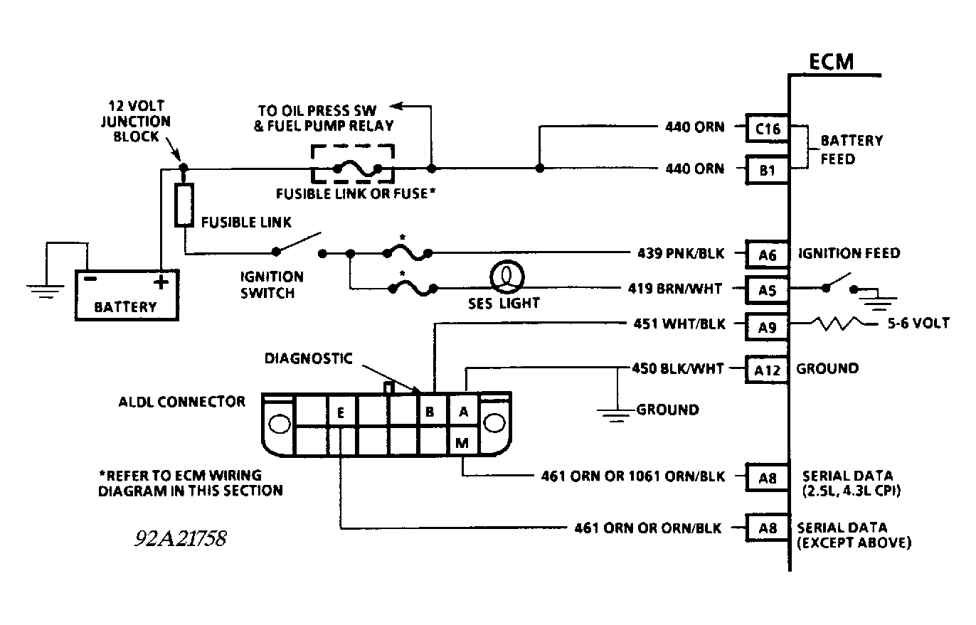
  1. Turn ignition off. Disconnect ECM connectors. Turn ignition on. If SERVICE ENGINE SOON light is on, check for short to ground in light driver circuit between light and ECM driver terminal. See appropriate wiring diagram in WIRING DIAGRAMS article in ENGINE PERFORMANCE for terminal identification.
  2. If light is off with ECM connectors disconnected, turn ignition off. Reconnect ECM connectors. Turn ignition on with engine off. Using a DVOM, check voltage at ALDL diagnostic "test" terminal "B". See Figure - Figure . If voltage is greater than 9 volts, check for a short to voltage on ALDL terminal "B" wire between ECM and ALDL connector.
  3. If voltage is less than 5 volts, use DVOM to backprobe appropriate ECM terminal. See appropriate wiring diagram in WIRING DIAGRAMS article in ENGINE PERFORMANCE for terminal identification. If 5-6 volts is now present, repair open or short in wire between ECM and ALDL terminal "B". If voltage is 5-6 volts, go to step 4).
  4. If voltage at terminal "B" of ALDL connector is 5-6 volts, jumper wire terminal at ECM to ground. If SERVICE ENGINE SOON light now flashes a Code 12 and ALDL terminal "A" was used when previously grounding terminal "B", check terminal "A" for open circuit.
  5. If SERVICE ENGINE SOON light does not flash when ECM end of terminal "B" wire is jumpered to ground, check PROM/MEM-CAL for proper installation. If PROM/MEM-CAL is installed correctly, replace ECM. Install original PROM/MEM-CAL into replacement ECM. Repeat diagnostic circuit check. If Code 12 still does not flash, replace PROM/MEM-CAL. Replace PROM/MEM-CAL only after replacing ECM, as PROM/MEM-CAL is probably not at fault.