LEMON Manuals: Even more car manuals for everyone
Home >> GMC >> 1991 >> Forward Control 7.4 N >> Repair and Diagnosis >> Engine Performance >> System >> Engine Controls - System/Component Tests >> Fuel System (Diesel Glow Plug System Diagnosis) >> Diesel Cold Advance System Check >> Cold Advance Relay

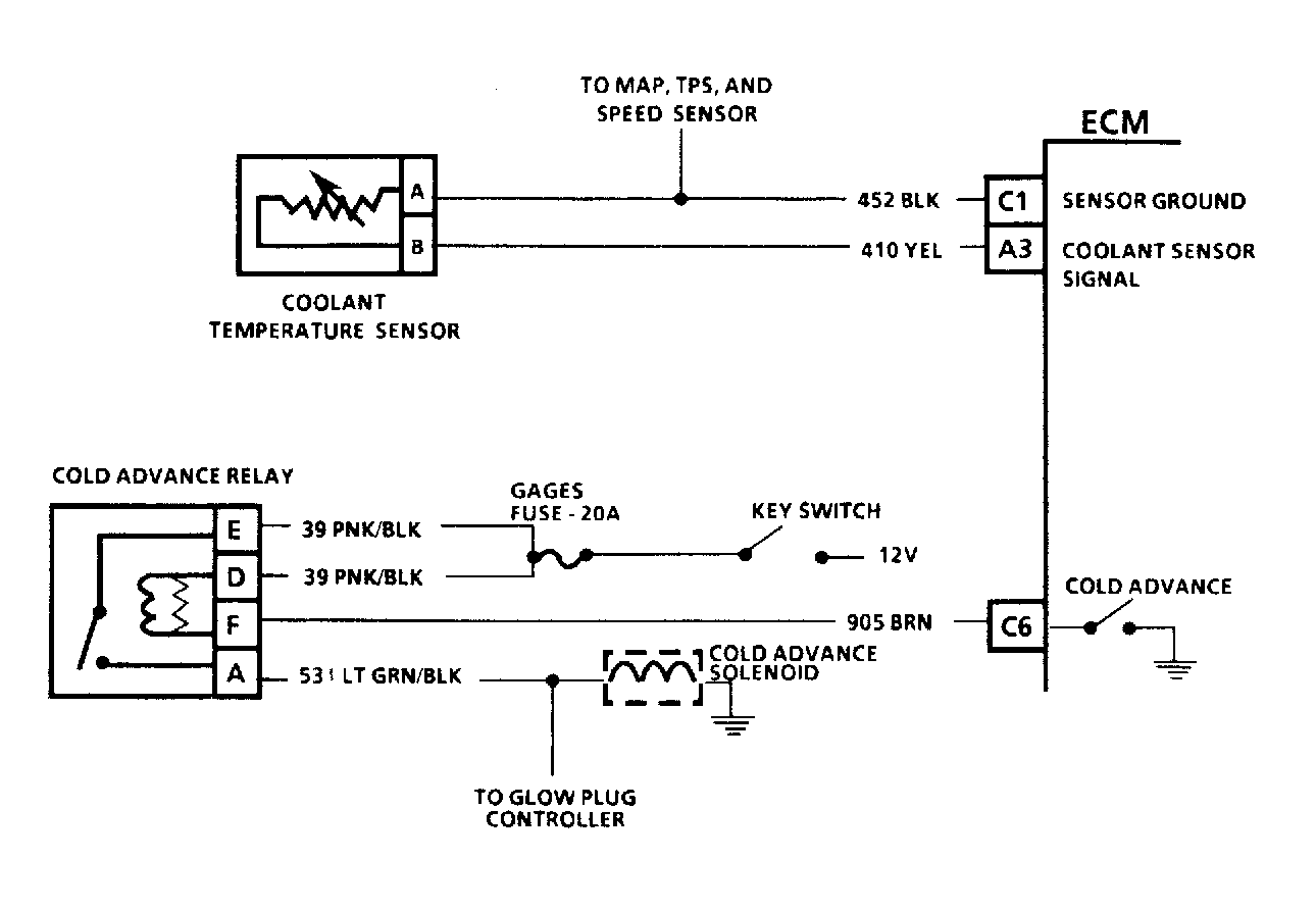
Cold Advance Relay

  1. Disconnect harness connector to cold advance relay. Using an ohmmeter, check resistance between relay terminals "D" and "F". See Fig 1. Continuity should be present or a resistance of 20 ohms. If not, replace cold advance relay.
  2. Using an ohmmeter, check continuity between relay terminals "A" and "E". Continuity should not be present. If continuity is present, replace grounded cold advance relay.
Fig 1: Cold Start Advance System Schematic
G90J15742Courtesy of GENERAL MOTORS CORP.