LEMON Manuals: Even more car manuals for everyone
Home >> GMC >> 1991 >> Forward Control 7.4 N >> Repair and Diagnosis >> Engine Performance >> System >> Engine Controls - System/Component Tests >> Component Locations

Component Locations

NOTE: All figures are courtesy of General Motors Corp.
Fig 1: Component Location for 2.5L (VIN E) "S" Series
G91J12186Courtesy of GENERAL MOTORS CORP.
Fig 2: Component Location for 2.8L (VIN R) "S" Series
G91A12187Courtesy of GENERAL MOTORS CORP.
Fig 3: Component Location for 3.1L (VIN D) "U" Series (Lumina APV, Silhouette & Trans Sport)
G90H15757Courtesy of GENERAL MOTORS CORP.
Fig 4: Component Location for 4.3L (VIN Z) Syclone
G91I13720Courtesy of GENERAL MOTORS CORP.
Fig 5: Component Location for 4.3L (VIN Z) "C" & "K" Series
G90I15758Courtesy of GENERAL MOTORS CORP.
Fig 6: Component Location for 4.3L (VIN Z) "G" Series
G91E12132Courtesy of GENERAL MOTORS CORP.
Fig 7: Component Location for 4.3L (VIN Z) "L" & "M" Series (Astro & Safari)
G91D12099Courtesy of GENERAL MOTORS CORP.
Fig 8: Component Location for 4.3L (VIN Z) "P" Series
G91B13723Courtesy of GENERAL MOTORS CORP.
Fig 9: Component Location for 4.3L (VIN Z) "S" & "T" Series
G91B12188Courtesy of GENERAL MOTORS CORP.
Fig 10: Component Location for 5.0L (VIN H) & 5.7L (VIN K) "C" & "K" Series
G50D06862Courtesy of GENERAL MOTORS CORP.
Fig 11: Component Location for 5.7L (VIN K) "G" Series
G91F12133Courtesy of GENERAL MOTORS CORP.
Fig 12: Component Location for 5.7L (VIN K) "P" Series
G91J13721Courtesy of GENERAL MOTORS CORP.
Fig 13: Component Location for 5.7L (VIN K) "R" & "V" Series
G91E12181Courtesy of GENERAL MOTORS CORP.
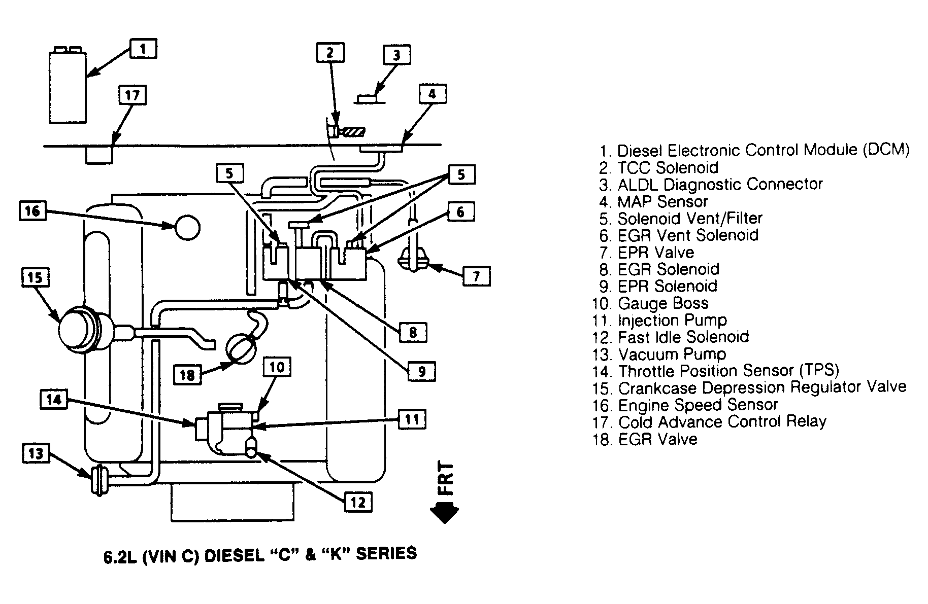
Fig 14: Component Location for 6.2L (VIN C) Diesel "C" & "K" Series
G91I12102Courtesy of GENERAL MOTORS CORP.
Fig 15: Component Location for 6.2L (VIN C) Diesel "R" & "V" Series
G91F12190Courtesy of GENERAL MOTORS CORP.
Fig 16: Component Location for 7.4L (VIN N) "C/K" Series
G91H12101Courtesy of GENERAL MOTORS CORP.
Fig 17: Component Location for 7.4L (VIN N) "G" Series
G91G12134Courtesy of GENERAL MOTORS CORP.
Fig 18: Component Location for 7.4L (VIN N) "P" Series
G91A13722Courtesy of GENERAL MOTORS CORP.
Fig 19: Component Location for 7.4L (VIN N) "R" & "V" Series
G91C12189Courtesy of GENERAL MOTORS CORP.