LEMON Manuals: Even more car manuals for everyone
Home >> GMC >> 1989 >> Jimmy 6.2 C >> Repair and Diagnosis >> Engine Performance >> System >> 6.2L CEC Testing >> Diagnosis & Testing >> Code 32 - EGR Circuit Loop Error

Code 32 - EGR Circuit Loop Error

During normal operation, the ECM compares its EGR duty cycle signal with the manifold absolute pressure signal and makes corrections in the duty cycle. If the actual EGR control pressure (line vacuum) varies from what the ECM has previously determined the pressure should be and this variance continues for 10 seconds or more, a Code 32 will be set and the ECM will shut down EGR.

NOTE: Test numbers refer to test numbers on diagnostic chart.
  1. This test determines if Code 32 can reset.
  2. This test checks EGR solenoid electrical control circuit. Test light should flicker faintly if the ECM harness and connections are okay. Flicker faintly is defined as a slightly pulsating glow, as opposed to a bright steady glow from a continuous ground path.
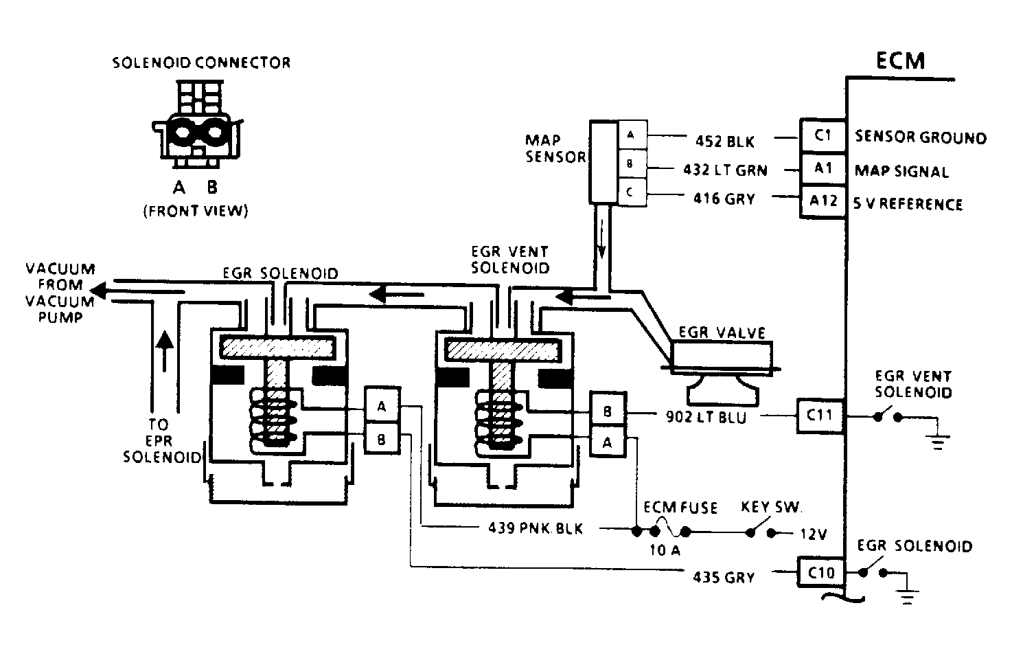
Fig 1: EGR Code 32 Circuit Loop Error Circuit Diagram
G120898Courtesy of GENERAL MOTORS CORP.
Fig 2: EGR Code 32 Circuit Loop Error Flow Chart
G120899Courtesy of GENERAL MOTORS CORP.

Diagnostic Aids

A vacuum leak may cause a Code 32. Check all vacuum hoses and components connected to vacuum hoses for leaks. This check should include cruise control and A/C systems, if installed.