LEMON Manuals: Even more car manuals for everyone
Home >> GMC >> 1989 >> Forward Control 6.2 J, Standard >> Repair and Diagnosis >> Engine Performance >> System >> Fuel Injection System - Diesel >> Testing & Diagnosis >> Glow Plug Controller

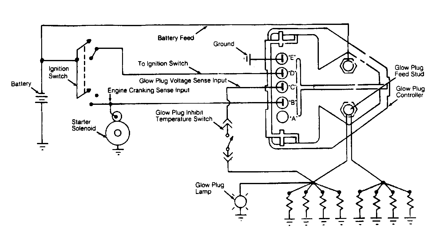
Glow Plug Controller

The glow plug controller provides glow plug operation after starting a cold engine. This after-start operation is initiated when the ignition switch is returned to "RUN" from the "START" position. A faulty controller may result in excessive White smoke and/or poor idle quality immediately after starting. The following procedure checks for proper operation of controller circuit. Ensure coolant temperature is below 80°F (27°C) before beginning test.

  1. Place ignition switch in "RUN" position and allow glow plugs to cycle. After 2 minutes, crank engine for one second. It is NOT important that the engine starts. Return ignition switch to "RUN" position. Glow plugs should cycle on at least once.
  2. If glow plugs do not cycle, disconnect controller connector (controller is located on top, rear of valve cover). Connect 12-volt test light between Purple/White wire terminal of harness connector (terminal "B") and ground ("G" van and "R/V" and "P" series, use solid Purple wire). With ignition switch in "RUN" position, test light should be off. Test light should glow when engine is cranked. See Figure.
  3. If test light does not operate as specified, repair short or open in engine harness Purple/White (Purple) wire. If test light operates properly but glow plugs did not cycle, replace controller.