LEMON Manuals: Even more car manuals for everyone
Home >> Ford >> 2024 >> Mustang Mach-E Select, AWD >> Repair and Diagnosis >> External Pages >> Different car >> Section 107 (ETHERNET Module Communications Network) >> Diagnosis And Testing >> Ethernet Module Communications Network >> Pinpoint Tests >> Pinpoint Test B: U2401:00, U2402:00

Pinpoint Test B: U2401:00, U2402:00

WARNING: This page is about a different car, the 2023 Ford Mustang Mach-E. However, it is still accessible from the selected car via links, so may be relevant.
  1. Refer to MODULE COMMUNICATIONS NETWORK for schematic and connector information.

    Normal Operation and Fault Conditions 

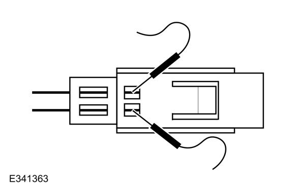
    Ethernet Cable Testing At Cable End 

    GFD768716Courtesy of FORD MOTOR COMPANY

    To test the Ethernet cable in question at the GWM, the cable must be removed from the GWM master connector to gain access to the connector pins where probing can take place (refer to the illustration above).

    The Ethernet cable connector end identification color can be used to identify the module the Ethernet cable is connected to. Refer to the chart in Ethernet Network Gateway Module Connector  for the color assignment. REFER to: Ethernet Module Communications Network - System Operation and Component Description .

    GFD768717Courtesy of FORD MOTOR COMPANY
    GFD768718Courtesy of FORD MOTOR COMPANY

    To test the Ethernet cable in question at all other applicable modules, the cable must be removed from the connector housing to gain access to the connector pins where probing can take place. (refer to the illustrations above)

    Ethernet Cable Testing At Cable In-line Connection 

    GFD768719Courtesy of FORD MOTOR COMPANY
    GFD768720Courtesy of FORD MOTOR COMPANY

    To test the Ethernet cable in question at the in-line connection, the cable must be removed from the connector housing to gain access to the connector pins where probing can take place (refer to the illustrations above).

    REFER to: Ethernet Module Communications Network - Overview . REFER to: Ethernet Module Communications Network - System Operation and Component Description .

    DTC Fault Trigger Conditions 

    DTC Description Fault Trigger Condition
    GWM U2401:00 Ethernet Failure With Accessory Protocol Interface Module (APIM): No Sub Type Information Sets in the GWM when the APIM provisioning data is not received by the GWM within 300 seconds of both module booting up.
    GWM U2402:00 Ethernet Failure With Telematic Control Unit Module (TCU): No Sub Type Information Sets in the GWM when the TCU provisioning data is not received by the GWM within 300 seconds of both module booting up.

    Possible Sources 

    • Wiring, terminals, or connectors
    • TCU
    • APIM

  2. B1 CHECK THE NETWORK COMMUNICATION

    • Using a diagnostic scan tool, carry out the network test.

    Does the module in question (APIM, TCU) pass the network test? 

    Yes  GO to B2 
    No  REFER to: Controller Area Network (CAN) Module Communications Network .
  3. B2 CHECK FOR DIAGNOSTIC TROUBLE CODES (DTCS)

    • Using a diagnostic scan tool, carry out the self-test for the module in question (APIM, TCU).

    Are any Diagnostic Trouble Codes (DTCs) present? 

    Yes  DIAGNOSE the suspect module Diagnostic Trouble Codes (DTCs) first. REFER to: Information and Entertainment System .
    No  GO to B3 
  4. B3 RESET THE MODULE IN QUESTION (APIM, TCU)

    • Ignition ON.

    • Ignition OFF.

    • Disconnect the module electrical connectors (APIM, TCU).

    • Wait 2 minutes.

    • Connect the module electrical connectors (APIM, TCU).

    • Ignition ON.

    • View the following TCU OTA Parameter Identifications (PIDs)

    Access the TCU and monitor the AUTHMODEPID

    Does the authorization state PID still indicate Unprovisioned? 

    Yes  GO to B4 
    No  GO to B5 
  5. B4 RESET THE TELEMATIC CONTROL MODULE (TCU)

    • Ignition ON.

    • Start the engine.

    • Park the vehicle away from buildings with a clear view of the sky.

    • Ignition OFF.

    • Ignition ON.

    • Wait 5 minutes.

    • View the following TCU OTA Parameter Identifications (PIDs)

    Access the TCU and monitor the AUTHMODEPID

    Does the authorization state PID still indicate Unprovisioned? 

    Yes  INSTALL a new TCU, REFER to: Telematics Control Unit (TCU) Module .
    No  GO to B5 
  6. B5 RECHECK FOR DIAGNOSTIC TROUBLE CODES (DTCS)

    • Using a diagnostic scan tool, clear the GWM Diagnostic Trouble Codes (DTCs).

    • Ignition OFF.

    • Ignition ON.

    • Wait 10 seconds

    • Using a diagnostic scan tool, carry out the GWM self-test.

    Is DTC U2401:00 or U2402:00 still present? 

    Yes  GO to B6 
    No  The module reset has resoled the concern.
  7. B6 CHECK THE ETHERNET CIRCUIT FOR AN OPEN

    • Ignition OFF.

    • Disconnect the GWM Ethernet cable master connector.

    • Disconnect the suspect module Ethernet cable from the GWM Ethernet master connector to enable efficient probing. Refer to the instruction at the beginning of this pinpoint test.

    • Disconnect the suspect module Ethernet cable connector (APIM, IPC, IPMA, TCU).

    • Disassemble the suspect module Ethernet cable connector as shown at the start of this pinpoint test to enable probing of the Ethernet cable.

    • Measure:
      Positive Lead Measurement / Action Negative Lead
      GFD768721Courtesy of FORD MOTOR COMPANY

      Ethernet cable at the GWM, pin 1
      GFD768722Courtesy of FORD MOTOR COMPANY
      GFD768721Courtesy of FORD MOTOR COMPANY

      Ethernet cable at the suspect module, pin 1
      GFD768721Courtesy of FORD MOTOR COMPANY

      Ethernet cable at the GWM, pin 2
      GFD768722Courtesy of FORD MOTOR COMPANY
      GFD768721Courtesy of FORD MOTOR COMPANY

      Ethernet cable at the suspect module, pin 2

    Are the resistances less than 3 ohms? 

    Yes  GO to B7 
    No  INSTALL a new Ethernet cable.
  8. B7 CHECK THE ETHERNET CIRCUIT FOR A SHORT TO GROUND

    • Measure:
      Positive Lead Measurement / Action Negative Lead
      GFD768721Courtesy of FORD MOTOR COMPANY

      Ethernet cable, pin 1
      GFD768722Courtesy of FORD MOTOR COMPANY
      Ground
      GFD768721Courtesy of FORD MOTOR COMPANY

      Ethernet cable, pin 2
      GFD768722Courtesy of FORD MOTOR COMPANY
      Ground

    Are the resistances greater than 10, 000 ohms? 

    Yes  GO to B8 
    No  INSTALL a new Ethernet cable.
  9. B8 CHECK THE ETHERNET CIRCUIT FOR A SHORT TOGETHER

    • Measure:
      Positive Lead Measurement / Action Negative Lead
      GFD768721Courtesy of FORD MOTOR COMPANY

      Ethernet cable, pin 1
      GFD768722Courtesy of FORD MOTOR COMPANY
      GFD768721Courtesy of FORD MOTOR COMPANY

      Ethernet cable, pin 2

    Is the resistance greater than 10, 000 ohms? 

    Yes  GO to B9 
    No  INSTALL a new Ethernet cable.
  10. B9 CHECK THE ETHERNET CIRCUIT FOR A SHORT TO POWER

    • Ignition ON.

    • Measure:
      Positive Lead Measurement / Action Negative Lead
      GFD768721Courtesy of FORD MOTOR COMPANY

      Ethernet cable, pin 1
      GFD768723Courtesy of FORD MOTOR COMPANY
      Ground
      GFD768721Courtesy of FORD MOTOR COMPANY

      Ethernet cable, pin 2
      GFD768723Courtesy of FORD MOTOR COMPANY
      Ground

    Is any voltage present? 

    Yes  INSTALL a new Ethernet cable.
    No  If the APIM is the suspect module, GO to B10 If the TCU is the suspect module, GO to B11 
  11. B10 CHECK FOR CORRECT APIM (SYNC MODULE) OPERATION

    • Ignition OFF.

    • Disconnect and inspect the APIM connectors.

    • Repair:

      • Corrosion (clean module pins or install new connectors or terminals)
      • Damaged or bent pins (install new terminals or pins)
      • Pushed-out pins (install new pins as necessary)

    • Reconnect the APIM connectors. Make sure they seat and latch correctly.

    • Operate the system and determine if the concern is still present.

    Is the concern still present? 

    Yes  CHECK OASIS for any applicable service articles: TSB, GSB, SSM or FSA. If a service article exists for this concern, DISCONTINUE this test and FOLLOW the service article instructions. If no service articles address this concern, INSTALL a new APIM. REFER to: SYNC Module [APIM] .
    No  The system is operating correctly at this time. The concern may have been caused by module connections. ADDRESS the root cause of any connector or pin issues.
  12. B11 CHECK FOR CORRECT TCU (TELEMATIC CONTROL UNIT MODULE) OPERATION

    • Ignition OFF.

    • Disconnect and inspect the TCU connector.

    • Repair:

      • Corrosion (clean module pins or install new connectors or terminals)
      • Damaged or bent pins (install new terminals or pins)
      • Pushed-out pins (install new pins as necessary)

    • Reconnect the TCU connectors. Make sure they seat and latch correctly.

    • Operate the system and determine if the concern is still present.

    Is the concern still present? 

    Yes  CHECK OASIS for any applicable service articles: TSB, GSB, SSM or FSA. If a service article exists for this concern, DISCONTINUE this test and FOLLOW the service article instructions. If no service articles address this concern, INSTALL a new TCU, REFER to: Telematics Control Unit (TCU) Module .
    No  The system is operating correctly at this time. The concern may have been caused by module connections. ADDRESS the root cause of any connector or pin issues.