LEMON Manuals: Even more car manuals for everyone
Home >> Ford >> 2017 >> Edge SE, AWD >> Repair and Diagnosis (Single Page) >> Transmission >> Automatic Trans >> Automatic Transmission - 6F35 >> Description And Operation >> Transmission Description - System Operation and Component Description >> System Operation >> System Diagram

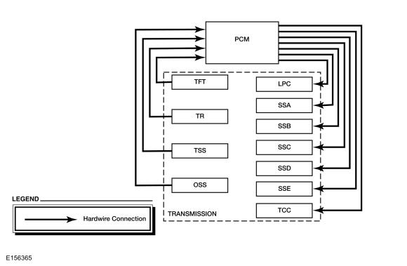
System Diagram

GFD19910Courtesy of FORD MOTOR COMPANY


GFD19911Courtesy of FORD MOTOR COMPANY
GFD19912Courtesy of FORD MOTOR COMPANY