LEMON Manuals: Even more car manuals for everyone
Home >> Ford >> 2013 >> Focus ST >> Repair and Diagnosis (Single Page) >> Engine Performance >> System >> Engine Controls - Pinpoint Test A: No Start Through Pinpoint Test DN: Pressure And Temperature Sensors - (Except Diesel & Hybrid) >> Pinpoint Test B: Powertrain Control Module (PCM) Power Relay >> Introduction >> Notes

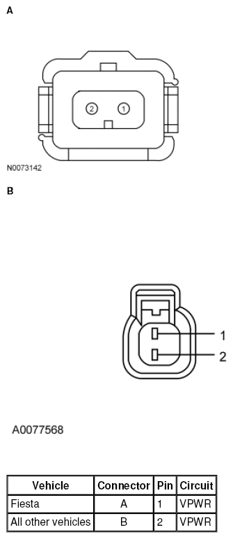
Pinpoint Test B: Powertrain Control Module (PCM) Power Relay: Introduction: Notes

This pinpoint test is intended to diagnose the following: