LEMON Manuals: Even more car manuals for everyone
Home >> Ford >> 2012 >> Transit Connect Base, Van Cargo >> Repair and Diagnosis >> Steering >> Power Steering >> Steering System >> General Procedures >> Power Steering System Filling

Power Steering System Filling

SPECIAL TOOLS

G06256263
Evacuation Cap, Power Steering
211-265
G06256271
Fill Adapter Manifold, Power Steering
211-327
G06256264
Vacuum Pump Kit
416-D002 (D95L-7559-A) or equivalent
MATERIAL SPECIFICATIONS

Item Specification
MERCON® V Automatic Transmission Fluid
XT-5-QM (or XT-5-QMC) (US); CXT-5-LM12 (Canada)
MERCON® V
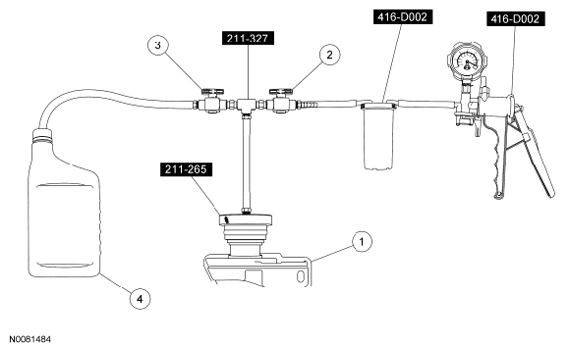
Fig 1: Filling Power Steering System
G06269688Courtesy of FORD MOTOR CO.
Item Description
1 Power steering fluid reservoir
2 Control valve (vacuum side)
3 Control valve (fluid container side)
4 Fluid container
    NOTE: If the air is not purged from the power steering system correctly, premature power steering pump failure may result. The condition can occur on pre-delivery vehicles with evidence of aerated fluid or on vehicles that have had steering component repairs.
  1. Remove the power steering fluid reservoir cap.
  2. Install the Power Steering Evacuation Cap, Power Steering Fill Adapter Manifold and Vacuum Pump Kit as shown in the illustration.
  3. NOTE: The Power Steering Fill Adapter Manifold control valves are in the OPEN position when the points of the handles face the center of the Power Steering Fill Adapter Manifold.
  4. Close the Power Steering Fill Adapter Manifold control valve (fluid side).
  5. Open the Power Steering Fill Adapter Manifold control valve (vacuum side).
  6. Using the Vacuum Pump Kit, apply 68-85 kPa (20-25 in-Hg) of vacuum to the power steering system.
  7. Observe the Vacuum Pump Kit gauge for 30 seconds.
  8. If the Vacuum Pump Kit gauge reading drops more than 3 kPa (0.88 in-Hg), correct any leaks in the power steering system or the Power Steering Evacuation Cap, Power Steering Fill Adapter Manifold and Vacuum Pump Kit before proceeding.
  9. NOTE: The Vacuum Pump Kit gauge reading will drop slightly during this step.
  10. Slowly open the Power Steering Fill Adapter Manifold control valve (fluid side) until power steering fluid completely fills the hose and then close the control valve.
  11. Using the Vacuum Pump Kit, apply 68-85 kPa (20-25 in-Hg) of vacuum to the power steering system.
  12. Close the Power Steering Fill Adapter Manifold control valve (vacuum side).
  13. Slowly open the Power Steering Fill Adapter Manifold control valve (fluid side).
  14. Once power steering fluid enters the fluid reservoir and reaches the minimum fluid level indicator line on the reservoir, close the Power Steering Fill Adapter Manifold control valve (fluid side).
  15. Remove the Power Steering Evacuation Cap, Power Steering Fill Adapter Manifold and Vacuum Pump Kit.
  16. Install the reservoir cap.
  17. NOTE: Do not hold the steering wheel against the stops for an extended amount of time. Damage to the power steering pump may occur.
    NOTE: There will be a slight drop in the power steering fluid level in the reservoir when the engine is started.
  18. Start the engine and turn the steering wheel from stop-to-stop.
  19. Turn the ignition switch to the OFF position.
  20. NOTE: Do not overfill the reservoir.
  21. Remove the reservoir cap and fill the reservoir with the specified fluid.
  22. Install the reservoir cap.