LEMON Manuals: Even more car manuals for everyone
Home >> Ford >> 2011 >> Taurus SE >> Repair and Diagnosis (Single Page) >> Accessories & Equipment >> Accessories Control Systems >> Component Testing >> Introduction >> Relay - Micro ISO >> Schematic

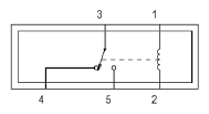
Relay - Micro ISO: Schematic

Fig 1: Relay, Micro ISO - Schematic
G07337084Courtesy of FORD MOTOR CO.