LEMON Manuals: Even more car manuals for everyone
Home >> Ford >> 2007 >> Taurus SE >> Repair and Diagnosis >> Steering >> Steering Column >> Disassembly And Assembly >> Steering Column - Console Shift >> Assembly

Steering Column - Console Shift: Assembly

  1. Install the locking lever cam and pin.
  2. Fig 1: Locking Lever Cam & Pin
    GF0020664Courtesy of FORD MOTOR CO.
  3. Install the lock actuator lever and pin.
  4. Fig 2: Lock Actuator Lever & Pin
    GF0020663Courtesy of FORD MOTOR CO.
  5. Install the lock actuator lever return spring.
  6. Fig 3: Lock Actuator Lever Return Spring
    GF0020662Courtesy of FORD MOTOR CO.
  7. Install the ignition lock cylinder lockout lever.
  8. Fig 4: Ignition Lock Cylinder Lockout Lever
    GF0020661Courtesy of FORD MOTOR CO.
    NOTE: The lock lever with 2 teeth is installed on the left-hand side.
  9. If necessary, install the springs and lock levers.
    1. Install the spring and lever on the left-hand side. Use a pin punch to hold the compressed spring in position.
    2. Install the spring and lever on the right-hand side. Use the pivot pin to hold the compressed spring in position.
    3. Tap the pin through the levers, pushing out the pin punch, until flush with the housing.
  10. Fig 5: Tilt Locking Levers, Springs & Pins
    GF0020666Courtesy of FORD MOTOR CO.
    NOTE: Lubricate the lock lever actuators with premium long-life grease.
  11. Install the lock lever actuators.
    1. Install the lower lock lever actuator.
    2. Install the upper lock lever actuator.
  12. Fig 6: Identifying Steering Column Lock Actuators
    GF0007821Courtesy of FORD MOTOR CO.
  13. Install the lower bearing retainer.
    1. Position the lower bearing retainer.
    2. Install the 2 bolts and tighten to 9 Nm (80 lb-in).
  14. Fig 7: Identifying Steering Column Lower Bearing Retainer And Bolts
    GF0007822Courtesy of FORD MOTOR CO.
    NOTE: The UP position of the bearing must be facing forward.
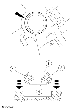
  15. Install the lower bearing and sleeve.
    Item Part Number Description
    1 - Outer race
    2 3517 Bearing (in the UP position)
    3 - Ball
    4 - Inner race
  16. Fig 8: Identifying Steering Column Lower Bearing & Sleeve
    GF0007852Courtesy of FORD MOTOR CO.
    CAUTION: Install the steering column bearing so that the inner race is visible when installed.
    NOTE: Use an appropriate bearing installer or socket.
  17. Install the bearing in the lock cylinder housing.
    Item Part Number Description
    1 - Outer race
    2 3517 Bearing (in the UP position)
    3 - Ball
    4 - Inner race
  18. Fig 9: Installing Steering Column Bearing And Sleeve
    GF0007823Courtesy of FORD MOTOR CO.
    Fig 10: Installing Steering Column Bearing In Steering Column Lock Cylinder Housing
    GF0007824Courtesy of FORD MOTOR CO.
    CAUTION: Install the steering column bearing so that the inner race is visible when installed.
    NOTE: Use an appropriate bearing installer or socket.
  19. Install the bearing in the lock cylinder housing.
    Item Part Number Description
    1 - Bearing slot
    2 3511 Lock cylinder housing
    3 - Outer race
    4 3517 Bearing (in the UP position)
    5 - Ball
    6 - Inner race
  20. Fig 11: Installing Steering Column Bearing In Steering Column Lock Cylinder Housing
    GF0007825Courtesy of FORD MOTOR CO.
    Fig 12: Installing Steering Column Bearing In Steering Column Lock Cylinder Housing
    GF0007826Courtesy of FORD MOTOR CO.
  21. Position the shaft in the steering column lock cylinder housing.
    • Install the bearing tolerance ring on the steering column shaft.
  22. Fig 13: Locating Steering Column Bearing Tolerance Ring
    GF0007827Courtesy of FORD MOTOR CO.
  23. Install the bearing sleeve.
  24. Fig 14: Locating Steering Column Bearing Sleeve
    G04708925Courtesy of FORD MOTOR CO.
  25. Install the upper bearing spring.
  26. Fig 15: Locating Steering Column Bearing Spring
    G03884924Courtesy of FORD MOTOR CO.
  27. Install the snap ring.
  28. Fig 16: Locating Snap Ring
    G03884923Courtesy of FORD MOTOR CO.
  29. Install the tilt pivot screws loosely and position the actuator housing in a vise.
    • Lubricate the pivot screws with premium long-life grease.
  30. Fig 17: Locating Lock Cylinder Housing Screws
    GF0007829Courtesy of FORD MOTOR CO.
  31. Place 2 nuts or spacers to hold the lock levers away from the actuator housing.
  32. Fig 18: Placing Spacers
    GF0020667Courtesy of FORD MOTOR CO.
    NOTE: Lubricate the lock cylinder housing pivot bushings with premium long-life grease.
  33. Install the lock cylinder housing.
    • Position the lock cylinder housing and the shaft assembly on the actuator housing.
    • Make sure the upper and lower lock actuators are aligned.
    • Install and compress the steering column position spring.
    • Align the lock cylinder housing bushings with the pivot screws.
      • Tighten to 22 Nm (16 lb-ft).
    • Using a long thin screwdriver, remove the nuts installed under the lock levers.
  34. Fig 19: Locating Lock Cylinder Housing And Steering Actuator Housing Screw
    GF0007831Courtesy of FORD MOTOR CO.
  35. Install the bearing tolerance ring.
  36. Fig 20: Locating Steering Column Lower Bearing Tolerance Ring
    GF0007812Courtesy of FORD MOTOR CO.
  37. Install the sensor ring.
    1. Install the sensor ring.
    2. Install the lower bearing spring.
  38. Fig 21: Installing Sensor Ring
    GF0007832Courtesy of FORD MOTOR CO.
  39. Install the ignition switch.
    1. Align the ignition switch with the slot and index-mark on the actuator housing.
    2. Install the 2 screws and tighten to 6 Nm (53 lb-in).
  40. Fig 22: Identifying Ignition Switch & Screws
    GF0007833Courtesy of FORD MOTOR CO.
    NOTE: The narrow section of the keyhole in the lock gear should be in the 1 o'clock position.
  41. Install the lock gear.
    • Use premium long-life grease to coat the lock gear.
  42. Fig 23: Locating Steering Column Lock Gear
    GF0007809Courtesy of FORD MOTOR CO.
  43. Install the lock housing bearing.
    • The narrow section of the keyhole should be in the 1 o'clock position, with the tab inboard at the 3 o'clock position and rotate it counterclockwise.
    • Lubricate the lock housing bearing with premium long-life grease.
  44. Fig 24: Locating Steering Column Lock Housing Bearing
    GF0007834Courtesy of FORD MOTOR CO.
  45. Install the upper bearing retainer firmly to engage the 4 retention tabs into the lock housing.
  46. Fig 25: Locating Steering Column Upper Bearing Retainer
    GF0007807Courtesy of FORD MOTOR CO.
  47. Install the turn indicator cancel cam.
  48. Fig 26: Turn Indicator Cancel Cam
    GF0020660Courtesy of FORD MOTOR CO.
  49. Install the clockspring. For additional information, refer to SUPPLEMENTAL RESTRAINT SYSTEM article.
  50. WARNING: To reduce the risk of serious personal injury, read and follow all warnings, notes and instructions in the steering column removal and installation procedure.
  51. Install the steering column. For additional information, refer to Steering Column .