LEMON Manuals: Even more car manuals for everyone
Home >> Ford >> 2007 >> Taurus SE >> Repair and Diagnosis (Single Page) >> Steering >> Steering Column >> Removal And Installation >> Steering Column Coupling >> Notes

Steering Column Coupling: Notes

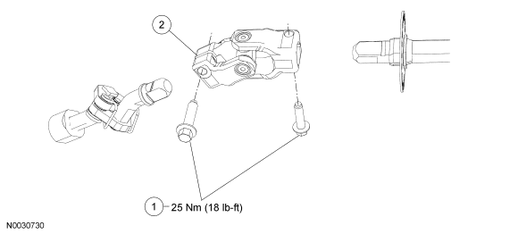
Fig 1: Exploded View Of Steering Column Coupling With Torque Specifications
GF0020650Courtesy of FORD MOTOR CO.
Item Part Number Description
1 N808349 Pinch bolts
2 3N725 Column coupling