LEMON Manuals: Even more car manuals for everyone
Home >> Ford >> 2005 >> Focus ZX4 ST >> Repair and Diagnosis >> Engine Performance >> Remove, Overhaul & Install >> Electronic Engine Control System >> Removal And Installation >> Fuel Pump Driver Module (FPDM) >> Removal

Fuel Pump Driver Module (FPDM): Removal

  1. Pull up the rear seat.
  2. Position the floor covering to one side.
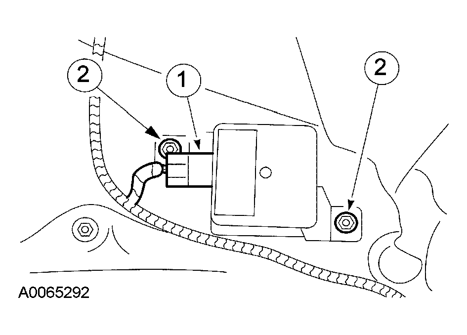
  3. Remove the fuel pump driver module (FPDM).
    1. Disconnect the FPDM electrical connector.
    2. Remove the FPDM.
    Fig 1: Removing Fuel Pump Driver Module
    G03951185Courtesy of FORD MOTOR CO.