LEMON Manuals: Even more car manuals for everyone
Home >> Ford >> 2004 >> Freestar Base >> Repair and Diagnosis >> Steering >> Power Steering >> Steering System >> Disassembly And Assembly >> Steering Column >> Item 19 And 20: Steering Column Bearing Disassembly Note

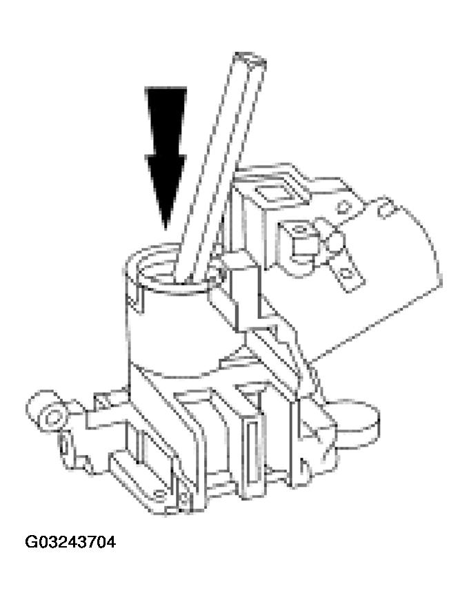
Item 19 And 20: Steering Column Bearing Disassembly Note

  1. Use a suitable tool to remove the steering column lower bearing from the steering column lock cylinder housing.
    Fig 1: Removing Steering Column Lower Bearing
    G03243704Courtesy of FORD MOTOR CO.