LEMON Manuals: Even more car manuals for everyone
Home >> Ford >> 2004 >> Freestar Base >> Repair and Diagnosis (Single Page) >> Engine Performance >> System >> Engine Controls - Pinpoint Test DX: Engine Coolant Temperature (ECT) Sensor Through Pinpoint Test HC: Fuel Delivery System - CNG, Flex-Fuel & Gasoline >> Pinpoint Test H: Fuel Control >> Introduction >> Notes

Pinpoint Test H: Fuel Control: Introduction: Notes

NOTE: This pinpoint test is intended to diagnose the following:
  • HO2S/O2S (9F472).
  • HO2S/O2S (9G444).
  • Fuel injector(s) (9F593).
  • Harness Circuits: HO2S, SIGRTN, VPWR, HO2S Heater & INJ 1 - 10.
  • Vacuum Systems.
  • Powertrain control module (PCM) (12A650).
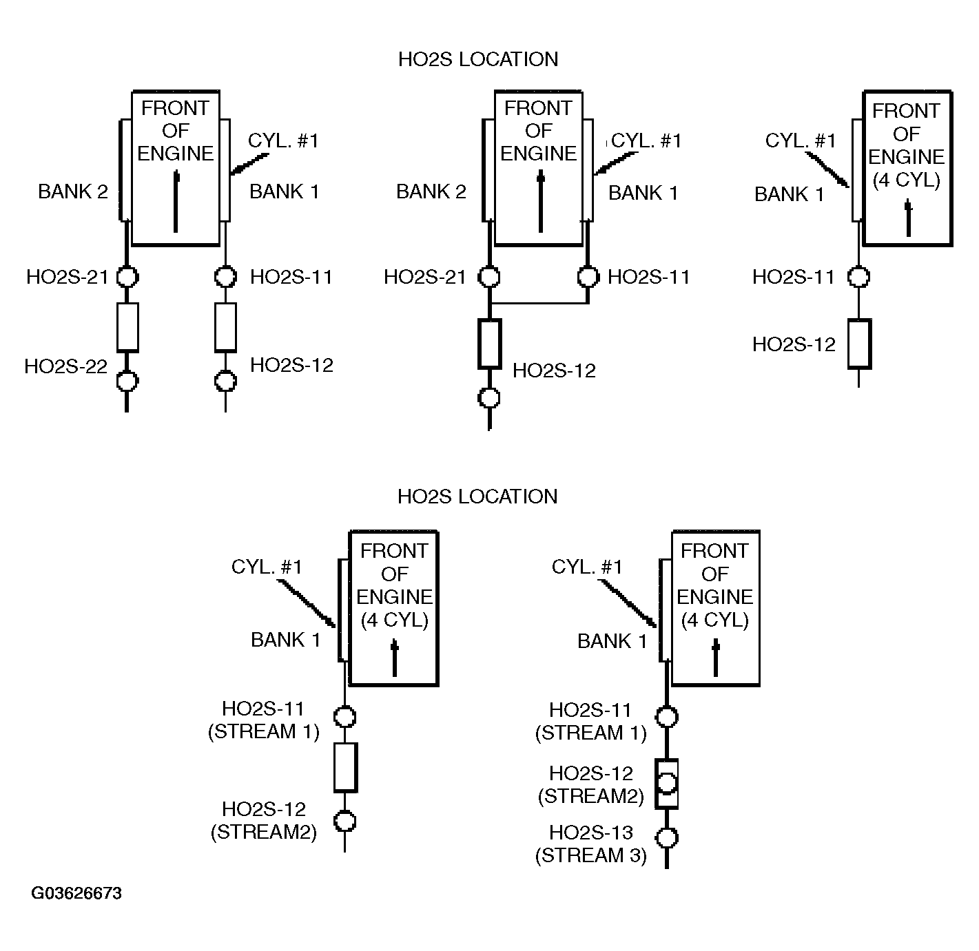
Fig 1: Identifying HO2S Locations
G03626673Courtesy of FORD MOTOR CO.
Fig 2: Identifying Heated Oxygen Sensor (HO2S) Connector
G03626674Courtesy of FORD MOTOR CO.
Fig 3: Identifying Injector (INJ) Connector
G03626675Courtesy of FORD MOTOR CO.