LEMON Manuals: Even more car manuals for everyone
Home >> Ford >> 2003 >> ZX2 Standard >> Repair and Diagnosis >> Engine Performance >> Engine Control Systems >> Acceleration Control >> Removal And Installation >> Pedal >> Installation

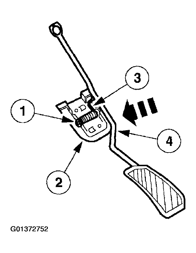
Removal And Installation: Pedal: Installation

  1. Assemble the accelerator pedal and shaft.
    1. Position the spring.
    2. Align the spring on the accelerator shaft retainer.
    3. Rotate the end of the spring.
    4. Install the accelerator pedal and shaft.
    Fig 1: Assembling Accelerator Pedal And Shaft
    G01372752Courtesy of FORD MOTOR CO.
  2. Install the E-clip.
    Fig 2: Installing E-Clip
    G01372753Courtesy of FORD MOTOR CO.
  3. Install the accelerator cable end to the accelerator pedal and shaft.
  4. Raise the accelerator pedal and shaft and install the bolts.
    Fig 3: Installing Accelerator Pedal And Shaft Bolts
    G01372754Courtesy of FORD MOTOR CO.
  5. Route the accelerator cable and install the accelerator cable end to the throttle control lever and the cable housing to the accelerator cable bracket.
  6. Adjust the accelerator cable; refer to CABLE ADJUSTMENT .