LEMON Manuals: Even more car manuals for everyone
Home >> Ford >> 2003 >> ZX2 Automatic >> Repair and Diagnosis (Single Page) >> Transmission >> Automatic Trans >> Automatic Transaxle/Transmission >> Disassembly And Assembly Of Subassemblies >> Main Control Valve Body - Assembly >> Assembly

Main Control Valve Body - Assembly: Assembly

CAUTION: Handle the main control valve body carefully. If any of the components are damaged, it may become the cause of malfunctions in the transmission.
  1. Install the (A) oil strainer into the lower control valve body.
    Fig 1: Installing Oil Strainer Into Lower Control Valve Body
    G01371830Courtesy of FORD MOTOR CO.
  2. Set the filter into the lower separator plate.
    Fig 2: Setting Filter Into Lower Separator Plate
    G01371831Courtesy of FORD MOTOR CO.
  3. Identify the (A) premain lower gasket and the (B) lower gasket.
    Fig 3: Identifying Premain Lower Gasket And Lower Gasket
    G01371832Courtesy of FORD MOTOR CO.
  4. Set the new (C) lower gasket, (B) lower separator plate and a new (A) premain lower gasket onto the lower valve body.
    Fig 4: Setting Lower Gasket, Lower Separator Plate And Premain Lower Gasket
    G01371833Courtesy of FORD MOTOR CO.
  5. Install the (A) premain control valve body onto the (B) lower valve body.
    Fig 5: Installing Premain Control Valve Body
    G01371834Courtesy of FORD MOTOR CO.
  6. Install the rubber check balls and oil strainers in the premain control valve body.
    1. Install the rubber check balls.
    2. Install the oil strainers.
    Fig 6: Installing Rubber Check Balls And Oil Strainers
    G01371835Courtesy of FORD MOTOR CO.
  7. Install the rubber check balls into their proper positions in the main control valve body.
    Fig 7: Installing Rubber Check Balls Into Their Proper Positions In Main Control Valve Body
    G01371836Courtesy of FORD MOTOR CO.
  8. Identify the (A) premain gasket and the (B) main gasket.
    Fig 8: Identifying Premain Gasket And Main Gasket
    G01371837Courtesy of FORD MOTOR CO.
  9. Install the new (A) main gasket, (B) separator plate, and the new (C) premain gasket.
    Fig 9: Installing Main Gasket, Separator Plate And Premain Gasket
    G01371838Courtesy of FORD MOTOR CO.
  10. Install the screws securing the main gasket, main separator plate, and the premain gasket to the main control valve body.
    Fig 10: Installing Screws Securing Main Gasket, Main Separator Plate And Premain Gasket
    G01371839Courtesy of FORD MOTOR CO.
  11. NOTE: If the bolts are difficult to tighten, do not force the bolts in. The gasket may be out of place. Remove the valve body and reset the gasket.
    Fig 11: Installing Main Control Valve Body Bolts
    G01371840Courtesy of FORD MOTOR CO.
  12. Use valve body guide pins to set the main control valve body onto the premain control valve body. Install and hand-tighten the bolts.
    1. Bolt length: 30 mm (1.181 in).
    2. Bolt length: 40 mm (1.575 in).
    3. Bolt length: 50 mm (1.969 in).
  13. Set the oil filter in the upper separator plate.
    Fig 12: Setting Oil Filter In Upper Separator Plate
    G01371841Courtesy of FORD MOTOR CO.
  14. Install the jet orifice and nut on the upper separator plate.
    Fig 13: Installing Jet Orifice And Nut On Upper Separator Plate
    G01371842Courtesy of FORD MOTOR CO.
  15. Identify the (A) upper gasket and the (B) main upper gasket.
    Fig 14: Identifying Upper Gasket And Main Upper Gasket
    G01371843Courtesy of FORD MOTOR CO.
  16. Install a new (A) upper gasket, (B) upper separator plate, and a new (C) main upper gasket onto the upper control valve body.
    Fig 15: Installing Upper Gasket, Upper Separator Plate And Main Upper Gasket
    G01371844Courtesy of FORD MOTOR CO.
  17. Install the screw securing the main upper gasket, the upper separator plate, and the upper gasket to the upper control valve body.
    Fig 16: Installing Screw Securing Main Upper Gasket, Upper Separator Plate, And Upper Gasket
    G01371845Courtesy of FORD MOTOR CO.
  18. Align the throttle plug assembly groove and the bolt hole of the upper valve body, then set the upper control valve onto the main control valve body. Install the bolts and hand-tighten only.
    Fig 17: Installing Upper Control Valve Bolts
    G01371846Courtesy of FORD MOTOR CO.
  19. Install and hand-tighten the bolts.
    1. Bolt length: 50 mm (1.969 in).
    2. Bolt length: 82 mm (3.228 in).
    3. Bolt length: 90 mm (3.543 in).
    4. Bolt length: 95 mm (3.740 in).
    Fig 18: Installing Main Control Valve Body Bolts
    G01371847Courtesy of FORD MOTOR CO.
  20. Install the 2-3 shift solenoid and the 3-4 shift solenoid.
    1. Install the 2-3 shift solenoid.
    2. Install the 2-3 shift solenoid bolt.
    3. Install the 3-4 shift solenoid.
    4. Install the 3-4 shift solenoid bolt.
    5. Install the solenoid wiring harness and bolt.
    Fig 19: Installing 2-3 Shift Solenoid And 3-4 Shift Solenoid
    G01371848Courtesy of FORD MOTOR CO.
  21. Install the torque converter clutch (TCC) solenoid and the 1-2 shift solenoid.
    1. Install the TCC solenoid.
    2. Install the TCC solenoid bolt.
    3. Install the 1-2 shift solenoid.
    4. Install the 1-2 shift solenoid bolt.
    Fig 20: Installing Torque Converter Clutch Solenoid And 1-2 Shift Solenoid
    G01371849Courtesy of FORD MOTOR CO.
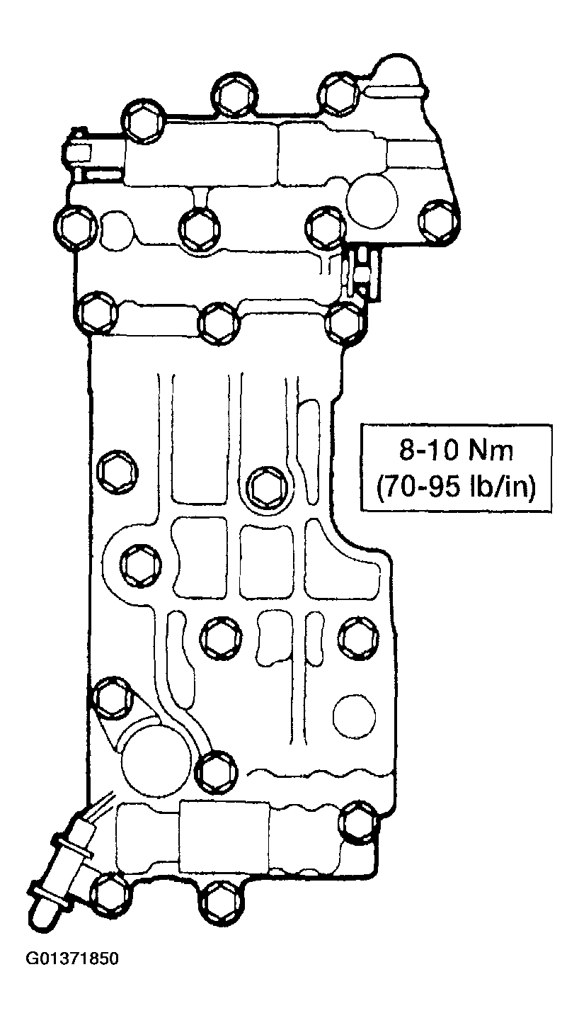
  22. Tighten the main valve body bolts evenly and gradually.
    Fig 21: Tightening Main Valve Body Bolts
    G01371850Courtesy of FORD MOTOR CO.
  23. Apply Motorcraft MERCON® Multi-Purpose Automatic Transmission Fluid XT-2-QDX or equivalent meeting Ford specification MERCON to the new O-rings and install them onto the fluid bypass tube. Install the fluid bypass tube bolts.
    Fig 22: Installing Fluid Bypass Tube Bolts
    G01371851Courtesy of FORD MOTOR CO.
  24. Apply Motorcraft MERCON® Multi-Purpose Automatic Transmission Fluid XT-2-QDX or equivalent meeting Ford specification MERCON to a new (A) O-ring and install it onto the filter. Install the filter.
    Fig 23: Installing O-Ring
    G01371852Courtesy of FORD MOTOR CO.