LEMON Manuals: Even more car manuals for everyone
Home >> Ford >> 2003 >> Windstar Base >> Repair and Diagnosis (Single Page) >> Engine Performance >> Remove, Overhaul & Install >> Engine Controls - Removal & Installation >> Computerized Engine Controls >> Powertrain Control Module >> Removal & Installation

Removal & Installation

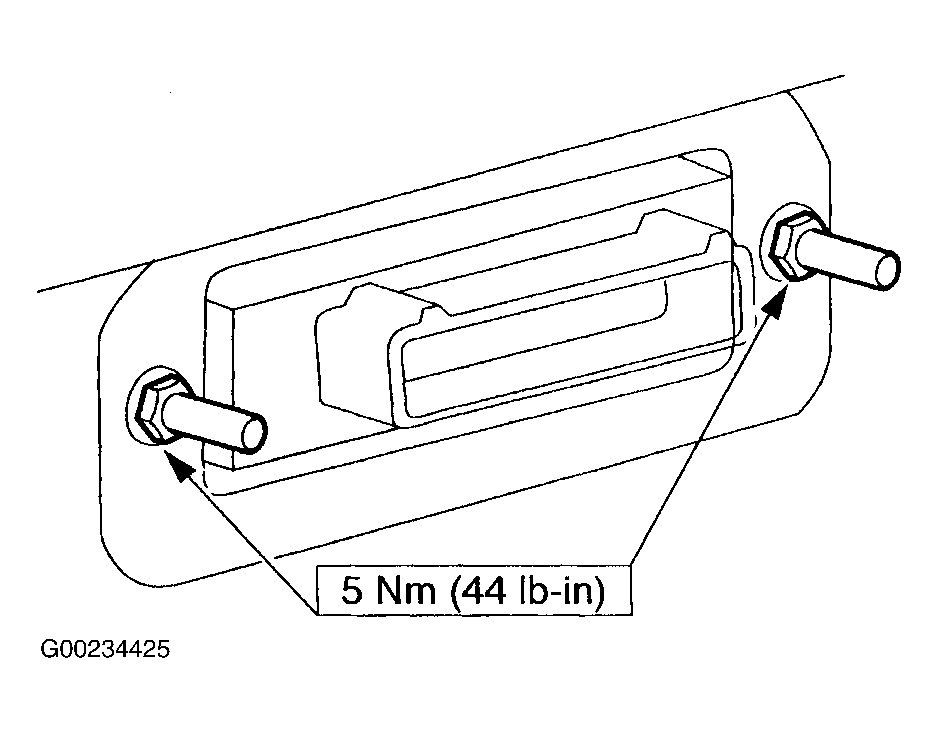
Disconnect negative battery cable. PCM is located on right rear of engine compartment, mounted on cowl. Disconnect PCM connector. Remove PCM cover and PCM. See Fig 1. To install, reverse removal procedure. Tighten bracket bolts and connector bolt to specification. See TORQUE SPECIFICATIONS .

Fig 1: Locating PCM Cover Nuts
G00234425Courtesy of FORD MOTOR CO.