LEMON Manuals: Even more car manuals for everyone
Home >> Ford >> 2002 >> ZX2 Standard >> Repair and Diagnosis >> Steering >> Steering Control Systems >> Steering System-General Information >> General Procedures >> Fill

General Procedures: Fill

    WARNING: Do not mix oil types, any mixture or any unapproved oil could lead to seal deterioration and leaks. A leak could ultimately cause loss of fluid, which could result in a loss of power steering assist.
  1. Fill the reservoir.
    • Use Motorcraft MERCON® Multi-Purpose ATFXT-2-QDX or MERCON® equivalent.
      Fig 1: Identifying Reservoir Minimum And Maximum Level
      G02208101Courtesy of FORD MOTOR CO.
  2. Remove the ENGINE fuse to disable the vehicle.
    Fig 2: Removing ENGINE Fuse
    G02208102Courtesy of FORD MOTOR CO.
  3. Raise the front wheels off the floor.
  4. CAUTION: Do not crank the engine for more than 15 seconds at a time. Allow the starter to cool for 1 minute before cranking again. Premature starter failure can occur.
    CAUTION: Do not hold the steering wheel against the stops for more than three to five seconds at a time. Damage to the power steering pump could occur.
    Fig 3: Turning Steering Wheel From Stop-To-Stop
    G02208103Courtesy of FORD MOTOR CO.
  5. Turn the steering wheel from stop-to-stop while cranking the engine.
  6. Lower the vehicle.
  7. CAUTION: Do not overfill the reservoir.
  8. Fill the reservoir.
    • Use Motorcraft MERCON® Multi-Purpose ATFXT-2-QDX or MERCON® equivalent.
      Fig 4: Identifying Reservoir Minimum And Maximum Level
      G02208104Courtesy of FORD MOTOR CO.
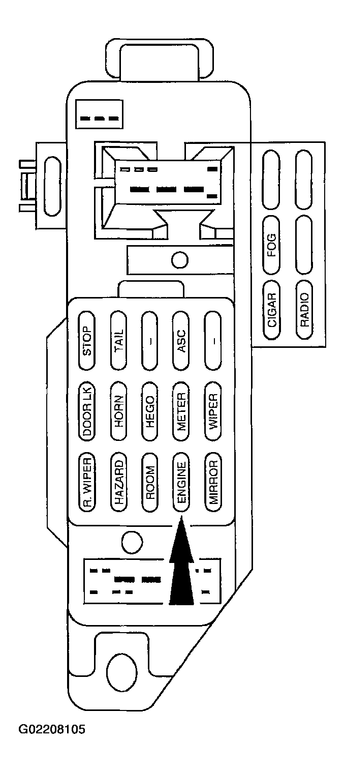
  9. Install the ENGINE fuse.
    Fig 5: Installing ENGINE Fuse
    G02208105Courtesy of FORD MOTOR CO.