LEMON Manuals: Even more car manuals for everyone
Home >> Ford >> 2001 >> Explorer Chassis >> Repair and Diagnosis >> External Pages >> Different car >> Section 5 (Module Communications Network) >> System Tests >> Test E: Powertrain Control Module (Pcm) Does Not Respond To NGS Tester

Test E: Powertrain Control Module (Pcm) Does Not Respond To NGS Tester

WARNING: This page is about a different car, the 2000 Mercury Mountaineer and 2000 Ford Explorer. However, it is still accessible from the selected car via links, so may be relevant.
NOTE: If test results indicate PCM is faulty, always check for any engine performance related Diagnostic Trouble Codes (DTCs) prior to replacing PCM. If any DTCs are present, service DTCs as necessary and retest. See SELF-DIAGNOSTICS - EEC-V (GASOLINE) article in ENGINE PERFORMANCE.
  1. Turn ignition off. Disconnect PCM 104-pin connector. Inspect PCM connector for physical damage, bent terminals or corrosion. Repair connector as necessary and retest system for normal operation. If connector is okay, go to next step.
  2. Measure resistance of Tan/Orange wire between PCM connector terminal No. 16 and DLC terminal No. 2. See Figure and Fig 1 . Measure resistance of Pink/Light Blue wire between PCM connector terminal No. 15 and DLC terminal No. 10. If each resistance is less than 5 ohms, diagnose SCP network communication concern. See TEST QA under CIRCUIT TESTS in SELF-DIAGNOSTICS - EEC-V (GASOLINE) article in ENGINE PERFORMANCE. If either resistance reading is 5 ohms or more, go to next step.
  3. Disconnect and inspect both halves of bulkhead 40-pin connector C147. Inspect connector for physical damage, bent terminals or corrosion. Repair connector as necessary and retest system for normal operation. If connector is okay, go to next step.
  4. Measure resistance of Tan/Orange wire between female half of bulkhead connector C147 terminal No. 21 and DLC terminal No. 2. See Figure and Figure . Measure resistance of Pink/Light Blue wire between female half of bulkhead connector C147 terminal No. 25 and DLC terminal No. 10. If each resistance is less than 5 ohms, go to next step. If either resistance is 5 ohms or more, repair open in appropriate wire between female half of bulkhead connector C147 and DLC. Retest system for normal operation.
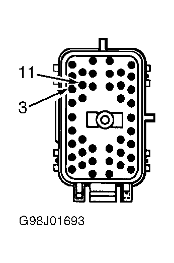
  5. Disconnect and inspect both halves of Gray bulkhead 42-pin connector C115, located at left rear corner of engine compartment. See Figure. Inspect connector for physical damage, bent terminals or corrosion. Repair connector as necessary and retest system for normal operation. If connector is okay, go to next step.
  6. Measure resistance of Tan/Orange wire between male half of bulkhead connector C147 terminal No. 21 and male half of bulkhead connector C115 terminal No. 11. See Figure and Fig 2 . Measure resistance of Pink/Light Blue wire between male half of bulkhead connector C147 terminal No. 25 and male half of bulkhead connector C115 terminal No. 3. If each resistance is less than 5 ohms, repair appropriate wire between female half of bulkhead connector C115 and PCM. Retest system for normal operation. If either resistance reading is 5 ohms or more, repair appropriate wire between male half of bulkhead connector C147 and male half of bulkhead connector C115.
Fig 1: PCM Connector Terminal Identification
G97E28807Courtesy of FORD MOTOR CO.
Fig 2: Identifying Bulkhead Connector C115 Terminals (Male Half Of Connector Shown)
G98J01693Courtesy of FORD MOTOR CO.