LEMON Manuals: Even more car manuals for everyone
Home >> Ford >> 2000 >> Taurus SEL >> Repair and Diagnosis >> External Pages >> Different car >> Section 44 (Module Communications Network) >> General Procedures >> Communication Circuit Wiring Repair

Communication Circuit Wiring Repair

WARNING: This page is about a different car, the 2002 Lincoln LS. However, it is still accessible from the selected car via links, so may be relevant.
Fig 1: Special Tool(s)
G02166057Courtesy of FORD MOTOR CO.
  1. Disconnect the battery ground cable.
  2. Strip the wires.
    Fig 2: Striping Wires
    G02166058Courtesy of FORD MOTOR CO.
  3. NOTE: Use rosin core mildly activated (RMA) solder, not acid core solder.
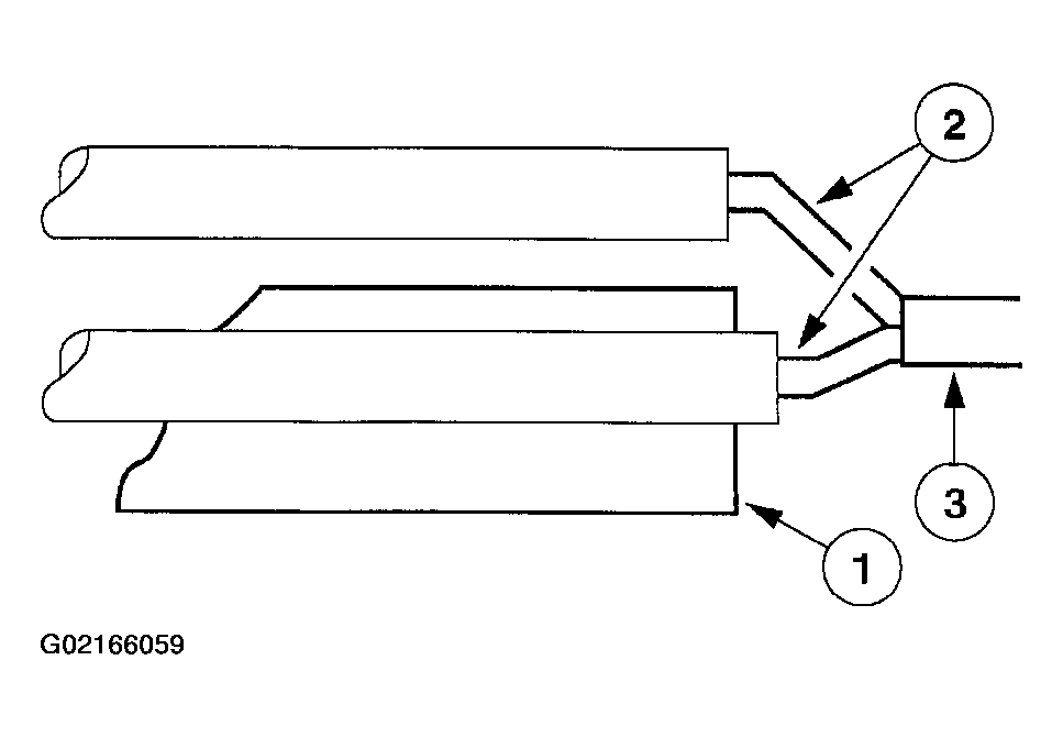
    Fig 3: Soldering Wires
    G02166059Courtesy of FORD MOTOR CO.
  4. Solder the wires.
    1. Install the heat shrink tube.
    2. Twist the wires together.
    3. Solder the wires together.
  5. NOTE: Wait for the solder to cool before moving the wires.
    Fig 4: Bending Wires
    G02166060Courtesy of FORD MOTOR CO.
  6. Bend the wires back in a straight line.
  7. Position the heat shrink tube over the wire repair.
    • Overlap the heat shrink tube on both wires.
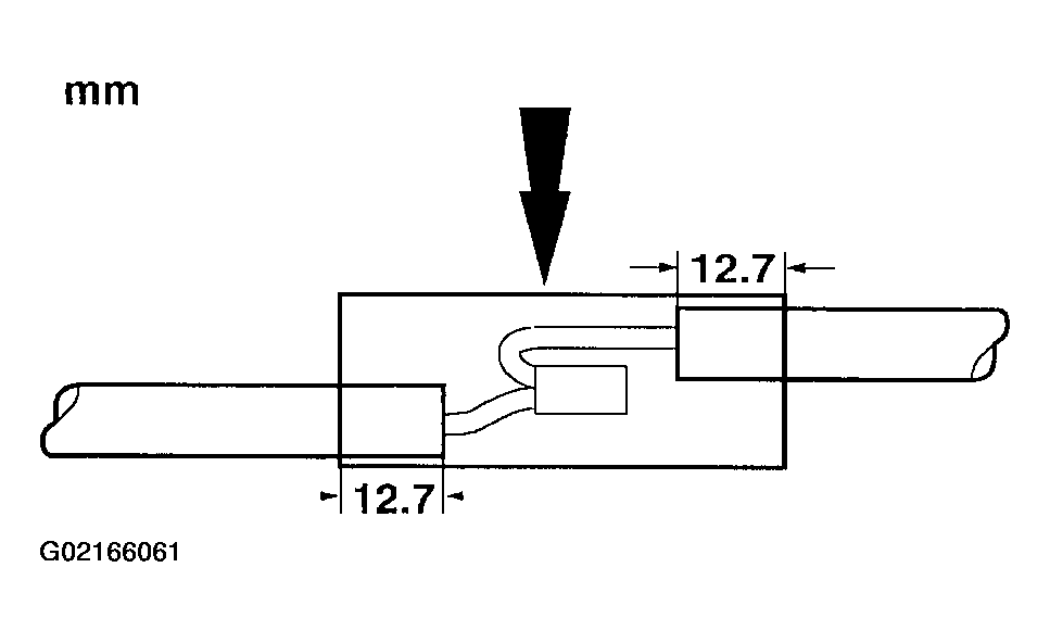
    Fig 5: Positioning Heat Shrink Tubing
    G02166061Courtesy of FORD MOTOR CO.
  8. Use Heat Gun to heat the repaired area until adhesive flows out both ends of the heat shrink tube.
    Fig 6: Shrinking Heat Shrink Tubing
    G02166062Courtesy of FORD MOTOR CO.
  9. Reconnect the battery ground cable.