LEMON Manuals: Even more car manuals for everyone
Home >> Ford >> 2000 >> Contour SVT >> Repair and Diagnosis >> External Pages >> Different car >> Section 435 (Module Communications Network) >> Diagnosis And Testing >> Communications Network >> Symptom Chart >> Audio Control Module (ACM) C29c

Audio Control Module (ACM) C29c

WARNING: This page is about a different car, the 2004 Lincoln LS. However, it is still accessible from the selected car via links, so may be relevant.
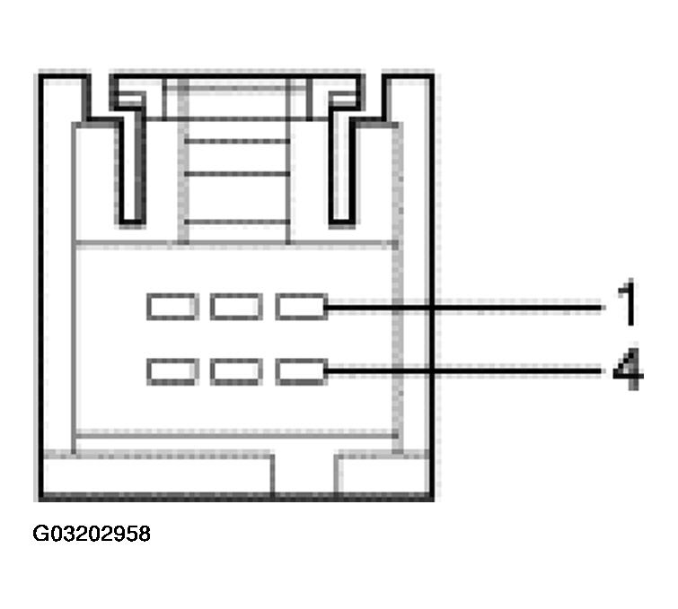
Fig 1: Identifying Audio Control Module (ACM) C29C Connector Pins
G03202958Courtesy of FORD MOTOR CO.
AUDIO CONTROL MODULE (ACM) C29C PINS DESCRIPTION

Pin Number(s) Circuit Designation/Description Normal Condition/Measurement
1 4-EG10 (GY/BK) standard corporate protocol (SCP) Less than 5 ohms between the audio unit and data link connector. Greater than 10,000 ohms between the audio unit and ground.
4 5-EG10 (BU/YE) standard corporate protocol (SCP) Less than 5 ohms between the audio unit and data link connector. Greater than 10,000 ohms between the audio unit and ground.