LEMON Manuals: Even more car manuals for everyone
Home >> Ford >> 2000 >> Contour SVT >> Repair and Diagnosis >> External Pages >> Different car >> Section 430 (Climate Control System) >> Diagnosis And Testing >> Climate Control System >> Symptom Chart >> Connector Circuit Reference

Connector Circuit Reference

WARNING: This page is about a different car, the 2004 Lincoln LS. However, it is still accessible from the selected car via links, so may be relevant.
DATC MODULE C228a CONNECTOR PINS REFERENCE

G03202166
Pin Number(s) Circuit Designation/Description Normal Condition/Measurement
2 CKT 31-FA10 (BK) DATC module to blend door actuator Less than 5 ohms to chassis ground.
3 CKT 20-FA10 (PK/OG) DATC module to ATC solenoid and manifold Greater than 10 volts to chassis ground with the ignition ON.
6 CKT 8-FA51 WH/BK) DATC module to temperature blend door actuator (RH) Greater than 10,000 ohms to chassis ground and 0 volts.
7 CKT 8-FA53 (WH/BU) DATC module to temperature blend door actuator (LH) Greater than 10,000 ohms to chassis ground and 0 volts.
8 CKT 9-FA49 (BN/WH) DATC module to temperature blend door actuator (LH) Greater than 10,000 ohms to chassis ground and 0 volts.
9 CKT 8-FA48 (WH/GN) DATC module to ATC solenoid and manifold Resistance of 24,000-37,000 ohms to chassis ground.
10 CKT 8-FA44 (WH/RD) DATC module to ATC solenoid and manifold Greater than 10,000 ohms to chassis ground and 0 volts.
11 CKT 9-FA1 (BN) DATC module to ATC solenoid and manifold Resistance of 3,000-5,000 ohms to chassis ground.
14 CKT 29-FA10 (OG/GN) DATC module to ATC solenoid and manifold Greater than 10 volts at all times.
15 CKT 8-FA45 (WH/BU) DATC module to ATC solenoid and manifold Greater than 10,000 ohms to chassis ground and 0 volts.
16 CKT 9-FA44 (BN/RD) DATC module to ATC solenoid and manifold Greater than 10,000 ohms to chassis ground and 0 volts.
17 CKT 8-FA49 (WH/VT) DATC module to ATC solenoid and manifold Greater than 10,000 ohms to chassis ground and 0 volts.
18 CKT 8-FA47 (WH/GN) DATC module to ATC solenoid and manifold Greater than 10,000 ohms to chassis ground and 0 volts.
19 CKT 9-FA3 (BN/BU) DATC module to ATC solenoid and manifold Greater than 10,000 ohms to chassis ground and 0 volts.
20 CKT 10-FA53 (GY/VT) DATC module to ATC solenoid and manifold Greater than 10,000 ohms to chassis ground and 0 volts.
22 CKT 7-FA1 (YE) DATC module to ATC solenoid and manifold Resistance of 800-1,000 ohms to chassis ground.
DATC MODULE C228b CONNECTOR PINS REFERENCE

G03202167
Pin Number(s) Circuit Designation/Description Normal Condition/Measurement
1 CKT 8-FB5 (WH/BK) ground Approximately 0-5 volts with the DATC ON.
2 CKT 8-FB2 (WH/RD) ground Approximately 0-5 volts with the DATC ON.
3 CKT 8-FB7 (WH) voltage supplied ignition on Approximately 0-5 volts with the DATC ON.
5 CKT 91S-FB3 (BN/BU) DATC module to front blower motor speed control module Greater than 10 volts at all times.
6 CKT 91S-FB4 (BN/GN) sensor signal return (ground) Greater than 10 volts at all times.
9 CKT 33-FB8 (YE/RD) DATC module to temperature blend door actuator (LH) Greater than 10,000 ohms to chassis ground and 0 volts.
10 CKT 32-FB8 (WH/RD) DATC module to temperature blend door actuator (RH) Greater than 10,000 ohms to chassis ground and 0 volts.
11 CKT 32-FB2 (WH/RD) DATC module to temperature blend door actuator (RH) Greater than 10,000 ohms to chassis ground and 0 volts.
12 CKT 33-FB2 (YE/RD) DATC module to temperature blend door actuator (RH) Greater than 10,000 ohms to chassis ground and 0 volts.
13 CKT 32-FB5 (WH/BK) voltage supplied at all times Greater than 10,000 ohms to chassis ground and 0 volts.
14 CKT 9-FA48 (BN/GN) DATC module to temperature blend door actuator (RH) Approximately 0-5 volts with the DATC ON.
15 CKT 8-FB8 (WH/RD) front blower motor speed control input Approximately 0-5 volts with the DATC ON.
16 CKT 8-FB6 (WH/VT) solar radiation sensor input (RH) Approximately 0-5 volts with the DATC ON.
17 CKT 9-FA2 (BN/RD) ambient air temperature sensor input Approximately 0-5 volts with the DATC ON.
18 CKT 91S-FA76 (BN/BU) solar radiation sensor input (LH) Greater than 10 volts at all times.
19 CKT 31S-FA23 (BK/BU) DATC module to temperature blend door actuator (RH) Greater than 10 volts at all times.
22 CKT 32-FB6 (WH/VT) DATC module to blend door actuator Greater than 10,000 ohms to chassis ground and 0 volts.
23 CKT 33-FB6 (YE/VT) DATC module to blend door actuator Greater than 10,000 ohms to chassis ground and 0 volts.
24 CKT 32-FB7 (WH) DATC module to blend door actuator Greater than 10,000 ohms to chassis ground and 0 volts.
25 CKT 33-FB7 (YE) DATC module to blend door actuator Greater than 10,000 ohms to chassis ground and 0 volts.
26 CKT 33-FB5 (YE/BK) DATC module to blend door actuator Greater than 10,000 ohms to chassis ground and 0 volts.
IN-VEHICLE TEMPERATURE SENSOR C233 CONNECTOR PINS REFERENCE

G03202168
Pin Number(s) Circuit Designation/Description Normal Condition/Measurement
1 CKT 8-FA48 (WH/GN) in-vehicle air temperature sensor input Approximately 5 volts with the DATC ON.
2 CKT 9-FA48 (BN/GN) sensor signal return (ground) Less than 5 ohms to chassis ground.
DISCHARGE TEMPERATURE SENSOR (LH) C235 CONNECTOR PINS REFERENCE

G03202169
Pin Number(s) Circuit Designation/Description Normal Condition/Measurement
1 CKT 8-FA47 (WH/GN) LH discharge temperature sensor input Approximately 5 volts with the DATC ON.
2 CKT 9-FA47 (BN/GN) sensor signal return (ground) Less than 5 ohms to chassis ground.
DISCHARGE TEMPERATURE SENSOR (RH) C255 CONNECTOR PINS REFERENCE

G03202170
Pin Number(s) Circuit Designation/Description Normal Condition/Measurement
1 CKT 8-FA51 (WH/BK) RH discharge temperature sensor input Approximately 5 volts with the DATC ON.
2 CKT 9-FA51 (BN/YE) sensor signal return (ground) Less than 5 ohms to chassis ground.
EVAPORATOR DISCHARGE AIR TEMPERATURE SENSOR C296 CONNECTOR PINS REFERENCE

G03202171
Pin Number(s) Circuit Designation/Description Normal Condition/Measurement
1 CKT 9-FA44 (BN/RD) sensor signal return (ground) Less than 5 ohms to chassis ground.
2 CKT 8-FA44 (WH/RD) evaporator discharge air temperature sensor input Approximately 5 volts with the DATC ON.
AMBIENT AIR TEMPERATURE SENSOR C132 CONNECTOR PINS REFERENCE

G03202172
Pin Number(s) Circuit Designation/Description Normal Condition/Measurement
1 CKT 8-FA49 (WH/VT) ambient air temperature sensor input Approximately 5 volts with the DATC ON.
2 CKT 9-FA49 (BN/WH) sensor signal return (ground) Less than 5 ohms to chassis ground.
BLOWER MOTOR SPEED CONTROL MODULE C297 CONNECTOR PINS REFERENCE

G03202173
Pin Number(s) Circuit Designation/Description Normal Condition/Measurement
1 CKT 31S-FA18 (BK/RD) blower motor speed control module to blower motor Greater than 10,000 ohms to chassis ground and 0 volts.
2 CKT 31-FA45 (BK) blower motor speed control module ground Less than 5 ohms to chassis ground.
3 CKT 8-FA45 (WH/BU) DATC module to blower motor speed control module input Less than 1 volt in the lowest blower setting to greater than 4.5 volts in the highest blower setting.
4 CKT 30S-FA18 (RD/BK) voltage supply to blower motor speed control module Greater than 10 volts with the DATC ON.
COOL AIR BYPASS DOOR ACTUATOR C295 CONNECTOR PINS REFERENCE

G03202174
Pin Number(s) Circuit Designation/Description Normal Condition/Measurement
1 CKT 32-FB2 (WH/RD) cool air bypass door actuator close circuit Greater than 10,000 ohms to chassis ground and 0 volts.
3 CKT 8-FB2 (WH/RD) cool air bypass door actuator feedback circuit Less than 5 ohms chassis ground.
4 CKT 9-FB2 (BN/RD) cool air bypass door actuator ground Less than 5 ohms chassis ground.
5 CKT 7-FB2 (YE/RD) cool air bypass door actuator reference voltage Greater than 4.5 volts to chassis ground with the DATC ON.
6 CKT 33-FB2 (YE/RD) cool air bypass door actuator open circuit Greater than 10,000 ohms to chassis ground and 0 volts.
AIR INLET DOOR ACTUATOR C289 CONNECTOR PINS REFERENCE

G03202175
Pin Number(s) Circuit Designation/Description Normal Condition/Measurement
1 CKT 33-FB8 (YE/RD) door actuator close circuit Greater than 10,000 ohms to chassis ground and 0 volts.
3 CKT 8-FB8 (WH/RD) door actuator feedback circuit Less than 5 ohms chassis ground.
4 CKT 7-FB8 (YE/RD) door actuator reference voltage Greater than 4.5 volts to chassis ground with the DATC ON.
5 CKT 9-FB8 (BN/RD) door actuator ground Less than 5 ohms chassis ground.
6 CKT 32-FB8 (WH/RD) door actuator open circuit Greater than 10,000 ohms to chassis ground and 0 volts.
FLOOR MODE DOOR ACTUATOR C234 CONNECTOR PINS REFERENCE

G03202176
Pin Number(s) Circuit Designation/Description Normal Condition/Measurement
1 CKT 32-FB6 (WH/VT) door actuator open circuit Greater than 10,000 ohms to chassis ground and 0 volts.
3 CKT 8-FB6 (WH/VT) door actuator feedback circuit Less than 5 ohms chassis ground.
4 CKT 9-FB6 (BN/WH) door actuator ground Less than 5 ohms chassis ground.
5 CKT 7-FB6 (YE/VT) door actuator reference voltage Greater than 4.5 volts to chassis ground with the DATC ON.
6 CKT 33-FB6 (YE/VT) door actuator close circuit Greater than 10,000 ohms to chassis ground and 0 volts.
PANEL MODE DOOR ACTUATOR C236 CONNECTOR PINS REFERENCE

G03202177
Pin Number(s) Circuit Designation/Description Normal Condition/Measurement
1 CKT 33-FB7 (YE) door actuator close circuit Greater than 10,000 ohms to chassis ground and 0 volts.
3 CKT 8-FB7 (WH) door actuator feedback circuit Less than 5 ohms chassis ground.
4 CKT 7-FB7 (YE) door actuator reference voltage Greater than 4.5 volts to chassis ground with the DATC ON.
5 CKT 9-FB7 (BN) door actuator ground Less than 5 ohms chassis ground.
6 CKT 32-FB7 (WH) door actuator open circuit Greater than 10,000 ohms to chassis ground and 0 volts.
DEFROST MODE DOOR ACTUATOR C232 CONNECTOR PINS REFERENCE

G03202178
Pin Number(s) Circuit Designation/Description Normal Condition/Measurement
1 CKT 33-FB5 (YE/BK) door actuator close circuit Greater than 10,000 ohms to chassis ground and 0 volts.
3 CKT 8-FB5 (WH/BK) door actuator feedback circuit Less than 5 ohms chassis ground.
4 CKT 7-FB5 (YE/BK) door actuator reference voltage Greater than 4.5 volts to chassis ground with the DATC ON.
5 CKT 9-FB5 (BN/YE) door actuator ground Less than 5 ohms chassis ground.
6 CKT 32-FB5 (WH/BK) door actuator open circuit Greater than 10,000 ohms to chassis ground and 0 volts.
SOLAR RADIATION SENSOR C286 CONNECTOR PINS REFERENCE

G03202179
Pin Number(s) Circuit Designation/Description Normal Condition/Measurement
1 CKT 10-FA53 (GY/VT) solar radiation sensor input Greater than 4.5 volts to chassis ground with the DATC ON.
2 CKT 9-FA53 (BN/BU) ground Less than 5 ohms chassis ground.
3 CKT 8-FA53 (WH/BU) solar radiation sensor input Greater than 4.5 volts to chassis ground with the DATC ON.
A/C COMPRESSOR CLUTCH FIELD COIL C100 CONNECTOR PINS REFERENCE

G03202180
Pin Number(s) Circuit Designation/Description Normal Condition/Measurement
1 CKT 31-FA6(BK/YE) ground Less than 5 ohms chassis ground.
2 CKT 15-FA6 (GN/YE) A/C compressor clutch relay switched output Greater than 10 volts with the A/C commanded on.
POWERTRAIN CONTROL MODULE (PCM) C175a CONNECTOR PINS REFERENCE

G03202181
Pin Number(s) Circuit Designation/Description Normal Condition/Measurement
9 CKT 91S-FA79 (BN/BU) A/C compressor clutch relay control Greater than 10 volts with the ignition on.
BLOWER MOTOR C288 CONNECTOR PINS REFERENCE

G03202182
Pin Number(s) Circuit Designation/Description Normal Condition/Measurement
1 CKT 30S-FA18 (RD/BK) blower motor relay switched output Greater than 10 volts with the DATC ON.
2 CKT 31S-FA18 (BK/RD) blower motor relay to blower motor control module Resistance of less than 5 ohms to chassis ground with blower in the highest setting.
AUXILIARY COOLANT PUMP MOTOR C163 CONNECTOR PINS REFERENCE

G03202183
Pin Number(s) Circuit Designation/Description Normal Condition/Measurement
1 CKT 30S-FB1 (RD/YE) auxiliary coolant pump motor switched voltage from the auxiliary coolant pump relay. Greater than 10 volts with the auxiliary coolant pump relay ON.
2 CKT 31-FB1 (BK/YE) auxiliary coolant pump ground Less than 5 ohms to chassis ground.
COOLANT CONTROL VALVE SOLENOID C1034 CONNECTOR PINS REFERENCE

G03202184
Pin Number(s) Circuit Designation/Description Normal Condition/Measurement
1 CKT 91S-FB4 (BN/GN) auxiliary temperature blend door actuator feed Less than 5 ohms with the DATC in full COOL mode.
2 CKT 30-FB3 (RD/OG) front auxiliary controls to rear auxiliary controls Greater than 10 volts at all times.
3 CKT 91S-FB3 (BN/BU) front auxiliary controls to rear auxiliary controls Less than 5 ohms with the DATC in full COOL mode.
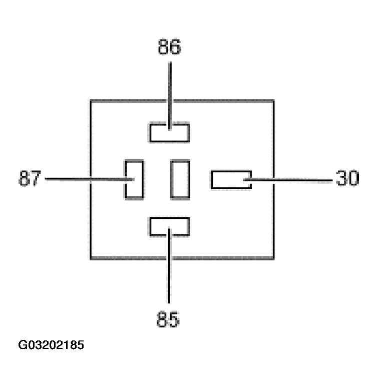
BLOWER MOTOR RELAY CONNECTOR PINS REFERENCE

G03202185
Pin Number(s) Circuit Designation/Description Normal Condition/Measurement
30 CKT 30-FA24 (RD/OG) blower motor relay switch voltage Greater than 10 volts at all times.
85 CKT 31S-FA23 (BK/BU) blower motor relay control from DATC module Less than 100 ohms to chassis ground with the blower in the lowest setting.
86 CKT 30-FA24 (RD/OG) blower motor relay coil voltage Greater than 10 volts at all times.
87 CKT 30S-FA18 (RD/BK) blower motor relay switched output Less than 5 ohms to chassis ground with the blower in the highest setting.
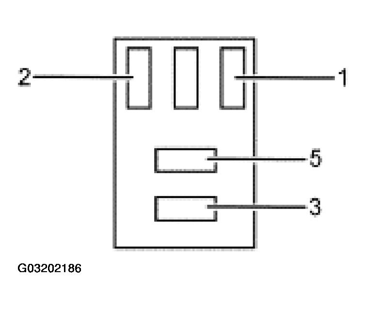
A/C COMPRESSOR CLUTCH RELAY CONNECTOR PINS REFERENCE

G03202186
Pin Number(s) Circuit Designation/Description Normal Condition/Measurement
1 CKT 15S-FA79 (GN/RD) A/C clutch relay coil voltage Greater than 10 volts with the ignition on.
2 CKT 91S-FA79 (BN/BU) A/C compressor clutch relay control Resistance of less than 5 ohms to chassis ground when the A/C is commanded on.
3 CKT 30-FA79 (RD/OG) A/C clutch relay switch voltage Greater than 10 volts at all times.
5 CKT 15S-FA6 (GN/YE) A/C compressor clutch relay switched output Less than 100 ohms to chassis ground.
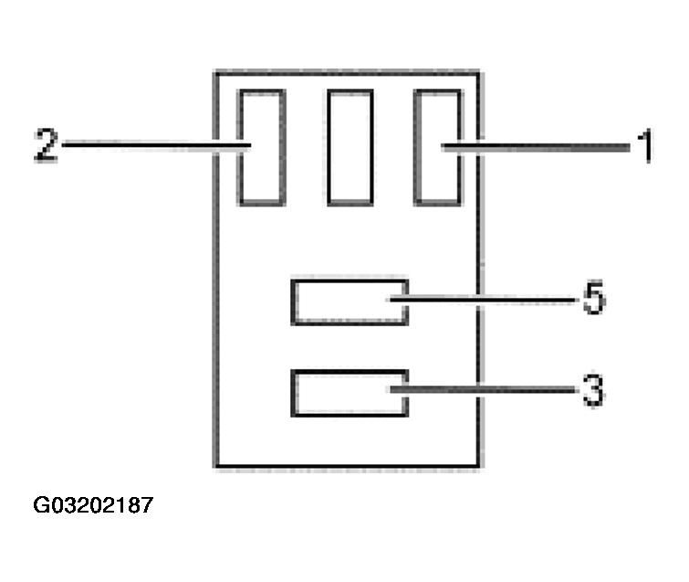
AUXILIARY COOLANT PUMP RELAY CONNECTOR PINS REFERENCE

G03202187
Pin Number(s) Circuit Designation/Description Normal Condition/Measurement
1 CKT 30-FA74 (RD/GN) auxiliary coolant pump relay coil voltage Greater than 10 volts at all times.
2 CKT 91S-FA76 (BN/BU) auxiliary coolant pump relay control Resistance of less than 5 ohms to chassis ground when the auxiliary coolant pump relay is commanded on.
3 CKT 30-FA74 (RD/GN) auxiliary coolant pump relay switch voltage Greater than 10 volts at all times.
5 CKT 30S-FB1 (RD/YE) auxiliary coolant pump relay switched output Less than 100 ohms to chassis ground.