LEMON Manuals: Even more car manuals for everyone
Home >> Ford >> 2000 >> Contour SVT >> Repair and Diagnosis >> External Pages >> Different car >> Section 1366 (Engine System) >> Disassembly And Assembly Of Subassemblies >> Piston >> Assembly

Disassembly And Assembly Of Subassemblies: Piston: Assembly

WARNING: This page is about a different car, the 2006 Mercury Grand Marquis and 2006 Ford Crown Victoria. However, it is still accessible from the selected car via links, so may be relevant.
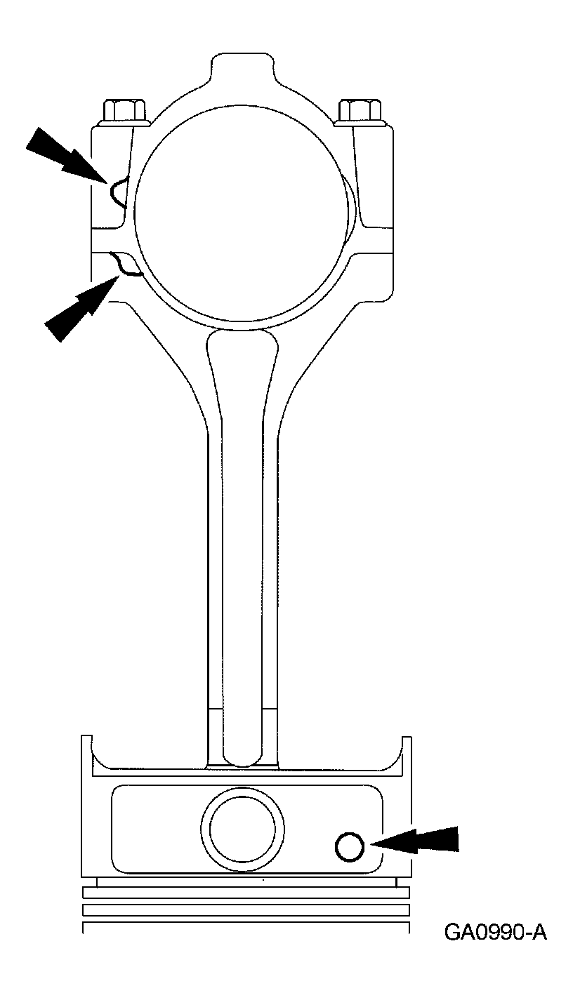
    NOTE: Connecting rod must be installed into piston with identification markings toward front.
    Fig 1: Locating Connecting Rod & Piston Identification Marks
    G03885869Courtesy of FORD MOTOR CO.
  1. Position the connecting rod in the piston.
  2. NOTE: Lubricate the piston pin and retainers with clean engine oil.
  3. Install the piston pin and the 2 piston pin retainers.
  4. NOTE: Lubricate all the piston rings and piston oil control spacer with clean engine oil.
  5. Install the lower piston oil control segment ring.
  6. Install the piston oil control spacer.
  7. Install the upper piston oil control segment ring.
  8. Install the lower piston compression ring.
  9. Install the upper piston compression ring.