LEMON Manuals: Even more car manuals for everyone
Home >> Ford >> 2000 >> Contour SVT >> Repair and Diagnosis >> External Pages >> Different car >> Section 1230 (Component Testing) >> Component Testing >> Multifunction switch >> Schematic (Exterior Lights)

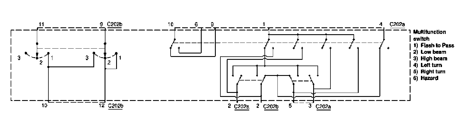
Schematic (Exterior Lights)

WARNING: This page is about a different car, the 2005 Ford RV Cutaway, 2005 Ford Econoline, 2005 Ford E450 Super Duty, and 2005 Ford Cutaway. However, it is still accessible from the selected car via links, so may be relevant.
Fig 1: Multifunction Switch - Schematic (Exterior Lights)
G03993037Courtesy of FORD MOTOR CO.