LEMON Manuals: Even more car manuals for everyone
Home >> Ford >> 2000 >> Contour SVT >> Repair and Diagnosis >> External Pages >> Different car >> Section 1183 (Module Communications Network) >> Diagnosis And Testing >> Communications Network >> Pinpoint Test E: The Anti-Lock Brake System (ABS) Module Does Not Respond To The Diagnostic Tool >> Pinpoint Test E: The Anti-Lock Brake System (Abs) Module Does Not Respond To The Diagnostic Tool

Pinpoint Test E: The Anti-Lock Brake System (Abs) Module Does Not Respond To The Diagnostic Tool

WARNING: This page is about a different car, the 2005 Mercury Mountaineer and 2005 Ford Explorer. However, it is still accessible from the selected car via links, so may be relevant.
CAUTION: The Flex Probe Kit must be used for all test connections. Use of standard multimeter probes may damage wiring terminals.
  1. E1 CHECK THE ABS MODULE C155 FOR DAMAGE 
    • Key in OFF position.
    • Disconnect: ABS Module C155.
    • Inspect the ABS module C155 for damage.
    • Is the ABS module C155 OK? 
    • Yes  : GO to E2.
    • No  : REPAIR the ABS module C155. CARRY OUT the diagnostic tool data link test.
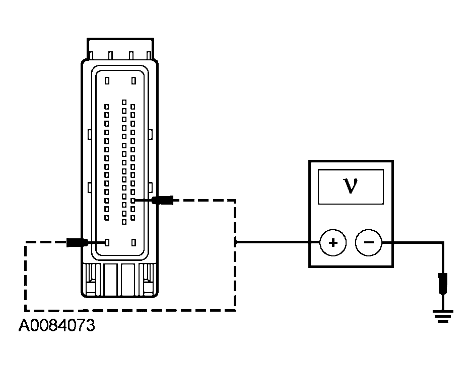
  2. E2 CHECK THE ABS MODULE VOLTAGE CIRCUITS FOR AN OPEN 
    • Key in ON position.
    • Measure the voltage between the ABS module C155-4, circuit 601 (LB/PK), harness side and ground; and between the ABS module C155-32, circuit 493 (BK/PK), harness side and ground.
      Fig 1: Checking ABS Module Voltage Circuits For An Open
      G03944816Courtesy of FORD MOTOR CO.
    • Are the voltages greater than 10 volts? 
    • Yes  : GO to E3.
    • No  : VERIFY the central junction box (CJB) fuse 22 (10A) and the battery junction box (BJB) fuse 10 (30A) are OK. If OK, REPAIR the circuit. CLEAR the diagnostic trouble codes (DTCs). REPEAT the self-test. CARRY OUT the diagnostic tool data link test.
  3. E3 CHECK THE ABS MODULE GROUND CIRCUIT FOR AN OPEN 
    • Key in OFF position.
    • Measure the resistance between the ABS module C155-16, circuit 274 (BK/WH), harness side and ground.
      Fig 2: Measuring Resistance Between ABS Module C155-16, Circuit 274 (BK/WH), Harness Side And Ground
      G03944817Courtesy of FORD MOTOR CO.
    • Is the resistance less than 5 ohms? 
    • Yes  : GO to E4.
    • No  : REPAIR the circuit. CLEAR the DTCs. REPEAT the self-test. CARRY OUT the diagnostic tool data link test.
  4. E4 CHECK THE CAN CIRCUITS BETWEEN THE ABS MODULE AND THE DLC FOR AN OPEN 
    • Measure the resistance between the ABS module C155-11, circuit 3126 (TN/YE), harness side and the DLC C251-6, circuit 3126 (TN/YE), harness side.
      Fig 3: Checking CAN Circuits Between ABS Module And DLC For An Open
      G03945786Courtesy of FORD MOTOR CO.
    • Measure the resistance between the ABS module C155-15, circuit 3125 (RD/YE), harness side and the DLC C251-14, circuit 3125 (RD/YE), harness side.
      Fig 4: Measuring Resistance Between ABS Module C155-15 And DLC C251-14
      G03945787Courtesy of FORD MOTOR CO.
    • Are the resistances less than 5 ohms? 
    • Yes  : GO to E5.
    • No  : REPAIR the circuit. CLEAR the DTCs. REPEAT the self-test. CARRY OUT the diagnostic tool data link test.
  5. E5 CHECK FOR CORRECT ABS MODULE OPERATION 
    • Disconnect all the ABS module connectors.
    • Check for:
      • corrosion
      • push-out pins
    • Connect all the ABS module connectors and make sure they seat correctly.
    • Operate the system and verify the concern is still present.
    • Is the concern still present? 
    • Yes  : INSTALL a new ABS module. REFER to ANTI-LOCK CONTROL . CLEAR the DTCs. REPEAT the self-test. CARRY OUT the diagnostic tool data link test.
    • No  : The system is operating correctly at this time. The concern may have been caused by a loose or corroded connector. CLEAR the DTCs. REPEAT the self-test. CARRY OUT the diagnostic tool data link test.