LEMON Manuals: Even more car manuals for everyone
Home >> Ford >> 1998 >> Taurus SHO >> Repair and Diagnosis >> Body & Frame >> Windows >> Power Window System >> System Testing >> Test B: Power Windows Completely Inoperative

Test B: Power Windows Completely Inoperative

  1. Check Window Operation  - Operate passenger windows from driver's master power window switch. If windows operate, go to TEST C: ONE POWER WINDOW INOPERATIVE  . If windows do not operate, go to next step.
  2. Check Light Blue/Black Wire  - Disconnect driver door window switch connector. Turn ignition switch to RUN position. Using a voltmeter, check voltage between ground and driver door window switch connector Light Blue/Black wire. If battery voltage exists, go to step 4). If battery voltage does not exist, go to next step.
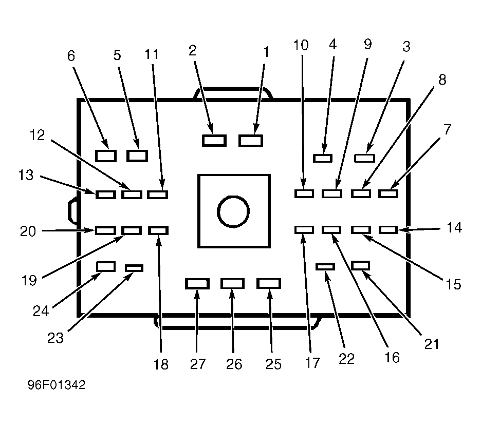
  3. Check Light Blue/Black Wire For Open Or Short To Ground  - Disconnect instrument panel fuse block 27-pin connector C247. Using an ohmmeter, check resistance between ground and instrument panel fuse block connector C247 terminal No. 23 (Light Blue/Black wire). See Figure . If resistance is 10 k/ohms or less, repair short to ground in Light Blue/Black wire. Retest system operation. If resistance is more than 10 k/ohms, repair open in Light Blue/Black wire. Retest system operation.
  4. Check Ground Circuit  - Using an ohmmeter, check resistance between ground and driver door window switch connector Black wire terminal. If resistance is 5 ohms or less, replace window switch and retest system operation. If resistance is more than 5 ohms, repair open in Black wire and retest system operation.