LEMON Manuals: Even more car manuals for everyone
Home >> Ford >> 1997 >> Contour Base, Standard >> Repair and Diagnosis >> Body & Frame >> Power Windows >> Component Testing >> Power Window Switch

Power Window Switch

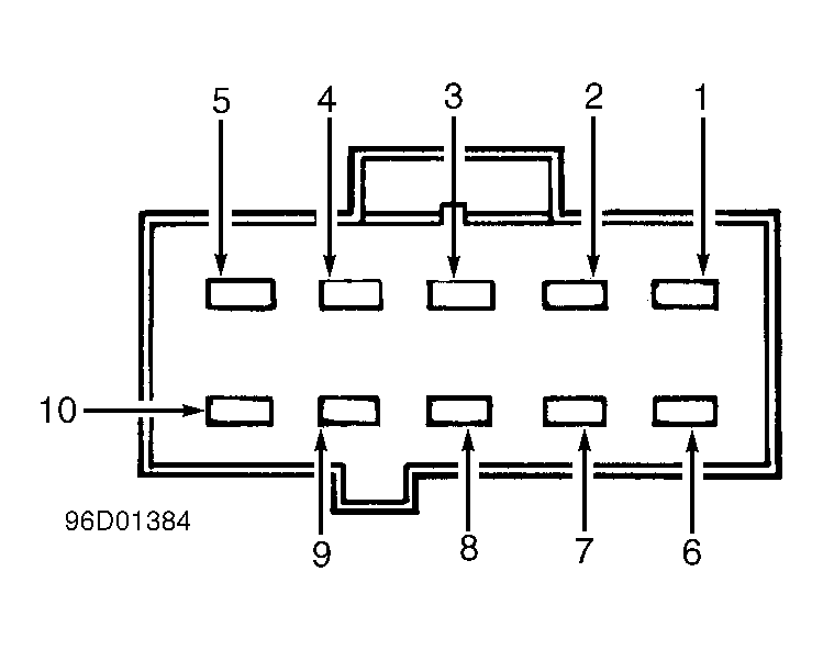
Remove window switch from vehicle. See appropriate POWER WINDOW SWITCH under REMOVAL & INSTALLATION  . Using ohmmeter, check for continuity between switch terminals in specified switch positions. See POWER WINDOW SWITCH TESTING TABLE. See Fig 1 , Fig 2 or Fig 3 . Replace power window switch if it does not test as specified.

POWER WINDOW SWITCH TESTING

Switch Position (1) Continuity Between Terminals No.
Neutral A-1, A-2, A-3, A-4, A-6, A-7, A-8, A-9 & B-3
Right Front Up A-2 & B-2; A-1 & B-3
Right Front Down A-1 & B-2; A-2 & B-3
Right Rear Up A-4 & B-2; A-3 & B-3
Right Rear Down A-3 & B-2; A-4 & B-3
Left Rear Up A-9 & B-2; A-8 & B-3
Left Rear Down A-8 & B-2; A-9 & B-3
Left Front Up A-6 & B-2; A-7 & B-3
Left Front Down A-7 & B-2; A-6 & B-3
(1) With switch in NEUTRAL position, terminal No. B-2 is isolated from all other terminals.
Fig 1: Identifying Master Power Window Switch Terminals (Switch Side) Connector "A"
G96D01384Courtesy of FORD MOTOR CO.
Fig 2: Identifying Master Power Window Switch Terminals (Switch Side) Connector "B"
G96I01386Courtesy of FORD MOTOR CO.
POWER WINDOW SWITCH TESTING

Switch Position (1) Continuity Between Terminals No.
Neutral C-1 & C-6; C-3 & C-7
Up C-1 & C-6; C-2 & C-7
Down C-1 & C-2; C-3 & C-7
(1) With switch in NEUTRAL position, terminal No. C-2 is isolated from all other terminals.
Fig 3: Identifying Passenger Power Window Switch Connector Terminals (Harness Side)
G96C01388Courtesy of FORD MOTOR CO.