LEMON Manuals: Even more car manuals for everyone
Home >> Ford >> 1996 >> Probe Base, Standard >> Repair and Diagnosis (Single Page) >> Engine Performance >> System >> Engine Controls - Tests W/Codes - 2.0L >> Circuit Tests >> Circuit Test Kb - Fuel Pump Driver Module (FPDM) >> Diagnostic Aids

Diagnostic Aids

Perform this test when instructed during QUICK TEST  or if directed by other test procedures. This test is used to diagnose the following:

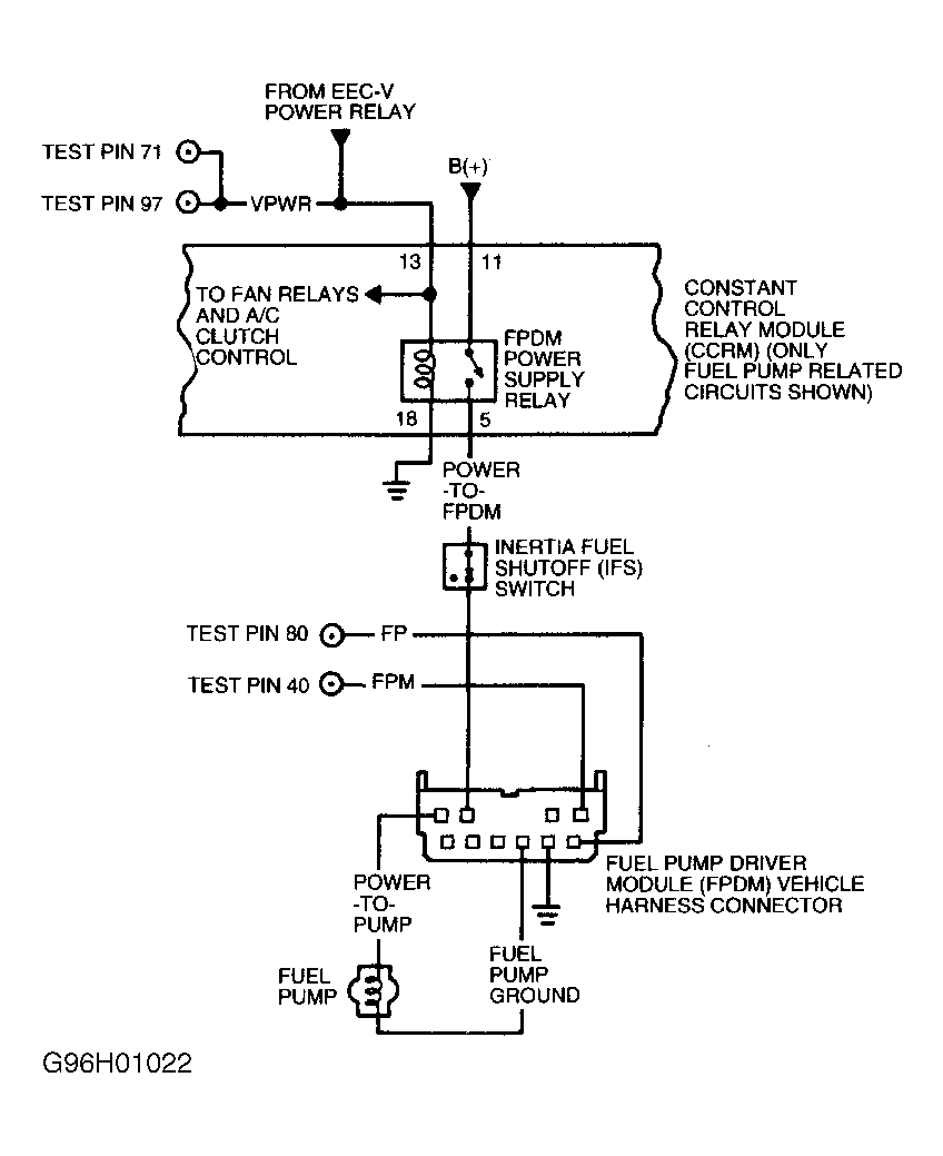
Fig 1: Fuel Pump Driver Module Test Circuit & Connector Terminals
G96H01022
  1. Step 1) DTC P1233 Or P1234  Turn ignition off. Connect scan tester to Data Link Connector (DLC). Turn ignition on. Using scan tester, access FPM PID. If FPM PID is 20-80 percent, go to step 25). If FPM PID is not 20-80 percent, go to next step.
  2. Step 2) If engine will start, go to step 15). If engine will not start, verify IFS switch is set and go to next step.
  3. Step 3) Turn ignition off. Disconnect FPDM wiring harness connector. Turn ignition on. Measure voltage between connector terminals GND and POWER-TO-FPDM. If voltage is 10.5 volts or more, replace FPDM and repeat QUICK TEST . If voltage is less than 10.5 volts, go to step 7).
    NOTE: A break in step numbering sequence occurs at this point. Procedure skips from step 3) to step 7). No test procedures have been omitted.
  4. Step 7) Leave ignition on and FPDM disconnected. Measure voltage between chassis ground and connector terminal POWER-TO-FPDM. If voltage 10.5 volts or more, repair open circuit and repeat QUICK TEST . If voltage is less than 10.5 volts, go to next step.
  5. Step 8) Turn ignition off. Leave FPDM disconnected. Disconnect CCRM. Measure voltage between chassis ground and terminal No. 11 (B+) of CCRM connector. If voltage is 10.5 volts or more, go to next step. If voltage is less than 10.5 volts, check power supply fuse to CCRM. If fuse is blown, check for short to ground in B+ and POWER-TO-FPDM circuits. If power supply fuse to CCRM is okay, repair open circuit to CCRM and repeat QUICK TEST .
  6. Step 9) Turn ignition off. Leave FPDM and CCRM disconnected. Disconnect scan tester (if applicable). Measure resistance between negative battery terminal and terminal No. 18 (GND) of CCRM connector. If resistance is 5 ohms or more, repair open circuit to CCRM and repeat QUICK TEST . If resistance is less than 5 ohms, go to next step.
  7. Step 10) Check POWER-TO-FPDM Circuit Continuity  Leave ignition off. Leave FPDM and CCRM disconnected. Measure resistance between POWER-TO-FPDM terminal of FPDM connector and terminal No. 5 of CCRM connector. If resistance is 5 ohms or more, go to step 13). If resistance is less than 5 ohms, reconnect FPDM and go to next step.
  8. Step 11) Check VPWR Circuit Continuity  Leave ignition off. Leave CCRM disconnected. Disconnect EEC-V power relay. Measure resistance between VPWR terminal of EEC-V power relay connector and terminal No. 13 (VPWR) of CCRM connector. See Fig 2. If resistance is 5 ohms or less, replace CCRM and repeat QUICK TEST . If resistance is more than 5 ohms, repair open in VPWR circuit between EEC-V power relay and CCRM.
    Fig 2: EEC-V Power Relay Connector Terminals
    G95F12612
    NOTE: A break in step numbering sequence occurs at this point. Procedure skips from step 11) to step 13). No test procedures have been omitted.
  9. Step 13) Isolate Open In POWER-TO-FPDM Circuit  Leave ignition off. Leave CCRM and FPDM disconnected. Disconnect IFS switch. Measure resistance between POWER-TO-FPDM terminal of IFS switch connector and terminal No. 5 of CCRM connector. Measure resistance between POWER-TO-FPDM terminal of FPDM connector and POWER-TO-FPDM terminal of IFS switch connector. If each resistance is 5 ohms or less, replace IFS switch and repeat QUICK TEST. If resistance more than 5 ohms, repair open circuit, repeat QUICK TEST .
    NOTE: A break in step numbering sequence occurs at this point. Procedure skips from step 13) to step 15). No test procedures have been omitted.
  10. Step 15) Check FPM Circuit  Turn ignition off. Disconnect FPDM wiring harness connector. Disconnect PCM wiring harness connector. Inspect pins for damage and repair as necessary. Install EEC-V Breakout Box (014-000950), leaving PCM disconnected. Measure resistance between test pin No. 40 (FPM) at breakout box and FPM terminal of FPDM connector. If resistance is 5 ohms or less, go to next step. If resistance is more than 5 ohms, repair open in FPM circuit and repeat QUICK TEST .
  11. Step 16) Leave FPDM disconnected. Turn ignition on. Measure voltage between test pin No. 40 and 51 (PWR GND) at breakout box. If voltage is one volt or less, go to next step. If voltage is more than one volt, repair FPM circuit short to power and repeat QUICK TEST .
  12. Step 17) Check FPM For Short To Ground  Leave FPDM disconnected. Turn ignition off. Disconnect scan tester from DLC (if applicable). Measure resistance between test pin No. 40 and test pins No. 51, 76 and 91 at breakout box. If each resistance measurement is 10,000 ohms or more, go to next step. If any resistance measurement is less than 10,000 ohms, repair circuit short to ground and repeat QUICK TEST .
  13. Step 18) Check FPM Output From FPDM  Reconnect FPDM. Turn ignition on. Measure voltage between test pins No. 40 and 51 (PWR GND) at breakout box. If voltage is 0.2-1.0 volt, replace PCM and repeat QUICK TEST. If voltage is not 0.2-1.0 volt, replace FPDM and repeat QUICK TEST .
    NOTE: A break in step numbering sequence occurs at this point. Procedure skips from step 18) to step 25). No test procedures have been omitted.
  14. Step 25) Check For Intermittent Short Or Open Circuit  Scan tester should be connected to DLC and in FPM PID. Observe FPM PID for indication of fault while lightly tapping on CCRM, FPDM and IFS switch. Fault will be indicated if FPM PID goes outside 20-80 percent range. Wiggle and bend all FPDM system related wiring harnesses and connectors. Lightly tap on CCRM, IFS switch and FPDM to simulate road shock. If any faults are found, isolate and repair as necessary. Repeat QUICK TEST . If no faults are found, problem cannot be duplicated at this time. Go to CIRCUIT TEST Z.
    NOTE: A break in step numbering sequence occurs at this point. Procedure skips from step 25) to step 30). No test procedures have been omitted.
  15. Step 30) DTC P0230, P1235 Or P1236  Turn ignition off. Connect scan tester to Data Link Connector (DLC). Turn ignition on. Using scan tester, access FPM PID. If FPM PID is not 20-30 percent, go to step 40). If FPM PID is 20-30 percent, go to next step.
  16. Step 31) Turn ignition off. Disconnect FPDM wiring harness connector. Disconnect PCM wiring harness connector. Inspect pins for damage and repair as necessary. Install EEC-V Breakout Box (014-000950), leaving PCM disconnected. Measure resistance between test pin No. 80 (FP) at breakout box and FP terminal of FPDM connector. If resistance is 5 ohms or less, go to next step. If resistance is more than 5 ohms, repair open in FP circuit and repeat QUICK TEST .
  17. Step 32) Check FP Circuit  Leave FPDM disconnected. Turn ignition on. Measure voltage between test pin No. 51 (PWR GND) and 80 (FP) at breakout box. If voltage is one volt or less, go to next step. If voltage is more than one volt, repair FP circuit short to power and repeat QUICK TEST .
  18. Step 33) Leave FPDM disconnected. Turn ignition off. Disconnect scan tester from DLC (if applicable). Measure resistance between test pin No. 80 and test pins No. 51, 76 and 91 at breakout box. If each resistance measurement is 10,000 ohms or more, go to next step. If any resistance measurement is less than 10,000 ohms, repair circuit short to ground and repeat QUICK TEST .
  19. Step 34) Check FP Circuit In PCM  Reconnect FPDM. Turn ignition on. Measure voltage between test pin No. 51 (PWR GND) and 80 at breakout box. If voltage is 4.5-5.5 volts, replace PCM and repeat QUICK TEST. If voltage is not 4.5-5.5 volts, replace FPDM and repeat QUICK TEST .
    NOTE: A break in step numbering sequence occurs at this point. Procedure skips from step 34) to step 40). No test procedures have been omitted.
  20. Step 40) Check For Intermittent Short Or Open Circuit  Scan tester should be connected to DLC and in FPM PID. Observe FPM PID for indication of fault while lightly tapping on CCRM, FPDM and IFS switch. Fault will be indicated if fuel pump is turned on. Also, FPM PID will be 20-30 percent range. Wiggle and bend all FPDM system related wiring harnesses and connectors. If any faults are found, isolate and repair as necessary. Repeat QUICK TEST . If no faults are found, problem cannot be duplicated at this time. Go to CIRCUIT TEST Z.
    NOTE: A break in step numbering sequence occurs at this point. Procedure skips from step 40) to step 47). No test procedures have been omitted.
  21. Step 47) DTC P1237 Or P1238  Turn ignition off. Connect scan tester to Data Link Connector (DLC). Turn ignition on. Using scan tester, access FPM PID. If FPM PID is 70-80 percent, hard fault is present; go to next step. If FPM PID is not 70-80 percent, fault is intermittent; go to step 57).
  22. Step 48) If engine will start, go to step 62). If engine will not start, go to next step.
  23. Step 49) Check Circuit Continuity  Turn ignition off. Disconnect scan tester (if applicable). Disconnect FPDM wiring harness connector. Measure resistance between FPDM connector terminals FUEL PUMP GROUND and POWER-TO-PUMP. If resistance is 10 ohms or more, go to step 54). If resistance is less than 10 ohms, go to next step.
  24. Step 50) Check Ground Circuit For Short To Power  Leave FPDM disconnected. Turn ignition on. Measure voltage between chassis ground and FUEL PUMP GROUND terminal at FPDM connector. If voltage is one volt or more, repair circuit short to power and repeat QUICK TEST . If voltage is less than one volt, go to next step.
  25. Step 51) Turn ignition off. Ensure scan tester is disconnected. Disconnect fuel pump wiring harness connector. Measure resistance between negative battery terminal and POWER-TO-PUMP terminal at FPDM connector. If resistance is 10,000 ohms or more, go to next step. If resistance is less than 10,000 ohms, repair circuit short to ground and repeat QUICK TEST .
  26. Step 52) Check For Power To Fuel Pump  Leave ignition off and fuel pump disconnected. Reconnect FPDM and scan tester. Turn ignition on for about 2 seconds (to operate fuel pump) while measuring voltage between fuel pump terminals at connector. Turn ignition off. If voltage is 10 volts or more when fuel pump is operating, replace fuel pump and repeat QUICK TEST. If voltage is less than 10 volts when fuel pump is operating, verify battery is full charged. If battery is okay, replace FPDM and repeat QUICK TEST .
    NOTE: A break in step numbering sequence occurs at this point. Procedure skips from step 52) to step 54). No test procedures have been omitted.
  27. Step 54) Isolate Open Circuit  Turn ignition off. Disconnect FPDM. Measure resistance of POWER-TO-PUMP circuit between fuel pump and FPDM connector. Measure resistance of FUEL PUMP GROUND circuit between fuel pump and FPDM connector. Measure internal resistance of fuel pump. If each resistance measurement is less than 10 ohms, no faults are present. Verify results of previous steps. If any resistance measurement 10 ohms or more, repair open circuit or replace fuel pump. Repeat QUICK TEST .
    NOTE: A break in step numbering sequence occurs at this point. Procedure skips from step 54) to step 57). No test procedures have been omitted.
  28. Step 57) Check Fuel Pump Secondary Circuit  Leave ignition on. Using scan tester, access Output Test Mode. Command outputs on (to activate fuel pump). Listen for fuel pump to activate. Listen to fuel pump for indication of fault while lightly tapping on fuel pump and FPDM. Fault will be indicated if fuel pump shuts off. Wiggle and bend POWER-TO-PUMP and FUEL PUMP GROUND circuit between fuel pump and FPDM. If any faults are found, isolate and repair as necessary. Repeat QUICK TEST . If no faults are found, problem cannot be duplicated at this time. Go to CIRCUIT TEST Z.
    NOTE: A break in step numbering sequence occurs at this point. Procedure skips from step 57) to step 60). No test procedures have been omitted.
  29. Step 60) Fuel Pump Always On; Check FPM PID  Turn ignition off. Connect scan tester to DLC. Turn ignition on. Using scan tester, access FPM PID. If FPM PID is 20-30 percent, go to step 31). If FPM PID is not 20-30 percent, go to next step.
  30. Step 61) Check Voltage To FPDM With Ignition Off  Turn ignition off. Disconnect FPDM wiring harness connector. Measure voltage between POWER-TO-FPDM terminal of FPDM connector and chassis ground. If voltage is less than 2.0 volts, go to next step. If voltage is 2.0 volts or more, go to step 65).
  31. Step 62) Check FPDM  Leave FPDM disconnected. Turn ignition on. Listen for fuel pump to activate. If fuel pump activates, repair POWER-TO-PUMP circuit short to power. If fuel pump does not activate, replace FPDM.
    NOTE: A break in step numbering sequence occurs at this point. Procedure skips from step 62) to step 65). No test procedures have been omitted.
  32. Step 65) Check Voltage To FPDM With CCRM Disconnected  Turn ignition off. Disconnect CCRM wiring harness connector. Measure voltage between POWER TO FPDM terminal of FPDM connector and chassis ground. If voltage is less than 2.0 volts, replace CCRM and repeat QUICK TEST . If voltage is 2.0 volts or more, repair POWER TO FPDM circuit short to power.