LEMON Manuals: Even more car manuals for everyone
Home >> Ford >> 1995 >> Crown Victoria Base >> Repair and Diagnosis >> Body & Frame >> Power Windows >> Component Testing >> Master Switch

Master Switch

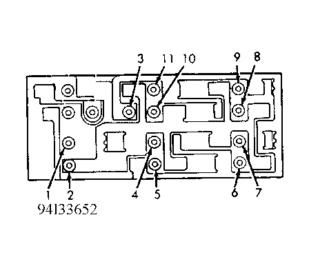
  1. With switch removed from vehicle, test with a self-powered test light or ohmmeter. Connect one test lead on terminal No. 3. See Fig 1 . With all switches in NEUTRAL position, continuity should exist between terminal No. 3 and terminals No. 4 through 11.
  2. Push all 4 window switches forward and hold in that position. Terminals No. 5, 7, 9 and 11 should lose continuity to terminal No. 3. Push all 4 window switches rearward and hold in that position. Terminals No. 4, 6, 8 and 10 should lose continuity to terminal No. 3.
  3. Remove test lead from terminal No. 3 and connect it to terminal No. 2. With all switches in NEUTRAL position, only terminal No. 1 should have continuity to terminal No. 2.
  4. Push all 4 switches forward and hold in that position. Terminals No. 5, 7, 9 and 11 should have continuity to terminal No. 2. Push all 4 switches rearward and hold in that position. Terminals No. 4, 6, 8 and 10 should have continuity to terminal No. 2.
  5. With lock-out switch in lock position. Terminal No. 2 should not have continuity with any other terminal. If any switch does not test as indicated, replace complete switch assembly.
Fig 1: Master Switch Terminal ID (Crown Victoria & Grand Marquis)
G94I33652Courtesy of FORD MOTOR CO.