LEMON Manuals: Even more car manuals for everyone
Home >> Ford >> 1994 >> Probe Base, Automatic >> Repair and Diagnosis (Single Page) >> Engine Performance >> System >> Engine Controls - Tests W/Codes - EEC-IV (2.0L) >> Circuit Tests >> Circuit Test X - Constant Control Relay Module (CCRM) >> Diagnostic Aids

Diagnostic Aids

CCRM interfaces with the EEC-IV system to provide control for cooling fan and A/C clutch. CCRM also contains EEC-IV power relay, which provides battery power (VPWR) to the Powertrain Control Module (PCM) and EEC-IV system.

Perform this test only when instructed by QUICK TEST or if directed by CIRCUIT TEST C, CIRCUIT TEST DC, CIRCUIT TEST PA or CIRCUIT TEST PB. This test is only intended to diagnose the following:

To prevent replacing good components, be aware the following non-EEC related components or systems may be at fault:

Fig 1: PCM & CCRM Connector (X1)
G93B28887

1) Check Battery Supply Voltage  Turn ignition on. Set DVOM on 20-volt scale. Measure voltage across battery terminals. If reading is less than 10.5 volts, recharge or replace battery. If reading is 10.5 volts or more, go to step 2).

2) Check Battery Ground  Leave ignition on. Measure voltage between negative battery terminal and SIG RTN circuit in Data Link Connector (DLC). If reading is less than .5 volt, go to step 6). If reading is .5 volt or more, go to step 3).

3) Isolate Ground Fault  Turn ignition off. Disconnect PCM 60-pin connector. Inspect wiring, and repair if damaged. Install breakout box. Connect PCM wiring harness to breakout box. Turn ignition on. Measure voltage between negative battery terminal and test pins No. 40 and 60. If either voltage reading is .5 volt or more, repair open ground circuit. Remove breakout box, and repeat QUICK TEST. If both readings are less than .5 volt, go to step 4).

4) PCM Ground Fault Isolation  Ensure ignition is off. Leave breakout box installed with PCM connected. Measure resistance between test pin No. 46 and test pins No. 40 and 60. If each resistance is 5 ohms or more, replace PCM. Remove breakout box, and repeat QUICK TEST. If both readings are less than 5 ohms, go to step 5).

5) Check Continuity Of SIG RTN Circuit  Turn ignition off. Disconnect PCM from breakout box. Measure resistance between test pin No. 46 and SIG RTN circuit at Data Link Connector (DLC). If reading is less than 5 ohms, system is okay. Remove breakout box, and reconnect PCM. Repeat QUICK TEST. If reading is 5 ohms or more, repair open SIG RTN circuit. Remove breakout box, and repeat QUICK TEST.

6) Measure Voltage & Ground To CCRM  Leave ignition off. Disconnect CCRM. Measure voltage between pins No. 8 and 15 at CCRM wiring harness connector.

7) Check Key Power To CCRM  Leave CCRM disconnected. Turn ignition on. Measure voltage between pins No. 13 and 15 at CCRM wiring harness connector. If reading is less than 10.5 volts, repair open between pin No. 13 and ignition switch. Reconnect CCRM, and repeat QUICK TEST. If reading is 10.5 volts or more, go to step 8).

8) Check Continuity Of VPWR Circuit  Turn ignition off. Disconnect PCM 60-pin connector. Inspect wiring, and repair if damaged. Install breakout box, leaving PCM disconnected. Measure resistance between test pins No. 37 and 57 at breakout box and pin No. 24 at CCRM wiring harness connector.

9) Check Continuity Of Power Ground To CCRM  Leave ignition off and CCRM disconnected. Measure resistance between CCRM harness connector pin No. 15 and negative battery terminal. If resistance is 5 ohms or more, repair open in ground circuit to CCRM harness connector pin No. 15. Repeat QUICK TEST. If reading is less than 5 ohms, repair open in battery positive to pin No. 8 of CCRM harness connector. Repeat QUICK TEST.

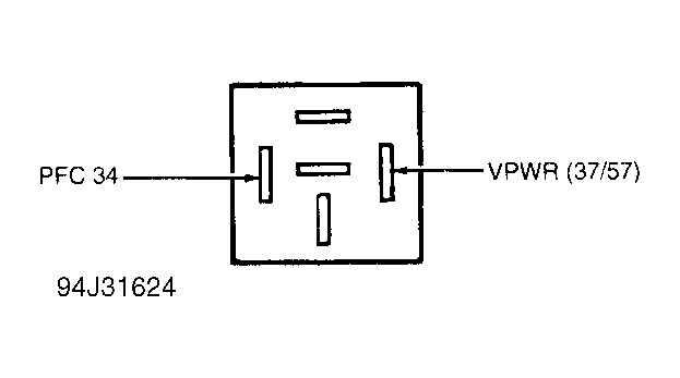
10) DTC Code 562: Check For Power to Pusher Fan Control (PFC)  Possible causes for DTC 562 are damaged circuit, PFC relay, or PCM. Turn ignition off. Disconnect PFC relay. Turn ignition on. Measure voltage between VPWR terminal of PFC relay wiring harness connector and negative battery terminal. If voltage is less than 10.5 volts, repair open in VPWR circuit to PFC relay. Repeat QUICK TEST. If voltage is 10.5 volts or more, go to next step.

Fig 2: PFC Wiring Harness Connector Terminal ID (X10)
G94J31624

11) Check PFC Relay  Turn ignition off. Leave PFC relay disconnected. Measure resistance between PFC relay terminals No. 85 and 86. Measure resistance between PFC relay terminal No. 85 and terminals No. 30 and 87. If resistance is 10,000 ohms or more, go to next step. If resistance is less than 10,000 ohms, replace PFC relay and repeat QUICK TEST.

Fig 3: PFC Relay Terminal ID (X11)
G94A31625

12) Check PFC Circuit  Leave ignition off and PFC relay disconnected. Turn ignition off. Disconnect PFC relay. Disconnect PCM 60-pin connector. Inspect wiring, and repair if damaged. Install breakout box, leaving breakout box disconnected. Turn ignition on. Measure voltage between test pins No. 34 and 40. If voltage is one volt or more, repair short circuit. Remove breakout box, and repeat QUICK TEST. If voltage is less than one volt, go to next step.

13)  Turn ignition off. Leave PFC relay and PCM disconnected. Measure resistance between test pins No. 34 and 40. If resistance is 10,000 ohms or more, go to next step. If resistance is less than 10,000 ohms, repair short circuit and repeat QUICK TEST.

14)  Leave ignition off. Measure resistance between PFC terminal of PFC relay wiring harness connector and test pin No. 34. If resistance is 5 ohms or more, repair open circuit and repeat QUICK TEST. If resistance is less than 5 ohms, replace PCM.

15) Code 563: Check HFC Relay Resistance  Code 563 indicates failed HFC circuit. Possible causes are damaged circuit, CCRM or PCM. Turn ignition off. Disconnect CCRM. Measure resistance of CCRM between terminals No. 17 and 24. If reading is not 50-100 ohms, replace CCRM and repeat QUICK TEST. If reading is 50-100 ohms, go to next step.

16) Check VPWR To CCRM  Leave CCRM disconnected. Turn ignition on. Measure voltage between CCRM wiring harness connector terminal No. 13 and negative battery terminal. If reading is less than 10.5 volts, repair open in VPWR circuit between EEC-IV power relay and CCRM. Repeat QUICK TEST. If reading is more than 10.5 volts, go to next step.

17) Check HFC Circuit Continuity  Turn ignition off. Disconnect PCM 60-pin connector. Inspect wiring, and repair if damaged. Install breakout box, leaving PCM disconnected. Disconnect CCRM connector. Measure resistance between breakout box HFC test pin and CCRM wiring harness connector terminal No. 17. See HFC TEST PIN IDENTIFICATION table. If reading is 5 ohms or less, go to next step. If resistance is more than 5 ohms, repair open in HFC circuit and repeat QUICK TEST.

HFC TEST PIN IDENTIFICATION

Application Test Pin No.
Probe 31

18) Check HFC Circuit For Short To Power  Leave CCRM and PCM disconnected. Turn ignition on. Measure voltage between HFC test pin at breakout box and negative battery terminal. If reading is more than one volt, repair short to power and repeat QUICK TEST. If Code 563 is still present, replace PCM. If reading is less than one volt, go to next step.

19) Check HFC Circuit For Short To Ground  With PCM and CCRM disconnected, measure resistance between HFC test pin and test pin No. 40 at breakout box. If reading is more than 10,000 ohms, replace PCM and repeat QUICK TEST. If resistance is 10,000 ohms or less, repair short to ground in HFC circuit and repeat QUICK TEST.

20) Code 564  If cooling fan is always on when ignition is on, go to step 24). If cooling fan is not always on when ignition is on, go to step 22).

21) Check VPWR To CCRM  Turn ignition off. Disconnect CCRM. Turn ignition on. Measure voltage between CCRM wiring harness connector terminal No. 13 and negative battery terminal. If voltage is more than 10.5 volts, go to next step. If voltage is 10.5 volts or less, repair open in VPWR circuit between EEC-IV power relay and CCRM.

22) Check FC/LFC Signal For Short To Ground  Turn ignition off. Disconnect PCM 60-pin connector. Inspect wiring, and repair if damaged. Install breakout box, leaving PCM disconnected. Disconnect CCRM connector and perform appropriate test:

Measure resistance between test pin No. 13 and test pin No. 40 or 60 at breakout box. If resistance is more than 10,000 ohms, go to step 23). If reading is 10,000 ohms or less, repair short to ground in FC/LFC circuit, and repeat QUICK TEST.

23) Check Fan Running Mode  With ignition off and breakout box installed, disconnect PCM and connect CCRM connector. Turn ignition on. If fan runs, replace PCM. Remove breakout box, and reconnect all components. Repeat QUICK TEST. If fan does not run, replace CCRM. Remove breakout box. Reconnect all components, and repeat QUICK TEST.

24) Check FC/LFC Circuit Continuity  Turn ignition off. Disconnect PCM 60-pin connector. Inspect connector for damaged pins, corrosion and loose wires. Repair as necessary. Install breakout box, leaving PCM disconnected. Disconnect CCRM connector. Set DVOM on 200-ohm scale, and perform appropriate test:

Measure resistance between test pin No. 13 at breakout box and terminal No. 14 at CCRM harness connector. If reading is 5 ohms or less, go to step 24). If reading is more than 5 ohms, repair open in FC/LFC circuit and repeat QUICK TEST.

25) Check FC/LFC Circuit For Short To Power  Turn ignition off. Install breakout box, leaving PCM disconnected. Disconnect CCRM connector. Set DVOM on 20-volt scale, turn ignition on and perform appropriate test:

Measure resistance between breakout box test pin No. 13 and negative battery terminal. If reading is less than one volt, go to step 26). If reading is one volt or more, repair short to power in FC/LFC circuit. Remove breakout box, and reconnect all components. Repeat QUICK TEST.

26) FC/LFC Circuit Fault Isolation Check  Leave ignition off. Connect CCRM to wiring harness connector. Turn ignition on. Using jumper wire, perform appropriate test:

Connect test pin No. 13 to test pin No. 40 or 60 at breakout box. If fan continues to run and Code 564 is present, go to step 150). If fan continues to run and Code 564 is not present, replace CCRM. Remove breakout box, and reconnect all components. Repeat QUICK TEST. If fan does not run, replace PCM. Remove breakout box. Reconnect all components, and repeat QUICK TEST.

27)  Go to next step.

28) Cooling Fan Always On  Turn all accessories off. Turn ignition on. If the pusher fan (located in front of radiator) is on, go to next step. If fan is not on, go to step 30).

29) Check Pusher Fan Control Relay  Turn ignition off. Disconnect Pusher Fan Control (PFC) relay. Turn ignition on. If the pusher fan is still on, repair circuit short to power. If fan is not on, replace PFC relay.

30) Fan Always On; Check CCRM-To-Fan Circuit  Turn ignition on. Turn all accessories off. Verify fan is always on. Turn ignition off. Disconnect CCRM. Turn ignition on. If fan is no longer on, replace CCRM and recheck system operation. If fan is still on, go to step 31).

31) Check Low Speed Power-To-Fan Circuit For Short To Power  Turn ignition off. Disconnect CCRM and fan connectors. Set DVOM to 20-volt scale. Measure voltage between terminal No. 1 at CCRM connector and negative battery terminal. If reading is less than one volt, repair short in high speed power-to-fan circuit. Reconnect all components. Recheck system operation. If reading is one volt or more, repair short in low speed power-to-fan circuit. Reconnect all components. Recheck system operation.

32) Check Dual Function A/C Pressure Switch (ACPSW)  Turn ignition off. Connect CCRM to wiring harness connector. Disconnect dual function ACPSW wiring harness connector. Start engine. If cooling fan is on, go to next step.

33) Check PCM  Turn ignition off. Disconnect CCRM and PCM wiring harness connectors. Turn ignition on. If cooling fan comes on, replace CCRM. If cooling fan does not come on, go to next step.

34) Check ACPSW For Short To Ground  Turn ignition off. Leave ACPSW and PCM wiring harness connectors disconnected. Measure resistance between ACPSW terminal of ACPSW wiring harness connector and negative battery terminal. If resistance is 10,000 ohms or more, replace PCM. If resistance is less than 10,000 ohms, repair ACPSW short to ground.

Fig 4: ACPSW Wiring Harness Connector Terminal ID (X12)
G94B31626

35) No Fan Operation  Turn ignition off. Disconnect CCRM. Connect negative probe of DVOM to negative battery terminal. Perform appropriate test:

Measure voltage between negative battery terminal and CCRM wiring harness connector terminals No. 3 and 4. If all readings are 10.5 volts or more, go to step 36). If any reading is less than 10.5 volts, repair open in battery power circuit. Reconnect CCRM, and recheck system operation.

36) Check Fan Motor Operation  Turn ignition off, and disconnect CCRM connector. Perform appropriate test:

Install a jumper wire between CCRM harness connector terminals No. 3 and 6. If cooling fan does not run, go to step 38). If cooling fan runs, go to step 37).

37) Check Fan Motor Operation  Turn ignition off. Disconnect CCRM. Install a jumper between terminals No. 3 and 6 at CCRM wiring harness connector. If fan does not run, go to step 40). If fan runs, go to step 41).

38) Check Battery Voltage At Fan With CCRM By-Passed  Turn ignition off. Disconnect cooling fan and CCRM connectors. Perform appropriate test:

Install a jumper wire between CCRM harness connector terminals No. 3 and 6. Measure voltage at cooling fan harness connector. If reading is less than 8 volts, go to step 39). If reading is 8 volts or more, replace cooling fan motor. Reconnect CCRM, and re-evaluate symptom.

39) Check Cooling Fan Ground Circuit  Turn ignition off. Disconnect cooling fan and CCRM connectors. Perform appropriate test:

Install a jumper wire between CCRM harness connector terminals No. 3 and 6. Measure voltage between cooling fan harness connector and negative battery terminal. If reading is 8 volts or more, repair open in ground circuit to fan. After repairs, reconnect CCRM and recheck system operation. If reading is less than 8 volts, repair open in power-to-fan circuit from CCRM wiring harness connector to cooling fan wiring harness connector.

40) Check Voltage At Fan With CCRM By-Passed  Turn ignition off. Disconnect cooling fan and CCRM connectors. Install a jumper wire between terminals No. 2 and 3 at CCRM wiring harness connector. Measure voltage at cooling fan wiring harness connector between power and ground terminals. If reading is more than 8 volts, replace fan motor. If reading is 8 volts or less, repair open circuit in power-to-fan circuit from terminals No. 1 and 2 of CCRM wiring harness connector to cooling fan wiring harness connector.

41) Check Fan Running Mode (Low Speed)  Turn ignition off. Disconnect PCM. Reconnect CCRM. Turn ignition on. If fan runs, go to step 43). If fan does not run, replace CCRM.

42) Check High Fan Control (HFC) Signal To Ground  Turn ignition off. Disconnect PCM 60-pin connector. Inspect pins and wiring, and repair if damaged. Install breakout box, leaving PCM disconnected. Ensure CCRM is connected. Turn ignition on. Perform appropriate test:

Install a jumper wire between test pins No. 31 and 40 at breakout box. If fan speed changes from low to high, go to step 44). If fan speed does not change from low to high, replace CCRM.

43) Check Continuity Of High Speed Power-To-Fan Circuit  Turn ignition off. Disconnect CCRM and 2-speed cooling fan. Measure resistance between terminal No. 1 and No. 12 of CCRM wiring harness connector. If resistance is less than 5 ohms, replace CCRM. If resistance is 5 ohms or more, repair open circuit and replace CCRM.

CAUTION: Ensure engine does not overheat during voltage drop procedure in step 44).

44) Check ECT Sensor  Turn ignition off. Check engine coolant level. With breakout box installed, connect PCM to breakout box. While measuring voltage between test pins No. 7 and No. 46 at break-out box, warm engine to normal operating temperature. Allow engine to continue at idle. If fan comes on during testing, fault is intermittent and cannot be duplicated at this time. Testing is complete. If fan does not come on during testing, and voltage drops below .45 volt, turn ignition off and replace PCM. If fan does not come on during testing and voltage does not drop below .45 volt, disconnect Engine Coolant Temperature (ECT) sensor connector. Check wires and sensor for high resistance. Verify system is operating properly. If system operation is okay, replace ECT sensor and remove breakout box. Reconnect all connectors and recheck system operation.

45) Cooling Fan Does Not Operate  If pusher fan operates, go to step 35). If pusher fan does not operate, turn ignition off. Disconnect Pusher Fan Control (PFC) relay. Measure voltage between PFC relay wiring harness connector B+ terminal and negative battery terminal. If 10.5 volts or more are present, go to step 47). If less than 10.7 volts are present, repair open in B+ circuit.

Fig 5: PFC Relay Wiring Harness Connector Terminal ID (X13)
G94C31627
NOTE: A break in step numbering sequence occurs at this point. Procedure skips from step 45) to step 47). No test procedures have been omitted.

47) Check Pusher Fan Ground Circuit  Turn ignition off. Disconnect PFC relay. Disconnect pusher fan. Measure resistance between ground terminal of pusher fan wiring harness connector and negative battery cable. If resistance is less than 5 ohms, go to next step. If resistance is 5 ohms or more, repair open in ground circuit.

48) Check Power-To-Pusher Fan Circuit Continuity  Turn ignition off. Disconnect PFC relay. Disconnect pusher fan. Measure resistance between Pusher-To-Power Fan terminal of PFC relay and Pusher-To-Power Fan terminal of pusher fan wiring harness connector. If resistance is less than 5 ohms, go to next step. If resistance is 5 ohms or more, repair open in Power-To-Pusher Fan circuit.

NOTE: A break in step numbering sequence occurs at this point. Procedure skips from step 48) to step 50). No test procedures have been omitted.

50) Low Or No Voltage At A/C Clutch  Turn ignition off. Disconnect A/C clutch connector and CCRM. Measure resistance between CCRM terminal No. 23 and power side of A/C clutch wiring harness connector. Measure resistance between CCRM terminal No. 26 and ground side of A/C clutch wiring harness connector. If each resistance is less than 5 ohms, go to next step. If either resistance is 5 ohms or more, repair open circuit.

51) Check A/C Switch Voltage To CCRM  Disconnect CCRM. Turn ignition on. Set A/C demand switch to ON position. Measure voltage between terminal No. 21 of CCRM wiring harness connector and negative battery terminal. If voltage is 10.5 volts or more, go to step 57). If voltage is less than 10.5 volts, go to step 54) for vehicles using R-12 refrigerant or step 52) for all others.

52) Check Voltage To A/C Pressure Switch (ACPSW)  Turn ignition off. Disconnect ACPSW. Turn ignition on. Set A/C demand switch to ON position. Measure voltage between A/C DEMAND SW CYCLIC PRESSURE SW and negative battery terminal. See Fig 6. If voltage is 10.5 volts or more, go to step 53). If voltage is less than 10.5 volts, go to step 54).

Fig 6: ACPSW Wiring Harness Connector Terminal ID (X15)
G94I31631

53) Check Continuity Between ACPSW & CCRM  Turn ignition off. Disconnect ACPSW and CCRM connector. Measure resistance between A/C Demand-to-CCRM terminal at ACPSW wiring harness connector and Terminal No. 21 of CCRM wiring harness connector. If resistance is less than 5 ohms, fault is intermittent and cannot be located at this time. If resistance is 5 ohms or more, repair open circuit.

54) Check Voltage To Cyclic Pressure Switch  Turn ignition off. Disconnect cyclic pressure switch. Turn ignition on. Set A/C demand switch to ON position. Set DVOM to 20-volt scale. Measure voltage between/C demand switch side of cyclic pressure switch wiring harness connector and negative battery terminal. If reading is 10.5 volts or more, go to step 55). If reading is less than 10.5 volts, EEC-IV system is okay. Remove breakout box, reconnect all components and diagnose A/C system.

55) Check Continuity Between Cyclic Pressure Switch &  ACPSW/CCRM. Turn ignition off. Leave ACPSW (if equipped) and CCRM disconnected. Measure resistance between A/C DEMAND TO CCRM terminal of the cyclic pressure switch wiring harness connector and terminal No. 21 of the CCRM wiring harness connector. If resistance is less than 5 ohms, EEC-IV system is okay. Remove breakout box, reconnect all components and diagnose A/C system. If resistance is 5 ohms or more, repair open circuit and re-evaluate symptom

NOTE: A break in step numbering sequence occurs at this point. Procedure skips from step 55) to step 57). No test procedures have been omitted.

57) Check A/C Demand Switch Voltage To PCM  Turn ignition off. Disconnect PCM 60-pin connector. Inspect connector for damaged pins and repair as necessary. Install breakout box, leaving PCM disconnected. Disconnect CCRM connector. Turn ignition on. Set A/C demand switch to ON position. Measure voltage between test pin No. 10 at breakout box and chassis ground. If reading is more than 10.5 volts, go to step 58). If reading is 10.5 volts or less, repair open circuit between ACCS and PCM. Reconnect all connectors and recheck system operation.

58) Check WAC Circuit For Short To Ground  Turn ignition off. Measure resistance between breakout box test pin No. 54 and chassis ground. If resistance is less than 10,000 ohms, repair short to ground in Wide Open Throttle A/C Cut-Off (WAC) circuit. If all readings are 10,000 ohms or more, go to step 62).

NOTE: A break in step numbering sequence occurs at this point. Procedure skips from step 58) to step 60). No test procedures have been omitted.

60) Check WAC Circuit Continuity  Ensure ignition is off and CCRM is disconnected. Install breakout box leaving PCM disconnected. Measure resistance between breakout box test pin No. 54 and CCRM wiring harness connector terminal No. 22. If reading is 5 ohms or less, go to step 61). If reading is more than 5 ohms, repair open in WAC circuit. Recheck system operation.

61) Check WAC Circuit For Short To Power  Turn ignition off. Leave breakout box installed and PCM disconnected. Turn ignition on. Measure voltage between breakout box test pin No. 54 and negative battery terminal. If reading is less than one volt, go to step 62). If reading is more than one volt, repair short to power in WAC circuit and recheck system operation.

62) Isolate Fault To PCM Or CCRM  Turn ignition off. Leave breakout box installed and PCM disconnected. Connect CCRM and A/C clutch connectors. Turn ignition on. Set A/C demand switch to ON position. Connect jumper wire between breakout box test pins No. 40 and 54. Disconnect and reconnect jumper wire several times while observing A/C clutch. If A/C clutch engages and disengages, and no A/C symptom is present, go to step 63). If A/C clutch engages and disengages, and no WAC symptom is present, replace PCM and recheck system operation. If A/C clutch does not engage and disengage, replace CCRM. Remove breakout box, reconnect all components and recheck system operation.

63) Check ECT & TP Inputs  Turn ignition off. Leave breakout box installed. Connect PCM to breakout box. Start engine. Set A/C demand switch to ON position. To check ECT input, connect jumper wire between breakout box test pins No. 7 and 40. See ECT SENSOR SPECIFICATIONS table. To check TP input, connect jumper wire between breakout box test pins No. 40 and 47. See TP SENSOR SPECIFICATIONS table. If specifications are not correct, replace PCM and repeat QUICK TEST. If specifications are correct, fault is intermittent and cannot be isolated.

ECT SENSOR SPECIFICATIONS

Temperature °F (°C) Volts
68 (20) 3.07
104 (40) 2.13
140 (60) 1.33
176 (80) .78
194 (90) .60
TP SENSOR SPECIFICATIONS

Throttle Angle (1) Volts
.50
10° .97
20° 1.44
30° 1.90
40° 2.37
50° 2.84
60° 3.31
70° 3.78
80° 4.24
(1) Values may vary by 15 percent.
NOTE: A break in step numbering sequence occurs at this point. Procedure skips from step 63) to step 65). No test procedures have been omitted.

65) Check ACPSW Input  Turn ignition off. Turn A/C control switch off. Disconnect ACPSW wiring harness connector. Connect jumper wire between ACPSW and GND terminal of ACPSW wiring harness connector. See Fig 6. If high speed fan does not come on, go to next step. If high speed fan does come on, circuit is okay; diagnose A/C system. 66) Check Ground Circuit To ACPSW

Leave engine running and ACPSW disconnected. Connect jumper wire between ACPSW terminal of ACPSW wiring harness connector and negative battery terminal. If high speed fan does not come on, go to next step. If high speed fan does come on, repair open ground circuit to ACPSW.

67) Check ACPSW Circuit Continuity To PCM  Turn ignition off. Leave ACPSW disconnected. Disconnect PCM 60-pin connector. Inspect connector for damaged pins and repair as necessary. Install breakout box, leaving PCM disconnected. Measure resistance between ACPSW terminal of ACPSW wiring harness connector and test pin No. 22 at breakout box. If resistance is less than 5 ohms, replace PCM and re-evaluate symptom. If resistance is 5 ohms or more, repair open circuit and re-evaluate symptom.

68) Check ACPSW Circuit Continuity To PCM  Leave ignition off and ACPSW disconnected. Disconnect CCRM. Measure resistance between ACPSW terminal of ACPSW wiring harness connector and test pin No. 17 of the CCRM wiring harness connector. If resistance is less than 5 ohms, go to step 160). If resistance is 5 ohms or more, repair open circuit and re-evaluate symptom.

69) Check High Speed Fan Operation  Turn ignition off. Leave ACPSW and CCRM disconnected. Connect jumper wire between CCRM terminals No. 3 and 6. If fan comes on, replace CCRM. If fan does not come on, check for continuity between CCRM and cooling fan and repair as necessary. If circuit is okay, replace cooling fan.

70) Code 556 Or 557  Code 556 indicates fuel pump primary circuit failure. Code 557 indicates low speed fuel pump primary circuit failure. Following are possible causes for this fault.

Turn ignition off. Disconnect CCRM wiring harness connector. Perform appropriate procedure.

Measure resistance between terminal No. 18 and No. 24 at CCRM wiring harness connector. If resistance is not 65-120 ohms, replace CCRM and repeat QUICK TEST. If resistance is 65-120 ohms, go to step 73).

71) Check Voltage To Fuel Pump Relay  Turn ignition off. Disconnect CCRM. Turn ignition on. Measure voltage between CCRM wiring harness connector pin No. 10 and negative battery terminal. If voltage is more than 10.5 volts, go to step 73). If voltage is 10.5 volts or less, ensure Inertia Fuel Shutoff (IFS) switch has not tripped. If okay, repair IGNITION START/RUN circuit between ignition switch and CCRM.

72) Check Power To CCRM  Leave CCRM disconnected. Turn ignition on. Measure voltage between CCRM wiring harness connector pin No. 13 and negative battery terminal. If voltage is more than 10.5 volts, go to step 73). If voltage is 10.5 volts or less, repair open circuit between EEC-IV power relay and CCRM.

73) Check Continuity Of Fuel Pump Circuit  Turn ignition off. Leave CCRM disconnected. Disconnect PCM 60-pin connector. Inspect wiring, and repair if damaged. Install breakout box, leaving PCM disconnected. Measure resistance between terminal No. 18 at CCRM wiring harness connector and test pin No. 22 at breakout box.

74) Check Fuel Pump Circuit For Short To Power  Leave PCM and CCRM disconnected. Turn ignition on. Measure voltage between test pin No. 22 at breakout box and negative battery terminal. If voltage is less than 1.0 volt, go to step 75). If voltage is 1.0 volt or more, repair short to power and repeat QUICK TEST.

75) Check Fuel Pump Circuit For Short To Ground  Leave PCM and CCRM disconnected. Measure resistance between test pin No. 22 at breakout box and negative battery terminal. If resistance is 10,000 ohms or more, replace PCM and repeat QUICK TEST. If resistance is less than 10,000 ohms, repair fuel pump circuit short to ground and repeat QUICK TEST.

NOTE: A break in step numbering sequence occurs at this point. Procedure skips from step 75) to step 80). No test procedures have been omitted.

80) Code 542  Code 542 indicates one of the following conditions.



Test lights and DVOM are useful during diagnosis. For example: with Continuous Memory Code 556 (fuel pump primary circuit failure) and a surge or stall symptom, connect a test light to fuel pump relay between VPWR and ground. Connect DVOM between FP circuit at fuel pump relay and breakout box test pin No. 1. Under normal driving conditions, test light will be on and DVOM will read battery voltage.

If vehicle stalls, PCM will open FP circuit and DVOM voltage will be low. If fault is in fuel pump circuit, test light and DVOM status will change as fault occurs. If test light at VPWR circuit goes out, fault is in VPWR circuit to fuel pump relay. If test light and DVOM status do not change and Continuous Memory Code 556 is set again, replace fuel pump relay. If only FP voltage goes low, fault is in FP circuit or PCM. To diagnose FP circuit and PCM, connect DVOM between breakout box test pin No. 1 and 22. If voltage goes low as symptom occurs, replace PCM. If voltage stays high as symptom occurs, fault is in FP circuit. For fuel pump secondary circuit Codes 95/542 and 96/543, circuits B+, POWER-TO-PUMP and FPM can be diagnosed using same procedure.

Drive vehicle and attempt to induce symptom. Information provided by vehicle operator may help when trying to recreate symptom. When symptom occurs, assistant should observe and record changes in voltage signals. Information about symptom and operating condition value of voltage signal and any other information available should be recorded for analysis. If unable to duplicate symptom during road test, verify EEC-IV values are within acceptable range. After test is completed, analyze results to locate and repair fault causing symptom. If problem cannot be identified, see the article TESTS W/O CODES - EEC-IV (2.0L) in the ENGINE PERFORMANCE section for other possible causes of symptom.

NOTE: A break in step numbering sequence occurs at this point. Procedure skips from step 120) to step 130). No test procedures have been omitted.

130) Diagnostic Trouble Code 381  Continuous Memory Code indicates excessive A/C compressor clutch cycling (more than once every 8.5 seconds). Possible causes are mechanical problems such as low refrigerant, damaged cyclic pressure switch, etc. If fault is indicated, locate and repair as necessary. If no fault is indicated, go to next step.

131) Check For Intermittent Open Between Electronic Automatic Temperature Control (EATC) Module & PCM Terminal No. 10  Turn ignition off. Disconnect 60-pin PCM connector. Inspect terminals, and repair if damaged. Install EEC-IV Breakout Box (T83L-50-EEC-IV), leaving PCM disconnected. Connect a non-powered test light between test pins No. 10 and 40. Turn ignition on. Test light should come on. Check for indication of fault (test light goes off) while performing one of following:

If fault is indicated, isolate and repair as necessary. Repeat QUICK TEST. If fault is not indicated, problem is intermittent and cannot be duplicated or identified at this time.

Fig 1: CCRM Test Circuit (X19)
G94A31633
NOTE: A break in step numbering sequence occurs at this point. Procedure skips from step 131) to step 140). No test procedures have been omitted.

140) Check Continuity Of High Speed Power To Fan Circuits  Turn ignition off. Disconnect cooling fan and CCRM wiring harness connectors. Measure resistance between CCRM wiring harness connector terminals No. 1 and 12. If resistance is less than 5 ohms, repair open in high speed to power fan circuit and re-evaluate symptom. If resistance is 5 ohms or more, repair open in high speed to power fan circuit and go to next step.

141) Verify operation Of HFC Relays  Turn ignition off. Leave CCRM disconnected. Connect jumper wire between CCRM terminal No. 13 and positive battery terminal. Connect another jumper wire between CCRM terminal No. 17 and negative battery terminal. Measure resistance between CCRM terminal No. 4 and terminals No. 1 and 2. If resistance is less than 5 ohms, both HFC relays are okay. Reconnect all components and re-evaluate symptom. If resistance is 5 ohms or more, replace CCRM.

NOTE: A break in step numbering sequence occurs at this point. Procedure skips from step 141) to step 150). No test procedures have been omitted.

150) Check HFC Circuit For Short To Ground  Ensure ignition is off. With, measure resistance between test pin No. 40 and HFC test pin at breakout box. See Figure. If resistance is less than 10,000 ohms, repair short to ground in HFC circuit. If resistance is more than 10,000 ohms, replace CCRM.

NOTE: A break in step numbering sequence occurs at this point. Procedure skips from step 150) to step 155). No test procedures have been omitted.

155) Check A/C Pressure Switch (ACPSW)  Ensure ignition is off and breakout box is installed with PCM disconnected. Ensure ACPSW and CCRM wiring harness connectors are disconnected. Measure resistance between test pins No. 31 and 40. If resistance is now greater than 10,000 ohms, check ACPSW for correct operation and repair as necessary. If resistance is less than 10,000 ohms, repair short to ground in HFC circuit.

NOTE: A break in step numbering sequence occurs at this point. Procedure skips from step 155) to step 160). No test procedures have been omitted.

160) Check ACPSW Relay Primary Circuit For Open In CCRM  Turn ignition off. Ensure ACPSW and CCRM wiring harness connectors are disconnected. Measure resistance between CCRM pins No. 17 and 24. If resistance is 50-100 ohms, no fault is present at this time. Connect components and re-evaluate symptom. If resistance is not 50-100 ohms, replace CCRM.

NOTE: A break in step numbering sequence occurs at this point. Procedure skips from step 160) to step 165). No test procedures have been omitted.

165) Diagnostic Trouble Code (DTC) 557  DTC 557 indicates a low speed fuel pump primary circuit failure. Possible causes are as follows:

Turn ignition is off. Disconnect LFP relay. Turn ignition on. Measure voltage between VPWR terminal of LFP relay wiring harness connector and negative battery terminal. See Fig 2. If 10.5 volts or more are present, go to next step. If less than 10.5 volts are present, repair open in VPWR circuit between CCRM and LFP relay.

Fig 2: LFP Wiring Harness Connector Terminal (X20)
G94B31634

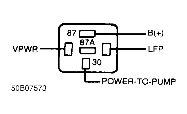
166) Check LFP Relay  Turn ignition off. Leave LFP relay disconnected. Measure resistance between fuel pump relay terminals LFP and VPWR. See Fig 3. Resistance should be 40-85 ohms. Measure resistance between fuel pump relay terminal LFP and terminals PUMP-TO-POWER and B+. Both measurements should be 10,000 ohms or more. If all resistances are correct, go to next step. If all resistances are not correct, replace LFP relay.

Fig 3: Fuel Pump Relay Terminal (X21)
G50B07573

167) Check LFP Relay For Shot To Power  Leave ignition off and LFP relay disconnected. Disconnect 60-pin PCM connector. Inspect terminals, and repair if damaged. Install EEC-IV Breakout Box (T83L-50-EEC-IV), leaving PCM disconnected. Turn ignition on. Measure voltage between breakout box test pin No. 32 and negative battery terminal. If less than one volt is present, go to next step. If one volt or more is present, repair short to power and repeat QUICK TEST.

168) Check Circuit For Short To Ground  Turn ignition off. Leave LFP relay disconnected. Measure resistance between breakout box test pins No. 40 and 60. If resistance is 10,000 ohms or more go to next step. If resistance is less than 10,000 ohms, repair short to ground and repeat QUICK TEST.

169) Check LFP Circuit Continuity  Turn ignition off. Leave LFP relay disconnected. Measure resistance between breakout box test pin No. 32 and LFP terminal at LFP relay wiring harness connector. If resistance is 5 ohms or more, repair open circuit and repeat QUICK TEST. If resistance is less than 5 ohms, replace PCM.