LEMON Manuals: Even more car manuals for everyone
Home >> Ford >> 1993 >> Probe Base, Standard >> Repair and Diagnosis >> Engine Performance >> System >> Engine Controls - System/Component Tests - EEC-IV >> Ignition System >> Pinpoint Test F >> Viewing Ignition System Secondary Display

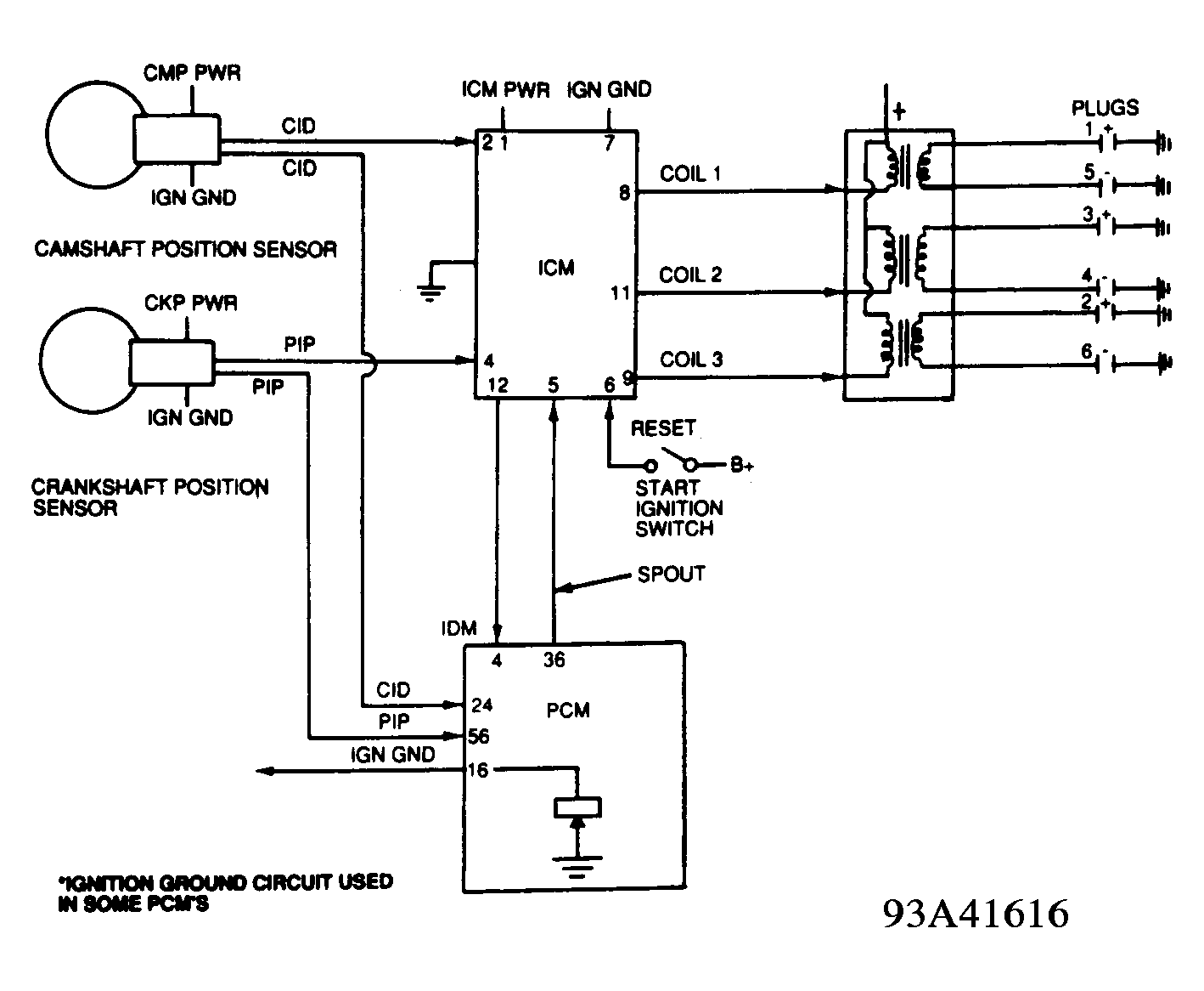
Viewing Ignition System Secondary Display

Connect engine analyzer to view parade display of ignition system secondary. While slowly increasing engine speed from idle to 2000 RPM, compare engine analyzer display to illustrations. See Figure. Illustrations shown are for a 4-cylinder engine but are typical for all EI engines.