LEMON Manuals: Even more car manuals for everyone
Home >> Ford >> 1993 >> Probe Base, Automatic >> Repair and Diagnosis >> Engine Performance >> System >> Engine Controls - Basic Testing - 4-CYL >> Ignition Checks >> Electronic Ignition (EI) (Low Data Rate) System >> Spark Output Check

Spark Output Check

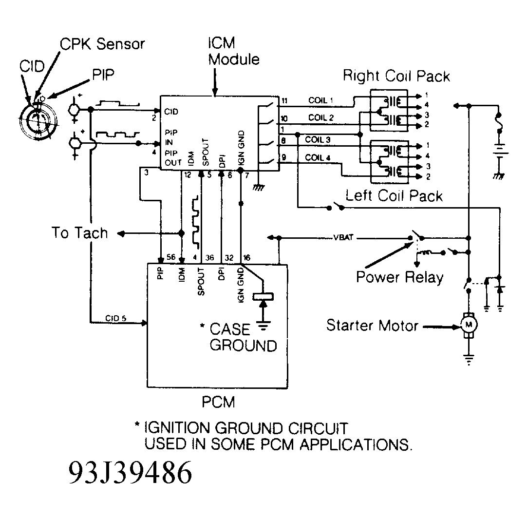
  1. Check the EI (low data rate) system (formally Distributorless Ignition System - DIS) for fault codes and repair if necessary. See QUICK TEST in TESTS W/CODES - EEC-IV article in the ENGINE PERFORMANCE Section. If no fault codes are retrieved, check ignition system wiring harness connectors for corrosion and tight fit. See Fig 1 . Clean or repair connectors as necessary.
  2. If wiring and connectors are okay, use Neon Bulb Spark Tester (D89P-6666-A) to check for spark at each spark plug wire while cranking engine. If spark is consistent and equal at each spark plug (one spark per crankshaft revolution), ignition system is okay. If spark is not present, go to IGNITION SYSTEMS in SYSTEM/COMPONENT TESTS - ECC-IV article in the ENGINE PERFORMANCE Section.
Fig 1: Electronic Ignition (EI) System (Low Data Rate) Electrical Diagram (2.3L)
G93J39486Courtesy of FORD MOTOR CO.