LEMON Manuals: Even more car manuals for everyone
Home >> Ford >> 1990 >> Bronco II 4WD, Standard, M5OD-R1 >> Repair and Diagnosis >> Engine Performance >> System >> Engine Controls - Tests W/Codes >> Test H - Fuel Control >> Test H - Introduction

Test H - Introduction

NOTE: For fuel pressure specifications, see FUEL PRESSURE SPECIFICATIONS article.
NOTE: Perform this test when Code 41, 91, 42, 92, 43, 65, 85, 86 or 93 is displayed during QUICK TEST or when directed here by other test procedures.
NOTE: See General Pinpoint Test Notes at beginning of pinpoint tests before performing this test. Fuel contaminated engine oil may affect Codes 41, 91, 42, or 92. If this is suspected, remove PCV valve from valve cover and repeat QUICK TEST. If problem is corrected, change engine oil and filter.
NOTE: Use this test to diagnose only the following components:
TRUCK - INDIVIDUAL INJECTOR RESISTANCE (1)

Engine Ohms
2.3L 15.0-18.0
All Others 13.0-16.0
(1) Resistance values are for a single injector.
TRUCK INJECTOR BANK RESISTANCE

Engine Ohms
2.3L PFI 7.0-9.5
2.9L & 4.9L PFI 5.0-6.5
5.0L, 5.8L & 7.5L PFI 3.0-4.0
TEST PIN WIRE COLOR IDENTIFICATION

Application Wire Color
Pin 29 (Right HEGO) Tan/Orange
Pin 43 (Left HEGO) Tan/Red
Pin 58
2.3L & 2.9L Light Green/White
All Others Tan/Orange
Test Pin No. 59 Tan/Red
Fig 1: 5.0L & 5.0L MA PFI Test Schematic
G90H12440
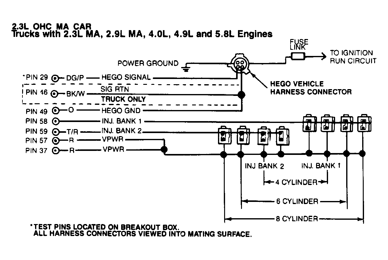
Fig 2: 2.3L MA, 2.9L MA, 4.0L, 4.9L & 5.8L PFI (Truck) Schematic
G90I12441
Fig 3: Test Schematic For All Other PFI Engines
G90J12442
NOTE: KOER Codes 41 and 91 are HEGO codes that indicate the system is always lean. KOER Codes 42 and 92 indicate the system is always rich. For vehicles equipped with dual HEGO's Codes 41 and 42 refer to Right (rear) HEGO sensors. Codes 91 and 92 refer to Left (front) HEGO sensors.