LEMON Manuals: Even more car manuals for everyone
Home >> Ford >> 1989 >> Probe GL, Automatic >> Repair and Diagnosis >> Engine Performance >> System >> 2.2L Systems/Tests W/Codes >> Circuit Tests >> Circuit Test C1 - Fuel Control

Circuit Test C1 - Fuel Control

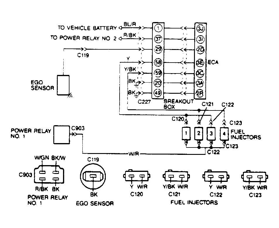
Fig 1: Fuel Control Circuits
G108511
NOTE: Enter this test only when a Code 17 is displayed during the QUICK TEST procedure or when directed here from another CIRCUIT TEST. To prevent replacement of good components, be aware that the following non-EEC items may be faulty: fuel quantity and quality, fuel lines, intake air cleaner and duct, intercooler (turbo models), ignition components or intake manifold and gaskets. This test is intended to diagnose only the following: injector circuits, injector drivers (internal ECA) and EGO sensor circuits.
  1. Checking System Integrity  - Visually check all wiring, harnesses, connectors and components for evidence of damage, overheating, shorting or looseness. If a fault is found, repair as necessary. If no faults are found, go to next step.
  2. Checking EGO Sensor Sensitivity  - This step requires Ford Motor Co. SUPER STAR II Tester and Adapter Cable (007-00036). Connect adapter cable to Self-Test (STO) connector and ground. Leave STI connector open (not grounded). Warm up engine and run at idle. Increase engine speed to 2500 RPM. If monitor light on tester flashes 8 times in 10 seconds, go to step 5). If not, go to next step.
  3. Check For Air Leaks  - Inspect inlet air system for leaks. If any leaks are present in the inlet tract, service or repair as necessary. If not, go to next step.
  4. Check EGO Sensor  - With key off, inspect EGO sensor circuit for damage, broken wire or faulty connectors. Remove EGO sensor and inspect for contamination. If EGO sensor or circuit is okay, go to next step. If not, service or replace as necessary.
  5. Inspect Spark Plugs  - With key off, remove spark plugs and inspect for excessive carbon build-up or damage. If sparks plugs are okay, go to next step. If not, service or replace as necessary.
  6. Checking EGO Sensor Output  - Warm up engine and run at idle. Set VOM on 5-volt scale. Disconnect EGO sensor. Measure voltage between EGO sensor connector (sensor side) and ground. Increase engine speed to 4000-4500 RPM until voltmeter reads 0.7 volt. Rapidly decrease and increase engine speed while reading voltmeter. When engine speed is decreasing, voltage should be 0-0.4 volt. When engine speed is increasing, voltage should be 0.5-1.0 volt. If both voltages are okay, go to next step. If voltage does not meet specifications, go to CIRCUIT TEST D3  , step 1).
  7. Check EGO Switching Voltage  - With EGO sensor connected, install breakout box. Warm up engine and run at idle. Set VOM on 5-volt scale. Measure voltage between test pins No. 29 and 49 at breakout box. Increase engine speed to 4000-4500 RPM until voltmeter reads 0.7 volt. Rapidly decrease and increase engine speed while reading voltmeter. When engine speed is decreasing, voltage should be 0-0.4 volt. When engine speed is increasing, voltage should be 0.5-1.0 volt. If both voltages are okay, go to next step. If voltage does not meet specifications, repair EGO sensor wire harness.
  8. Checking Injector Drive Signal  - With breakout box installed, connect standard 12-volt non-powered test light between test pins No. 58 and 37 at the breakout box. Crank or start engine. Repeat test between test pins No. 37 and 59 at the breakout box. Observe the following test results:
    • Dim glow in both tests. Go to step 11).
    • No light in either test. Go to next step.
    • Bright light in one or both tests. Go to step 10).
  9. Check ECA Power  - Connect breakout box and set VOM on 20-volt scale. Disconnect ECA. With KOEO, measure voltage between test pins No. 1 and 20 (ground), and between test pins No. 37 and 20 (ground). If all readings are greater than 10 volts, replace ECA. If not, go to CIRCUIT TEST B12  , step 1).
  10. Checking Injector Circuit For Shorts  - Install breakout box. Disconnect battery and ECA. Set VOM on 200k-ohm scale. At breakout box, measure resistance between test pin No. 59 and test pins No. 37, 20, 40, 1, and 49. Measure resistance between test pin No. 58 and test pins No. 37, 20, 40, 1, and 49. If any resistance is less than 10k ohms, repair shorts to ground or VPWR in harness, as necessary. If no resistance readings are less than 10k ohms, replace ECA.
  11. Checking Injector Balance  - Connect test tachometer. Disconnect ISC at connector. Run engine at 2000 RPM. Disconnect and reconnect injectors one at a time. Note RPM drop for each injector. If each injector produces an RPM drop of at least 150 RPM, go to next step. If not, replace faulty injector.
  12. Checking Deceleration Fuel Cut-Off  - Install breakout box, leave ECA connected. With engine at idle, connect a non-powered 12-volt test light between test pins No. 58 and 37. Increase engine speed to 4000 RPM. Decrease engine speed rapidly. Repeat test between test pins No. 59 and 37. If light flashes at idle but is off during deceleration between 2000 and 4000 RPM, system is okay, return to DIAGNOSTIC ROUTINES  . If test light does not flash as specified, replace ECA.