LEMON Manuals: Even more car manuals for everyone
Home >> Ford >> 1989 >> Probe GL, Automatic >> Repair and Diagnosis >> Engine Performance >> System >> 2.2L Systems/Tests W/Codes >> Circuit Tests >> Circuit Test B2 - Engine Coolant Temperature Sensor

Circuit Test B2 - Engine Coolant Temperature Sensor

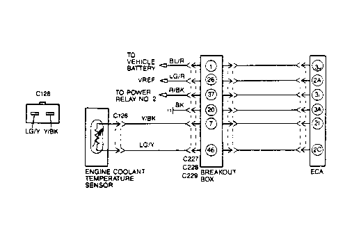
Fig 1: ECT Sensor Circuits
G108494
NOTE: Enter this test only when a Code 09 is displayed during the QUICK TEST procedure or when directed here from another CIRCUIT TEST. To prevent replacement of good components, be aware that the following non-EEC components may be at fault: coolant level, oil level, obstructed airflow to radiator, engine not at normal operating temperature, cooling fan, and thermostat. This test is intended to diagnose only the following ECT components: ECT sensor, ECT and Signal Return circuits, vehicle harness and ECA.
  1. Checking System Integrity  - Visually check all wiring, harnesses, connectors and components for evidence of damage, overheating, shorting or looseness. If a fault is found, repair as necessary. If no faults are found, go to next step.
  2. Checking ECT Resistance  - With key off, install breakout box and set VOM on 200k-ohm scale. Leave ECA disconnected. Measure resistance between test pins No. 7 and 46. Compare resistance to specifications shown in ECT SENSOR RESISTANCE  table. If resistance is within specification, go to next step. If resistance is not to specification, go to step 6).
    ECT SENSOR RESISTANCE

    Temperature: °F (°C) Ohms
    -4° (-15°) 14,500-17,800
    68° (20°) 2200-2700
    140° (60°) 500-640
    176° (80°) 280-350
  3. Checking ECT Voltage  - Install breakout box, set VOM on 20-volt scale and turn key on. Measure voltage between test pins No. 7 and 46. Compare voltage to specifications shown in ECT VOLTAGE CHECK  table. If both voltage readings are within specification, ECT signal is okay. Replace ECA. If ECT does not meet specification, go to next step.
    ECT VOLTAGE CHECK

    Temperature °F (°C) Volts
    Normal Operating Temperature 0.3-0.6
    68° (20°) 2.5
  4. Checking For Short Between ECT & ECA  - Ensure key is off. Disconnect battery negative (-) cable and install breakout box. Set VOM on 200-ohm scale. Measure resistance between the following test pins:
    • Test pins No. 7 and 1
    • Test pins No. 7 and 26
    • Test pins No. 7 and 37
    • Test pins No. 7 and 20 (ground)
    • Test pins No. 46 and 1
    • Test pins No. 46 and 26
    • Test pins No. 46 and 37
    If any resistance is less than 5 ohms, repair shorted circuit. If all circuits have a resistance of 5 ohms or more, go to next step.
  5. Checking Signal Return  - With key off, install breakout box and set VOM on 200-ohm scale. Measure resistance between test pins No. 46 and 20 (ground). If resistance is less than 5 ohms, replace ECA. If resistance is 5 ohms or more, go to next step.
  6. Checking Open Circuits Between ECA & ECT  - With key off, install breakout box. Set VOM on 200-ohm scale. Measure resistance between test pin No. 7 and "Y/BK" wire at ECT sensor. Measure resistance between test pin No. 46 and "LG/Y" wire at ECT sensor. If both resistances are less than 5 ohms, go to next step. If either resistance is 5 ohms or more, repair open circuit as necessary.
  7. Checking ECT Sensor Resistance  - With key off, disconnect sensor. Set VOM on 200k-ohm scale. Measure resistance across ECT sensor. If resistance is within specification, repair short in wires. If resistance is not to specification, replace ECT.
ECT SENSOR RESISTANCE

Temperature °F (°C) Ohms
-4° (-15°) 14,500-17,800
68° (20°) 2200-2700
140° (60°) 500-640
176° (80°) 280-350