LEMON Manuals: Even more car manuals for everyone
Home >> Ford >> 1989 >> Probe GL, Automatic >> Repair and Diagnosis >> Engine Performance >> System >> 2.2L Systems/Tests W/Codes >> Circuit Tests >> Circuit Test A1 - Ignition Pulse

Circuit Test A1 - Ignition Pulse

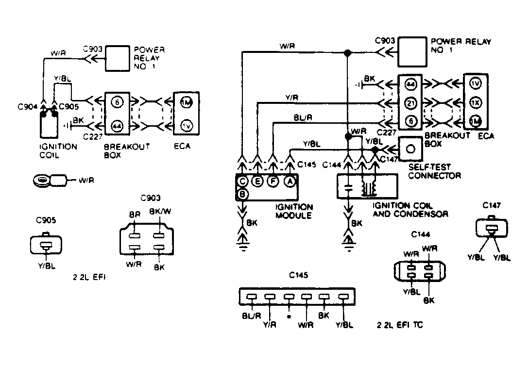
Fig 1: Ignition Circuits
G108489
NOTE: Enter this test only when Code 01 is displayed during QUICK TEST procedures. This test will not diagnose ignition problems. This test is intended to diagnose only the following: spark (EEC controlled), and electrical circuits (PIP, ignition ground and VPWR). To prevent replacement of good components, be aware that the following non-EEC components may be faulty: fuel quality and quantity, ignition mechanical components and engine mechanical components.
NOTE: Turbo engines start at step 1), non-turbo engines start at step 14).
  1. Checking System Integrity (Turbo Engines)  - Visually check all wiring, harnesses, connectors and components for evidence of damage, overheating, shorting or looseness. If a fault is found, repair as necessary. If no faults are found, go to next step for Turbo engines or step 14) for non-turbo engines.
  2. Checking Coil Spark  - Connect a spark tester between coil secondary wire and ground. Crank engine. If spark jumps spark tester, check for spark at plugs and return to DIAGNOSTIC ROUTINES  . If spark does not jump tester air gap, go to next step.
  3. Coil Pulse Check  - DO NOT  disconnect coil or pierce wire. Connect test light between coil Yellow/Blue wire and ground. Crank engine. If test lamp flashes, go to step 12). If test light stays on, go to step 7). If test light stays off, go to next step.
  4. Check Power to Coil  - With KOEO and DVOM set on 20-volt scale, measure voltage between coil White/Red wire and ground. If voltage is 10 volts or more, go to next step. If voltage is less than 10 volts, go to step 6).
  5. Coil Ground Check  - With key off, set DVOM on 200-ohm scale. Measure resistance between coil ground "BK" wire and ground. If resistance is less than 5 ohms, return to DIAGNOSTIC ROUTINES  . If resistance is not less than 5 ohms, repair open in "BK" wire to ground.
  6. Checking Power to Power Relay No. 1  - DO NOT  disconnect relay or pierce wire. Set DVOM on 20-volt scale and turn key on. Measure voltage between No. 1 power relay "W/R" wire and ground. If voltage is greater than 10 volts, repair "W/R" wire from coil to relay. If voltage is 10 volts or less, go to CIRCUIT TEST B12  , step 1).
  7. Checking Tach Connector Pulse  - Connect test light between TACH connector and ground. Crank engine. If test light flashes, repair "Y/BL" wire from tach connector to coil. If test light does not flash, go to next step.
    CAUTION: Ensure correct test connector is used. Tach connector has Yellow/Blue wires. The STI and Fuel Pump test connectors are located in the same area.
    Fig 2: TACH Test Connector Location (Turbo Engines)
    G108490
  8. Ignition Module Pulse Check  - DO NOT  disconnect module or pierce wire. Connect test light between ignition module terminal "A" ("Y/BL" wire) and ground. Crank engine. If test light flashes, repair "Y/BL" wire between ignition module and TACH test connector. If test light does not flash, go to next step.
  9. Checking Power to Ignition Module  - Set DVOM on 20-volt scale and turn ignition on. Measure voltage between ignition module terminal "C" ("W/R" wire) and ground. If voltage is greater than 10 volts, go to next step. If voltage is 10 volts or less, go back to step 6).
  10. Checking Ignition Module Ground Circuit  - Turn key off, set DVOM on 200-ohm scale. Measure resistance between ignition module terminal "B" ("BK" wire) and ground. If resistance is less than 5 ohms, go to next step. If resistance is greater than 5 ohms, repair "BK" wire from ignition module to ground.
  11. Checking Ignition Module Pulse  - DO NOT  disconnect module or pierce wire. Set DVOM on 5-volt scale. Crank engine. Measure voltage between ignition module terminal "E" ("Y/R" wire) and ground. If voltage is 0.6-1.0 volt, return to DIAGNOSTIC ROUTINES  . If voltage is not 0.6-1.0 volt, go to next step.
  12. Checking SPOUT Signal  - Install breakout box. Set DVOM on 5-volt scale. Turn key on and crank engine. Measure voltage between test pins No. 21 and 44 (ground) at breakout box. If voltage is about zero volts with key on and 0.6-0.8 volt while cranking, repair "Y/R" wire from ECA to ignition module. If voltage is not as specified, go to next step.
  13. Checking PIP Circuit Continuity  - Turn key off and install breakout box. Set DVOM on 200-ohm scale. Turn key off and install breakout box. Set DVOM on 200-ohm scale. Measure resistance between test pin No. 6 and ignition module terminal "F" ("BL/R" wire). Measure resistance between test pins No. 6 and 44 (ground). If resistance between test pin No. 6 and ignition module is less than 5 ohms and the resistance between test pins No. 6 and 44 (ground) is greater than 5 ohms, replace ECA. If resistance is not as specified, repair "BL/R" wire from ECA to ignition module.
  14. Checking System Integrity (Non-Turbo Engines)  - Visually check all wiring, harnesses, connectors and components for evidence of damage, overheating, shorting or looseness. If a fault is found, repair as necessary. If no faults are found, go to next step.
  15. Checking Coil (Negative) Pulse  - Connect test light between ignition coil (-) "Y/BL" wire and ground. Crank engine. If test light flashes, go to step 17). If test light does not flash, go to next step.
  16. Checking Voltage at Coil Positive (+)  - Set DVOM on 20-volt scale and turn key on. Measure voltage between ignition coil positive (+) "W/R" wire and ground. If voltage is greater than 10 volts, ensure there is 6 volts at coil negative (-) and go to step 18). If coil positive (-) is 10 volts or less, go back to step 6).
  17. Checking PIP Signal  - Install breakout box. Connect test light between test pins No. 6 and 20 (ground). Crank engine. If test light flashes, go to step 19). If light does not flash, repair "Y/BL" wire from ECA to coil.
  18. Checking Distributor Pulse  - Ensure distributor is connected. DO NOT  pierce wire. Connect test light between distributor "Y/BL" wire and ground. Crank engine. If test light flashes, repair "Y/BL" wire from distributor to coil. If test light does not flash, go to DIAGNOSTIC ROUTINES  .
  19. Check Spark at Plugs  - Connect spark tester between plug wire (at each plug) and ground. Crank engine. If spark jumps tester air gap, ensure ignition timing is within specification. If not, adjust and rerun QUICK TEST. If timing cannot be adjusted to specification, replace ECA. If spark does not jump tester, go to DIAGNOSTIC ROUTINES  .