LEMON Manuals: Even more car manuals for everyone
Home >> Eagle >> 1993 >> Vision ESi >> Repair and Diagnosis (Single Page) >> Engine Performance >> System >> Engine Controls - Tests W/Codes - Body Control Computer >> Connector Identification >> Body Control System Connectors

Body Control System Connectors

NOTE: For terminal identification of body control system connectors, see Fig 1 -Fig 6 . Connector terminal numbers are molded into connectors. If connector terminal identification differs from what is shown in figure, use wire colors to ensure correct circuit is being tested. For wiring diagrams, see WIRING DIAGRAMS at the end of this article.
Fig 1: Body Controller Connector Terminal ID
G93C40602Courtesy of CHRYSLER CORP.
Fig 2: CCD Bus (Data Link) Diagnostic Connector Terminal ID
G93J40591Courtesy of CHRYSLER CORP.
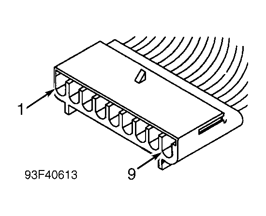
Fig 3: Message Center Connector Terminal ID
G93F40613Courtesy of CHRYSLER CORP.
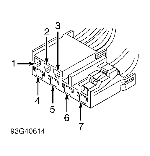
Fig 4: Multifunction Switch 7-Pin Connector Terminal ID
G93G40614Courtesy of CHRYSLER CORP.
Fig 5: Remote Keyless Entry (RKE) Module Connector Terminal ID
G93A40618Courtesy of CHRYSLER CORP.
Fig 6: Single Board Engine Controller (SBEC) Connector Terminal ID
G92I05780Courtesy of CHRYSLER CORP.