LEMON Manuals: Even more car manuals for everyone
Home >> Eagle >> 1992 >> Premier ES >> Repair and Diagnosis >> Engine Performance >> System >> Engine Controls - Tests W/Codes >> Connector Identification

Connector Identification

CONNECTOR IDENTIFICATION DIRECTORY

Connector See Fig.
A/C Control Module Fig 2
Automatic Idle Speed Motor Fig 3
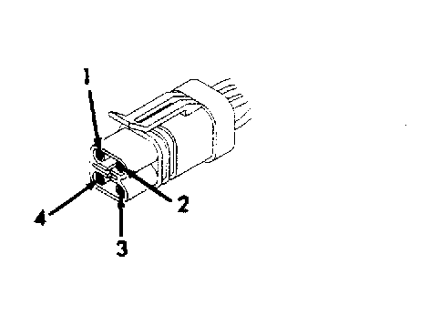
Camshaft Position Sensor Fig 4
Charge Temperature Sensor Fig 5
Coolant Temperature Sensor Fig 6
Crankshaft Position Sensor Fig 7
Distance Sensor Fig 8
Distance Sensor Buffer Module Fig 9
EGR Solenoid Fig 10
Engine Diagnostic Fig 11
Fuel Injector Fig 12
Fuel Pump Fig 13
Ignition Coil Fig 14
MAP Sensor Fig 15
Oxygen Sensor Fig 16
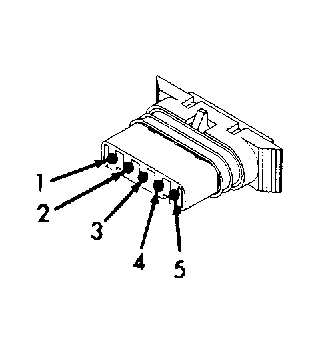
Relays Fig 1
SBEC Fig 17
Throttle Position Sensor Fig 18
Fig 1: A/C Clutch, Auto Shutdown, Fuel Pump, Radiator Fan & Starter Relay Conn. Term. ID
G92E04439Courtesy of CHRYSLER MOTORS.
Fig 2: A/C Control Module Connector Terminal ID
G92G04440Courtesy of CHRYSLER MOTORS.
Fig 3: Automatic Idle Speed Motor Connector Terminal ID
G92I04441Courtesy of CHRYSLER MOTORS.
Fig 4: Camshaft Position Sensor Connector Terminal ID
G92A04442Courtesy of CHRYSLER MOTORS.
Fig 5: Charge Temperature Sensor Connector Terminal ID
G92C04443Courtesy of CHRYSLER MOTORS.
Fig 6: Coolant Temperature Sensor Connector Terminal ID
G92E04444Courtesy of CHRYSLER MOTORS.
Fig 7: Crankshaft Position Sensor Connector Terminal ID
G92H04445Courtesy of CHRYSLER MOTORS.
Fig 8: Distance Sensor Connector Terminal ID
G92J04446Courtesy of CHRYSLER MOTORS.
Fig 9: Distance Sensor Buffer Module Connector Terminal ID
G92B04447Courtesy of CHRYSLER MOTORS.
Fig 10: EGR Solenoid Connector Terminal ID
G92D04448Courtesy of CHRYSLER MOTORS.
Fig 11: Engine Diagnostic Connector Terminal ID
G92F04449Courtesy of CHRYSLER MOTORS.
Fig 12: Fuel Injector Connector Terminal ID
G92H04450Courtesy of CHRYSLER MOTORS.
Fig 13: Fuel Pump Connector Terminal ID
G92J04451Courtesy of CHRYSLER MOTORS.
Fig 14: Ignition Coil Connector Terminal ID
G92B04452Courtesy of CHRYSLER MOTORS.
Fig 15: MAP Sensor Connector Terminal ID
G92D04453Courtesy of CHRYSLER MOTORS.
Fig 16: Oxygen Sensor Connector Terminal ID
G92F04454Courtesy of CHRYSLER MOTORS.
Fig 17: Single Board Engine Controller (SBEC) 60-Pin Conn. Term. ID
G92I04455Courtesy of CHRYSLER MOTORS.
Fig 18: Throttle Position Sensor Connector Terminal ID
G92A04456Courtesy of CHRYSLER MOTORS.