LEMON Manuals: Even more car manuals for everyone
Home >> Eagle >> 1989 >> Premier ES >> Repair and Diagnosis >> Engine Performance >> System >> 3.0L Systems/Tests W/Codes >> Diagnostic Trouble Codes >> Fault 1013 - Ignition Control Module Line High

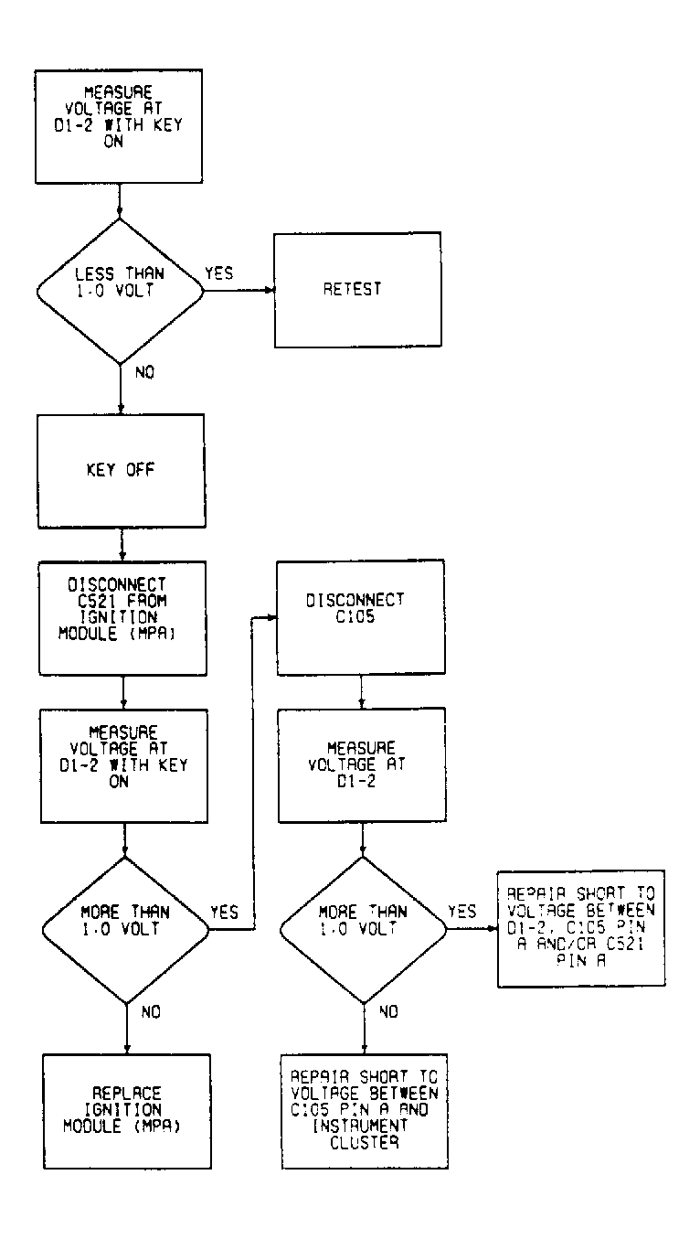
Fault 1013 - Ignition Control Module Line High

Fig 1: Fault 1013 - Ignition Control Module Line High Schematic
G108363Courtesy of CHRYSLER MOTORS
Fig 2: Fault 1013 - Flow Chart
G108364Courtesy of CHRYSLER MOTORS