LEMON Manuals: Even more car manuals for everyone
Home >> Dodge and Ram >> 2011 >> Durango Express, AWD >> Repair and Diagnosis >> External Pages >> Different car >> Section 237 ((Front Control Module (FCM) - Electrical Diagnostics)) >> Diagnosis and Testing >> C1405-Transfer Case Range Position Sensor Circuit High >> Diagnostic Test

Diagnostic Test

WARNING: This page is about a different car, the 2011 RAM Dakota. However, it is still accessible from the selected car via links, so may be relevant.
  1. CHECK THE T-CASE POSITION SENSOR VOLTAGE ABOVE 4.8 VOLTS 
    NOTE:

    If both DTCs C140B and C1405 are present, check fuse 8 and fuse 42 in the Integrated Power Module (IPM) before continuing with diagnosis.

    1. Ignition on, engine not running.
    2. With the scan tool under Data Display, read the T-Case Position Sensor voltage.

      Is the voltage above 4.8 volts?

      Yes 

      • Go To  2.

      No 

      • Go To  8.
  2. (T103) 5 VOLT SUPPLY CIRCUIT SHORTED TO VOLTAGE 
    Fig 1: Checking 5 Volt Supply Circuit Voltage
    GC0113589Courtesy of CHRYSLER LLC
    1. Turn the ignition off to the lock position
    2. Disconnect the Shift Motor/Mode Sensor connector.
    3. Ignition on, engine not running.
    4. Measure the voltage of the (T103) 5 Volt Supply circuit.

      Is the voltage above 5.5 volts?

      Yes 

      No 

      • Go To  3.
  3. (D201) MODE SENSOR A CIRCUIT SHORTED TO VOLTAGE 
    Fig 2: Checking Mode Sensor A Circuit Shorted To Voltage
    GC0113594Courtesy of CHRYSLER LLC
    1. Measure the voltage of the (D201) Mode Sensor A circuit.

      Is the voltage above 5.5 volts?

      Yes 

      No 

      • Go To  4.
  4. SHIFT MOTOR/MODE SENSOR ASSEMBLY 
    Fig 3: Checking Shift Motor/Mode Sensor Assembly
    GC0113595Courtesy of CHRYSLER LLC
    1. Turn the ignition off to the lock position
    2. Connect a jumper wire between the (G180) FCM Sensor Return circuit and the (D201) Mode Sensor A circuit in the Shift Motor/Mode Sensor harness connector.
    3. Ignition on, engine not running.
    4. With the scan tool under Data Display, read the T-Case Position Sensor voltage.
      NOTE:

      Remove the jumper wire before continuing.

      Is the voltage below 0.2 of a volt?

      Yes 

      • Replace the Shift Motor/Mode Sensor assembly in accordance with the Service Information.
      • Perform the TRANSFER CASE VERIFICATION TEST. Refer to TRANSFER CASE VERIFICATION TEST .

      No 

      • Go To  5.
  5. (D201) MODE SENSOR A CIRCUIT OPEN 
    Fig 4: Checking Mode Sensor A Circuit Open
    GC0113596Courtesy of CHRYSLER LLC
    1. Turn the ignition off to the lock position
    2. Disconnect the FCM C1 harness connector.
    3. Measure the resistance of the (D201) Mode Sensor A circuit between the FCM C1 harness connector and the Shift Motor/Mode Sensor harness connector.

      Is the resistance above 5.0 Ohms?

      Yes 

      No 

      • Go To  6.
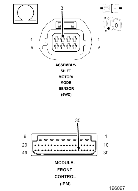
  6. (G180) FCM SENSOR RETURN CIRCUIT OPEN 
    Fig 5: Checking FCM Sensor Return Circuit Open
    GC0113597Courtesy of CHRYSLER LLC
    1. Measure the resistance of the (G180) FCM Sensor Return circuit between the Shift Motor/Mode Sensor harness connector and the FCM IPM harness connector.

      Is the resistance above 5.0 Ohms?

      Yes 

      • Go To  7.

      No 

      • Replace the Front Control Module in accordance with the Service information.
      • Perform the TRANSFER CASE VERIFICATION TEST. Refer to TRANSFER CASE VERIFICATION TEST .
  7. (G180) FCM SENSOR RETURN CIRCUIT OPEN (IPM) 
    Fig 6: Checking FCM Sensor Return Circuit Open
    GC0113598Courtesy of CHRYSLER LLC
    1. Disconnect the Integrated Power Module C1 harness connector.
    2. Measure the resistance of the (G180) FCM Sensor Return circuit between the Shift Motor/Mode Sensor harness connector and the Integrated Power Module C1 harness connector.

      Is the resistance above 5.0 Ohms?

      Yes 

      No 

      • Replace the Integrated Power Module in accordance with the Service information.
      • Perform the TRANSFER CASE VERIFICATION TEST. Refer to TRANSFER CASE VERIFICATION TEST .
  8. INTERMITTENT WIRING AND CONNECTORS 
    1. The conditions necessary to set this DTC are not present at this time.
    2. Using the wiring diagram/schematic as a guide, inspect the wiring and connectors.
    3. While monitoring the scan tool data relative to this circuit, wiggle test the wiring and connectors.
    4. Look for the data to change or for the DTC to reset during the wiggle test.

      Were any problems found?

      Yes 

      No 

      • Test complete.