LEMON Manuals: Even more car manuals for everyone
Home >> Dodge and Ram >> 2011 >> Durango Express, AWD >> Repair and Diagnosis >> External Pages >> Different car >> Section 237 ((Front Control Module (FCM) - Electrical Diagnostics)) >> Diagnosis and Testing >> B106B-Rear Defrost Control Circuit Low >> Diagnostic Test

Diagnostic Test

WARNING: This page is about a different car, the 2011 RAM Dakota. However, it is still accessible from the selected car via links, so may be relevant.
  1. TEST FOR INTERMITTENT CONDITION 
    1. Turn the ignition on.
    2. Using a scan tool, record and erase Diagnostic Trouble Codes (DTCs).
    3. Operate the Rear Window Defogger and the HVAC controls.
    4. Cycle the ignition from on to off three times and leave on.
    5. Using a scan tool, read DTCs.

      Does the scan tool display: B106B-REAR DEFROST CONTROL CIRCUIT LOW?

      Yes 

      • Go To  2.

      No 

      • The conditions that caused this code to set are not present at this time. Using the wiring diagram/schematic as a guide, inspect the wiring and connectors.
      • Perform the BODY VERIFICATION TEST. Refer to BODY VERIFICATION TEST .
  2. CHECK FOR OPEN IPM FUSE #59 
    Fig 1: Checking For Open IPM Fuse #59
    GC0113505Courtesy of CHRYSLER LLC
    1. Inspect IPM Fuse #59.

      Is the fuse open?

      Yes 

      • Go To  3.

      No 

      • Go To  6.
  3. REPLACE AND RECHECK IPM FUSE #59 
    Fig 2: Checking For Open IPM Fuse #59
    GC0113505Courtesy of CHRYSLER LLC
    1. Turn the ignition off.
    2. Install a new IPM Fuse #59.
    3. Turn the ignition on.
    4. Operate the Rear Window Defogger and the HVAC controls.
    5. Inspect IPM Fuse #59.

      Is the fuse open?

      Yes 

      • Go To  4.

      No 

      • Using the wiring diagram/schematic as a guide, inspect the wiring and connectors for the cause of the open fuse and repair as necessary.
      • Perform the BODY VERIFICATION TEST. Refer to BODY VERIFICATION TEST .
  4. CHECK FOR A SHORTED REAR WINDOW DEFOGGER RELAY 
    1. Turn the ignition off.
    2. Install a known good relay in place of the Rear Window Defogger Relay.
    3. Install a new IPM Fuse #59.
    4. Turn the ignition on.
    5. Operate the Rear Window Defogger and the HVAC controls.
    6. Inspect IPM Fuse #59.

      Is the fuse open?

      Yes 

      • Go To  5.

      No 

      • Replace the original Rear Window Defogger Relay in accordance with the Service Information.
      • Perform the BODY VERIFICATION TEST. Refer to BODY VERIFICATION TEST .
  5. CHECK (F504) FUSED IGNITION SWITCH OUTPUT (RUN) CIRCUIT FOR A SHORT TO GROUND 
    Fig 3: Checking Fused Ignition Switch Output (Run) Circuit For A Short To Ground
    GC0113506Courtesy of CHRYSLER LLC
    1. Turn the ignition off.
    2. Remove IPM Fuse #59.
    3. Remove the replacement Rear Window Defogger Relay.
    4. Disconnect the IPM C5 connector.
      NOTE:

      Check connectors. Clean and repair as necessary.

    5. Measure the resistance of the (F504) Fused Ignition Switch Output (Run) circuit between ground and the IPM Fuse #59 connector.

      Is the resistance below 10K Ohms?

      Yes 

      • Replace the Integrated Power Module (IPM) and Fuse #59 in accordance with the Service Information. Reinstall the original Rear Window Defogger Relay.
      • Perform the BODY VERIFICATION TEST. Refer to BODY VERIFICATION TEST .

      No 

      • Repair the (F504) Fused Ignition Switch Output (Run) Circuit to the HVAC controls for a short to ground. Replace IPM Fuse #59. Reinstall the original Rear Window Defogger Relay.
      • Perform the BODY VERIFICATION TEST. Refer to BODY VERIFICATION TEST .
  6. CHECK (F921) IGNITION SWITCH OUTPUT (RUN) CIRCUIT FOR AN OPEN 
    Fig 4: Checking Ignition Switch Output (Run) Circuit For An Open
    GC0113507Courtesy of CHRYSLER LLC
    1. If not done previously, turn the ignition off, and then remove IPM Fuse #59.
    2. Turn the ignition on.
    3. Using a 12-volt test light connected to ground, check the (F921) Ignition Switch Output (Run) circuit at IPM Fuse #59 connector.
      NOTE:

      The test light must illuminate brightly. Compare the brightness to that of a direct connection to the battery.

      Does the test light illuminate brightly?

      Yes 

      • Go To  7.

      No 

      • Repair the (F921) Ignition Switch Output (Run) circuit for an open.
      • Perform the BODY VERIFICATION TEST. Refer to BODY VERIFICATION TEST .
  7. CHECK (F504) FUSED IGNITION SWITCH OUTPUT (RUN) CIRCUIT FOR AN OPEN 
    Fig 5: Checking Fused Ignition Switch Output (Run) Circuit For An Open
    GC0113508Courtesy of CHRYSLER LLC
    1. Turn the ignition off.
    2. Remove the Rear Window Defogger Relay.
    3. Reinstall IPM Fuse #59.
    4. Turn the ignition on.
    5. Using a 12-volt test light connected to ground, check the (F504) Fused Ignition Switch Output (Run) circuit at the Rear Window Defogger Relay connector.
      NOTE:

      The test light must illuminate brightly. Compare the brightness to that of a direct connection to the battery.

      Does the test light illuminate brightly?

      Yes 

      • Go To  8.

      No 

      • Replace the Integrated Power Module (IPM) in accordance with the Service Information.
      • Perform the BODY VERIFICATION TEST. Refer to BODY VERIFICATION TEST .
  8. CHECK FOR AN OPEN REAR WINDOW DEFOGGER RELAY 
    1. Turn the ignition off.
    2. Install a known good relay in place of the Rear Window Defogger Relay.
    3. Turn the ignition on.
    4. Using a scan tool, erase DTCs.
    5. Operate the Rear Window Defogger several times.
    6. Cycle the ignition from on to off three times and leave on.
    7. Using a scan tool, read DTCs.

      Does the scan tool display the same DTC?

      Yes 

      • Go To  9.

      No 

      • Replace the original Rear Window Defogger Relay in accordance with the Service Information.
      • Perform the BODY VERIFICATION TEST. Refer to BODY VERIFICATION TEST .
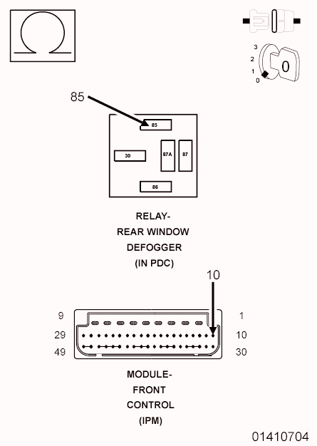
  9. CHECK (C115) DEFOGGER RELAY CONTROL CIRCUIT FOR AN OPEN 
    Fig 6: Checking Defogger Relay Control Circuit For An Open
    GC0113509Courtesy of CHRYSLER LLC
    1. Turn the ignition off.
    2. Remove the replacement Rear Window Defogger Relay.
    3. Disconnect the FCM from the Front Control Module IPM 49-way connector.
    4. Measure the resistance of the (C115) Defogger Relay Control circuit between the Rear Window Defogger Relay connector and the Front Control Module IPM 49-way connector.

      Is the resistance below 5.0 Ohms?

      Yes 

      • Go To  10.

      No 

      • Replace the Integrated Power Module (IPM) in accordance with the Service Information.
      • Perform the BODY VERIFICATION TEST. Refer to BODY VERIFICATION TEST .
  10. CHECK (C115) DEFOGGER RELAY CONTROL CIRCUIT FOR A SHORT TO GROUND 
    Fig 7: Checking Defogger Relay Control Circuit For A Short To Ground
    GC0113510Courtesy of CHRYSLER LLC
    1. Measure the resistance of the (C115) Defogger Relay Control circuit between ground and the Rear Window Defogger Relay connector.

      Is the resistance below 10K Ohms?

      Yes 

      • Replace the Integrated Power Module (IPM) in accordance with the Service Information.
      • Perform the BODY VERIFICATION TEST. Refer to BODY VERIFICATION TEST .

      No 

      • Replace the Front Control Module (FCM) in accordance with the Service Information.
      • Perform the BODY VERIFICATION TEST. Refer to BODY VERIFICATION TEST .