LEMON Manuals: Even more car manuals for everyone
Home >> Dodge and Ram >> 2009 >> Durango Hybrid >> Repair and Diagnosis >> Engine Performance >> Ignition System >> (Front Control Module (FCM) - Electrical Diagnostics) >> DTC Troubleshooting >> B211F-Ignition Run/Acc/Pad Control Circuit High >> Wiring Diagram

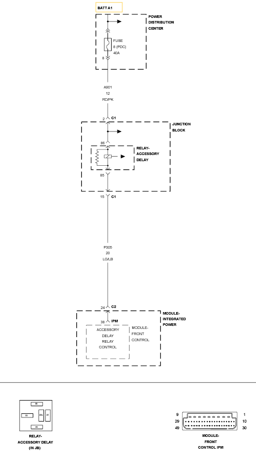
B211F-Ignition Run/Acc/Pad Control Circuit High: Wiring Diagram

Fig 1: Ignition RUN/ACC/PAD Control Circuit
GC0106203Courtesy of CHRYSLER LLC

For complete wiring diagrams, refer to SYSTEM WIRING DIAGRAMS .