LEMON Manuals: Even more car manuals for everyone
Home >> Chrysler >> 2010 >> PT Cruiser >> Repair and Diagnosis >> Restraints >> Restraints Control Systems >> Occupant Classification Module (OCM) - Electrical Diagnostics >> DTC Troubleshooting >> U1419-Implausible Data Received From OCS Sensor 3 - Left Front >> Circuit Schematic

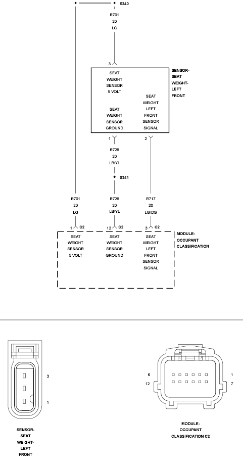
Circuit Schematic

Fig 1: Left Front Seat Weight Sensor Circuit Schematic
GC0101823Courtesy of CHRYSLER LLC