Diagnostic Test
WARNING: This page is about a different car, the 2010 Dodge Avenger and 2010 Chrysler Sebring. However, it is still accessible from the selected car via links, so may be relevant.
- CHECK IF THE DTC IS CURRENT
- Start the engine in park.
- Raise the drive wheels off of the ground.WARNING: Properly support the vehicle.
- Firmly apply the brakes and place the transmission selector in drive.WARNING: Be sure to keep hands and feet clear of rotating wheels.
- Release the brakes and allow the drive wheels to spin freely.NOTE: The drive wheels must be turning at this point.
- With the scan tool, read the Output rpm
Is the Output rpm below 100?
Yes
- Go to step 2
No
- Go to step 8
- CHECK THE PCM AND WIRING USING THE TRANSMISSION SIMULATOR
- Turn the ignition off to the lock position.
- Remove the Ignition Switch Feed fuse from the TIPM.CAUTION: Removal of the Ignition Switch Feed fuse from the TIPM will prevent the vehicle from being started in gear.WARNING: The Ignition Switch Feed fuse must be removed from the TIPM. Failure to do so can result in possible serious or fatal injury.
- Install the Transmission Simulator, Miller tool #8333A and the Electronic Transmission Adapter kit.
- Ignition on, engine not running.
- With the Transmission Simulator, set the "Input/Output Speed" switch to "ON" and the rotary switch to the "3000/1250" position.
- With the scan tool, read the Input and Output rpm.
Does the Input rpm read 3000 and the Output rpm read 1250 (± 50 rpm)?
Yes
- Replace the Output Speed Sensor per the Service Information.
- Perform 40/41TE VERIFICATION TEST. See DTC-Based Diagnostics/MODULE, Powertrain Control (PCM) - Standard Procedure
No
- Go to step 3
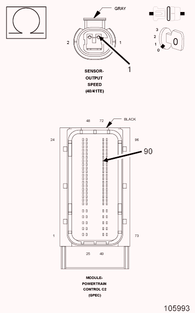
- CHECK THE (T14) OUTPUT SPEED SIGNAL CIRCUIT FOR AN OPEN
- Turn the ignition off to the lock position.
- Disconnect the Transmission Simulator, Miller tool #8333A and the Electronic Transmission Adapter kit.
- Disconnect the PCM C2 harness connector.
- Disconnect the Output Speed Sensor harness connector.NOTE: Check connectors - Clean/repair as necessary.
- Measure the resistance of the (T14) Output Speed Signal circuit between the PCM C2 harness connector and the Output Speed Sensor harness connector.
Is the resistance above 5.0 ohms?
Yes
- Repair the (T14) Output Speed Signal circuit for an open.
- Perform 40/41TE VERIFICATION TEST. See DTC-Based Diagnostics/MODULE, Powertrain Control (PCM) - Standard Procedure
No
- Go to step 4
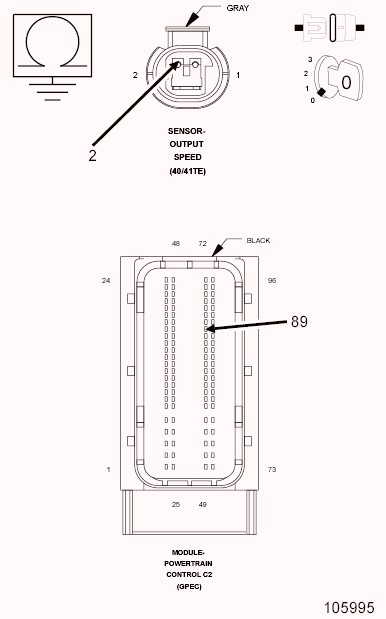
- CHECK THE (T13) SPEED SENSOR GROUND CIRCUIT FOR AN OPEN
- Measure the resistance of the Speed Sensor Ground circuit between the PCM C2 harness connector and the Output Speed Sensor harness connector.
Is the resistance above 5.0 ohms?
Yes
- Repair the (T13) Speed Sensor Ground circuit for an open.
- Perform 40/41TE VERIFICATION TEST. See DTC-Based Diagnostics/MODULE, Powertrain Control (PCM) - Standard Procedure
No
- Go to step 5
- Measure the resistance of the Speed Sensor Ground circuit between the PCM C2 harness connector and the Output Speed Sensor harness connector.
- CHECK THE (T14) OUTPUT SPEED SIGNAL CIRCUIT FOR A SHORT TO GROUND
- Measure the resistance between ground and the (T14) Output Speed Signal circuit.
Is the resistance below 5.0 ohms?
Yes
- Repair the (T14) Output Speed Signal circuit for a short to ground.
- Perform 40/41TE VERIFICATION TEST. See DTC-Based Diagnostics/MODULE, Powertrain Control (PCM) - Standard Procedure
No
- Go to step 6
- Measure the resistance between ground and the (T14) Output Speed Signal circuit.
- CHECK THE (T14) OUTPUT SPEED SIGNAL CIRCUIT FOR A SHORT TO VOLTAGE
- Ignition on, engine not running.
- With the scan tool under TIPM, actuate the TCM output.
- Measure the voltage of the (T14) Output Speed Signal circuit.
Is the voltage above 0.5 volt?
Yes
- Repair the (T14) Output Speed Signal circuit for a short to voltage.
- Perform 40/41TE VERIFICATION TEST. See DTC-Based Diagnostics/MODULE, Powertrain Control (PCM) - Standard Procedure
No
- Go to step 7
- CHECK THE (T13) SPEED SENSOR GROUND CIRCUIT FOR A SHORT TO VOLTAGE
NOTE: Actuation of the transmission must still be active.
- Measure the voltage of the (T13) Speed Sensor Ground circuit.
Is the voltage above 0.5 volts?
Yes
- Repair the (T13) Speed Sensor Ground circuit for a short to voltage.
- Perform 40/41TE VERIFICATION TEST. See DTC-Based Diagnostics/MODULE, Powertrain Control (PCM) - Standard Procedure
No
- Using the schematics as a guide, check the Powertrain Control Module (PCM) terminals for corrosion, damage, or terminal push out. Pay particular attention to all power and ground circuits. Check for Service Information Tune-ups or Service Bulletins for any possible causes that may apply. If no problems are found, replace and program the PCM per the Service Information. With the scan tool, perform QUICK LEARN.
- Perform 40/41TE VERIFICATION TEST. See DTC-Based Diagnostics/MODULE, Powertrain Control (PCM) - Standard Procedure
- Measure the voltage of the (T13) Speed Sensor Ground circuit.
- INTERMITTENT WIRING AND CONNECTORS
- The conditions necessary to set the DTC are not present at this time.
- Using the schematics as a guide, inspect the wiring and connectors specific to this circuit.
- Wiggle the wiring and connectors while checking for shorted and open circuits.
- With the scan tool, check the DTC EVENT DATA to help identify the conditions in which the DTC was set.
- Check for Service Information Tune-ups or Service Bulletins for any possible causes that may apply.
Were there any problems found?
Yes
- Repair as necessary.
- Perform 40/41TE VERIFICATION TEST. See DTC-Based Diagnostics/MODULE, Powertrain Control (PCM) - Standard Procedure
No
- Test Complete.